GM Service Manual Online
For 1990-2009 cars only

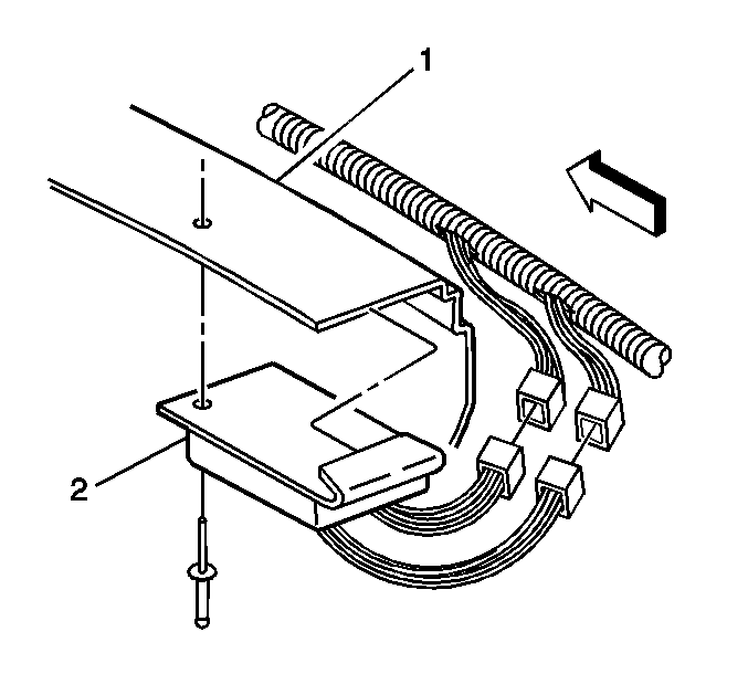
Removal Procedure


    Object Number: 803399  Size: SH
  1. Adjust the right side rear compartment trim for access.
  2. Disconnect the electrical connectors.
  3. Remove the rivet from the rear window panel extension brace (1).
  4. Remove the emergency vehicle rear flasher (2).

Installation Procedure


    Object Number: 803399  Size: SH
  1. Position the emergency vehicle rear flasher (2) to the rear window panel extension brace (1).
  2. Install a rivet to secure the flasher.
  3. Connect the electrical connectors.
  4. Install the rear compartment trim.