GM Service Manual Online
For 1990-2009 cars only
Makes
🢒
Chevrolet
🢒
2001
🢒
Impala
🢒
Body and Accessories
🢒
Bumpers
🢒 Front Bumper Fascia Outer Reinforcement Replacement
Front Bumper Fascia Outer Reinforcement Replacement Impala
Removal Procedure
Remove the front bumper fascia. Refer to
Front Bumper Fascia Replacement
.
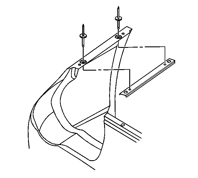
Drill out the 2 rivets from the front bumper fascia reinforcement outer.
Remove the front bumper fascia reinforcement outer.
Installation Procedure
Align the front bumper fascia reinforcement outer to the front bumper fascia.
Install the front bumper fascia reinforcement outer to the front bumper fascia using two new rivets.
Install the front bumper fascia. Refer to
Front Bumper Fascia Replacement
.
Front Bumper Fascia Outer Reinforcement Replacement Monte Carlo
Tools Required
J 38778
Door Trim Pad Clip Removal
Removal Procedure
Remove the front bumper fascia. Refer to
Front Bumper Fascia Replacement
.
Remove the front bumper fascia reinforcement outer push-in retainers using
J 38778
.
Remove the front bumper fascia reinforcement outer from the front bumper fascia.
Installation Procedure
Install the front bumper fascia reinforcement outer to the front bumper fascia.
Install the front bumper fascia reinforcement outer push-in retainers.
Install the front bumper fascia. Refer to
Front Bumper Fascia Replacement
.