GM Service Manual Online
For 1990-2009 cars only
Table 1: Dimensions - Body (Impala)
Table 2: Dimensions - Body (Impala/Monte Carlo)
Table 3: Dimensions - Body (Impala/Monte Carlo)
Table 4: Dimensions - Body (Monte Carlo)

Impala


Object Number: 392125  Size: LF

Dimensions - Body (Impala)

Reference Number

Length (mm)

Width (mm)

Height (mm)

Feature Size

P

49

808

621

Door hinge attach

Q

86

800

949

Door hinge attach

R

1144

804

1002

Door hinge attach

S

1126

787

827

Door lock striker attach

T

1131

816

672

Door hinge attach

U

2143

809

1034

Door lock striker attach

All dimensions are measured in millimeters, from a zero line, center line, and a common datum. All dimensions are symmetrical unless otherwise specified.

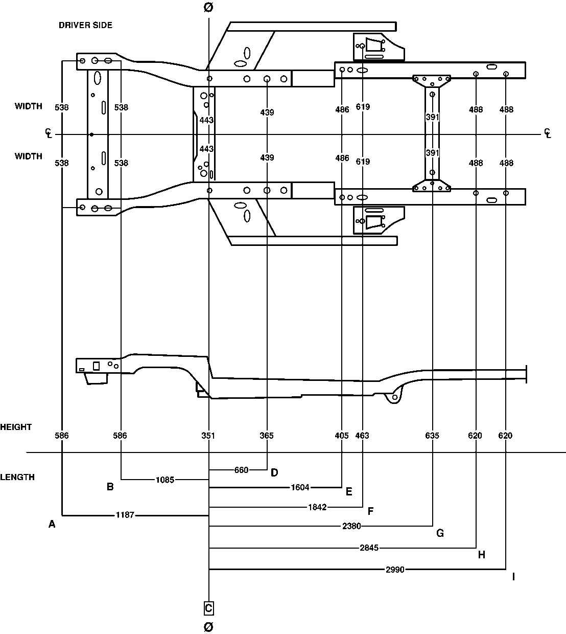
Underbody


Object Number: 314868  Size: LF

Dimensions - Body (Impala/Monte Carlo)

Reference Number

Length (mm)

Width (mm)

Height (mm)

Feature Size

A

1187

538

586

38 mm gage hole

B

1085

538

596

22 mm cradle attach

C

0

443

351

12 mm center line

D

660

439

365

16 mm gage hole

E

1604

486

405

19 mm gage hole

F

1842

619

463

12 mm gage hole

G

2845

488

620

18x21 mm gage slot

H

2380

391

635

30 mm gage hole

I

2990

488

620

19x23 mm gage slot

All dimensions are measured in millimeters, from a zero line, center line, and a common datum. All dimensions are symmetrical unless otherwise specified.

Engine Compartment


Object Number: 314873  Size: LF

Dimensions - Body (Impala/Monte Carlo)

Location

Description

Length (mm)

Width (mm)

Height (mm)

1

Center Line

--

--

--

2

Zero Line

--

--

--

3

Datum Line

--

--

--

a

Point to Point

1691

0

0

b

Bumper Attachment

1255

450

606

c

Support Brace Attachment

1106 R

1132 L

468 R

319 L

922

d

Fender Attachment

988

710

921

e

Suspension Attachment

448

551

1043

f

Suspension Attachment

401

664

1054

g

Hood Hinge Attachment

155

754

1064

All dimensions are measured from a zero line, center line, and a common datum. All dimensions are symmetrical unless otherwise specified.

Monte Carlo


Object Number: 612373  Size: LF

Dimensions - Body (Monte Carlo)

Reference Number

Length (mm)

Width (mm)

Height (mm)

Feature Size

P

90

795

600

Door hinge attach

Q

77

780

984

Door hinge attach

R

1393

787

842

Door lock striker attach

All dimensions are measured in millimeters, from a zero line, center line, and a common datum. All dimensions are symmetrical unless otherwise specified.