GM Service Manual Online
For 1990-2009 cars only

Removal Procedure

Caution: Be careful when you handle a sensor. Do not strike or jolt a sensor. Before applying power to a sensor:

   • Remove any dirt, grease, etc. from the mounting surface.
   • Position the sensor horizontally on the mounting surface.
   • Point the arrow on the sensor toward the front of the vehicle.
   • Tighten all of the sensor fasteners and sensor bracket fasteners to the specified torque value.
Failure to follow the correct procedure could cause air bag deployment, personal injury, or unnecessary SIR system repairs.


    Object Number: 709876  Size: SH
  1. Disable the SIR system. Refer to Disabling the SIR System .
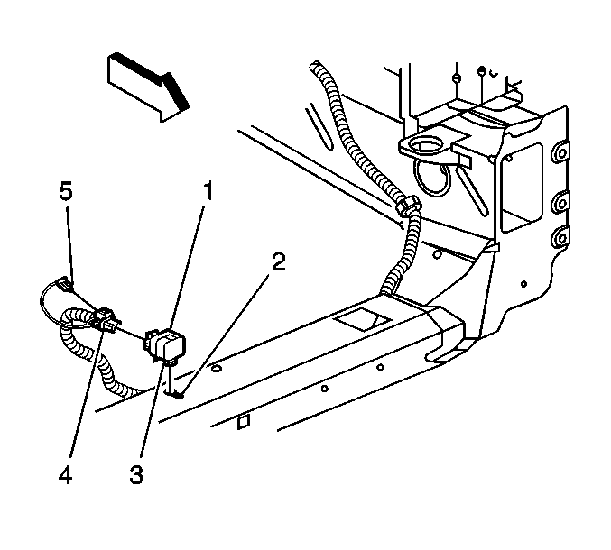
  2. Remove the connector position assurance (CPA) (5) from the sensor harness connector (4).
  3. Disconnect the sensor harness connector (4) from the EFS (1).
  4. Loosen the 2 sensor fasteners (3).
  5. Remove the sensor (1) from the lower tie bar by lifting upward and sliding rearward out of the key hole slot (2).

Installation Procedure

    Notice: Use the correct fastener in the correct location. Replacement fasteners must be the correct part number for that application. Fasteners requiring replacement or fasteners requiring the use of thread locking compound or sealant are identified in the service procedure. Do not use paints, lubricants, or corrosion inhibitors on fasteners or fastener joint surfaces unless specified. These coatings affect fastener torque and joint clamping force and may damage the fastener. Use the correct tightening sequence and specifications when installing fasteners in order to avoid damage to parts and systems.


    Object Number: 709876  Size: SH
  1. Install the sensor (1) into the key hole slot (2) located in the lower tie bar.
  2. Tighten
    Tighten the fasteners (3) to 9 N·m (80 lb in).

  3. Connect the sensor harness connector (4) to the sensor (1).
  4. Install the CPA (5) to the sensor harness connector (4).
  5. Enable the SIR system. Refer to Enabling the SIR System .