GM Service Manual Online
For 1990-2009 cars only

Steering Wheel Inflatable Restraint Module Replacement Monte Carlo

Removal Procedure

    Caution: A deployed dual stage inflator module will look the same whether one or both stages were used, always assume a deployed dual stage inflator module has an active stage 2. Improper handling or servicing can activate the inflator module and cause personal injury.

    Caution: When you are carrying an undeployed inflator module:

       • Do not carry the inflator module by the wires or connector on the inflator module
       • Make sure the bag opening points away from you
    When you are storing an undeployed inflator module, make sure the bag opening points away from the surface on which the inflator module rests. When you are storing a steering column, do not rest the column with the bag opening facing down and the column vertical. Provide free space for the air bag to expand in case of an accidental deployment. Otherwise, personal injury may result.

  1. Disable the SIR system. Refer to Disabling the SIR System .
  2. If equipped with steering column tilt, adjust the steering wheel to the lowest position.
  3. 2.1. The back side of the steering wheel has 3 openings for access to the driver supplemental inflatable restraint (SIR) module retainers. Turn the steering wheel until one of the openings is accessible straight above the steering column.
    2.2. Insert a flat-bladed tool into the opening. Twist the tool to release the module mounting post from the retainer.
  4. Repeat this procedure for the remaining openings.

  5. Object Number: 745398  Size: SH
  6. Pull the module (1) gently away from the steering wheel.
  7. Remove the connector position assurance (CPA) from each module electrical connector.
  8. Disconnect the connectors to the yellow SIR coil lead wire (3) from the module.

  9. Object Number: 804484  Size: SH
  10. Rotate the horn wire counterclockwise until the wire unlocks from the cam tower post. Remove the horn wire from the steering wheel.
  11. Remove the driver SIR module.
  12. Fully deploy the module before disposal. If the module was replaced under warranty, fully deploy and dispose of the module after the required retention period. Refer to Inflator Module Handling and Scrapping .

Installation Procedure


    Object Number: 804484  Size: SH
  1. Position the horn wire into the cam tower post. Rotate the horn wire clockwise until locked.

  2. Object Number: 745398  Size: SH
  3. Connect the yellow SIR coil lead wires (3) to the module connectors. Connect pink to pink and gray to gray.
  4. Install the CPA to each connector.

  5. Object Number: 804481  Size: SH
  6. Verify that the wires are routed and secured correctly:
  7. • Secure the black redundant controls connector (1) to the feature at the 12 o'clock position on the steering wheel shroud. For the base steering wheel, the feature is at the 2 o'clock position.
    • Route the yellow SIR coil lead wires (3) away from the 3 module mounting holes into the correct opening in the steering wheel insert.

    Important: Do not force the module into place.

  8. Install the 3 mounting posts on the module into the 3 holes (2,4,6) in the steering wheel:
  9. • Set the left and right sides of the module evenly to the steering wheel.
    • Gently press evenly on both sides and the bottom of the module until a clicking sound is heard.
  10. Enable the SIR system. Refer to Enabling the SIR System .

Steering Wheel Inflatable Restraint Module Replacement Impala

Tools Required

J 44298 Driver Air Bag Removal Tool

Removal Procedure

    Caution: A deployed dual stage inflator module will look the same whether one or both stages were used, always assume a deployed dual stage inflator module has an active stage 2. Improper handling or servicing can activate the inflator module and cause personal injury.

    Caution: When you are carrying an undeployed inflator module:

       • Do not carry the inflator module by the wires or connector on the inflator module
       • Make sure the bag opening points away from you
    When you are storing an undeployed inflator module, make sure the bag opening points away from the surface on which the inflator module rests. When you are storing a steering column, do not rest the column with the bag opening facing down and the column vertical. Provide free space for the air bag to expand in case of an accidental deployment. Otherwise, personal injury may result.

  1. Disable the SIR system. Refer to Disabling the SIR System .

  2. Object Number: 640349  Size: SH
  3. If equipped with steering column tilt, adjust the steering wheel to the lowest position.
  4. 2.1. The back side of steering wheel has 4 openings for access to the driver supplemental inflatable restraint (SIR) module retainers. Turn the steering wheel until 2 of the openings are accessible, straight above the steering column.

            Important: The driver air bag removal tool must be seated correctly to function.

    2.2. Adjust and install J 44298 into the top 2 openings.
    2.3. Push the handle towards the instrument panel to release both module mounting posts from the retainer.
  5. Repeat this procedure for the remaining openings.

  6. Object Number: 804488  Size: SH
  7. Pull the module gently away from the steering wheel.
  8. Remove the connector position assurance (CPA) for each module electrical connector.
  9. Disconnect the yellow SIR coil lead wire connectors from the module.

  10. Object Number: 804508  Size: SH
  11. Rotate the horn wire (4) counterclockwise until the wire unlocks from the cam tower post. Remove the horn wire from the steering wheel.
  12. Remove the driver SIR module (5).
  13. Fully deploy the module before disposal. If the module was replaced under warranty, fully deploy and dispose of the module after the required retention period. Refer to Inflator Module Handling and Scrapping .

Installation Procedure


    Object Number: 804508  Size: SH
  1. Position the horn wire (4) into the cam tower post. Rotate the horn wire clockwise until locked. The horn wire must be below the top, left, module mounting post.

  2. Object Number: 804488  Size: SH
  3. Connect the yellow SIR coil lead wires to the module connectors. Connect pink to pink and gray to gray.
  4. Install the CPA to each connector.

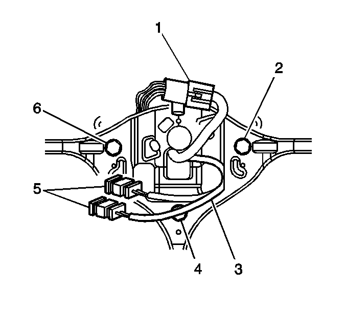
  5. Object Number: 804489  Size: SH
  6. Verify that the wires are routed and secured correctly:
  7. • Secure the black redundant controls connector (2) to the feature at the 6 o'clock position on the steering wheel shroud. For the base steering wheel, the feature is at the 5 o'clock position.
    • Route the yellow SIR coil lead wires counterclockwise away from the 4 module mounting holes (1,3,5) and away from the center steering wheel nut. Insert the wire bundle into the retainer (6).

    Important: Do not force the module into place.

  8. Install the 4 mounting posts on the module to the 4 holes in the steering wheel:
  9. • Set the left and right sides of the module evenly to the steering wheel.
    • Press evenly on both sides until a clicking sound is heard.
  10. Enable the SIR system. Refer to Enabling the SIR System .