GM Service Manual Online
For 1990-2009 cars only
Makes
🢒
Chevrolet
🢒
2001
🢒
Impala
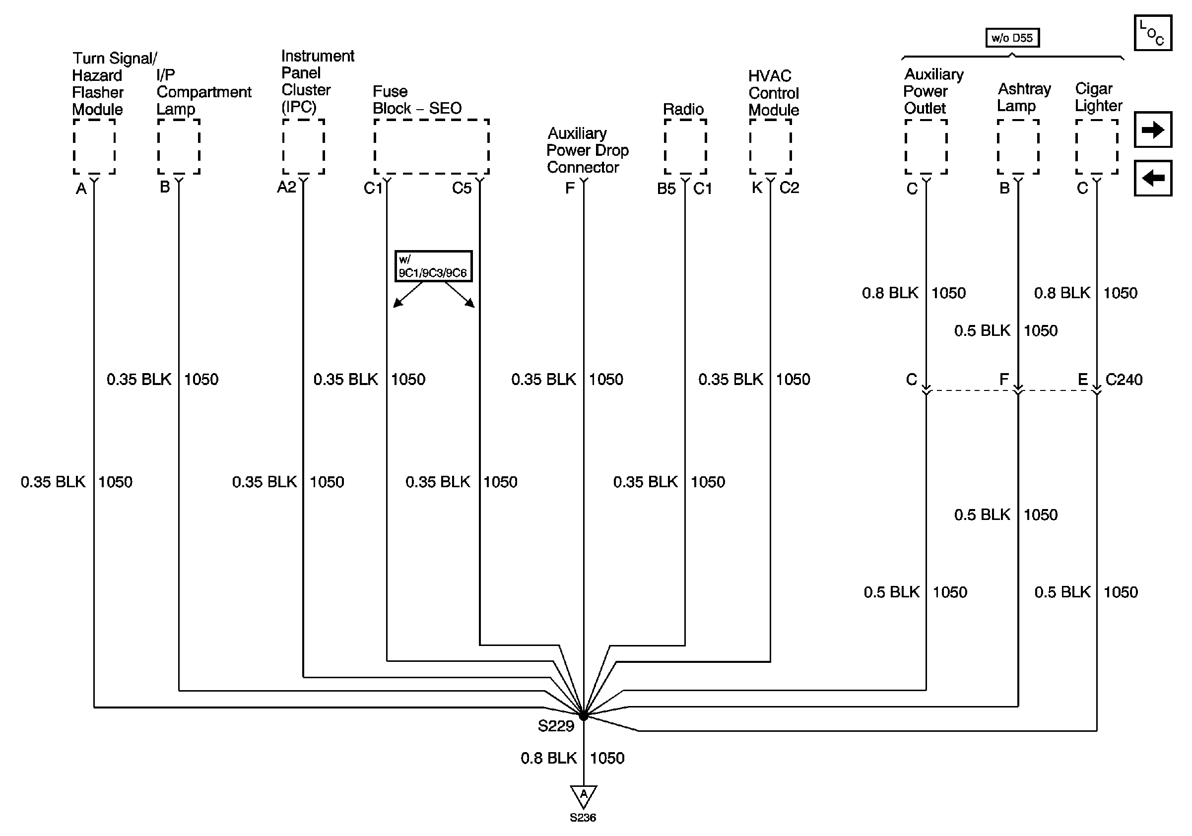
🢒 G201 (2 of 2)
G201 (2 of 2)
G201 (2 of 2)
Master Electrical Component List
G202
G201 (1 of 2)
G201 (1 of 2)