GM Service Manual Online
For 1990-2009 cars only
Makes
🢒
Chevrolet
🢒
2001
🢒
Impala
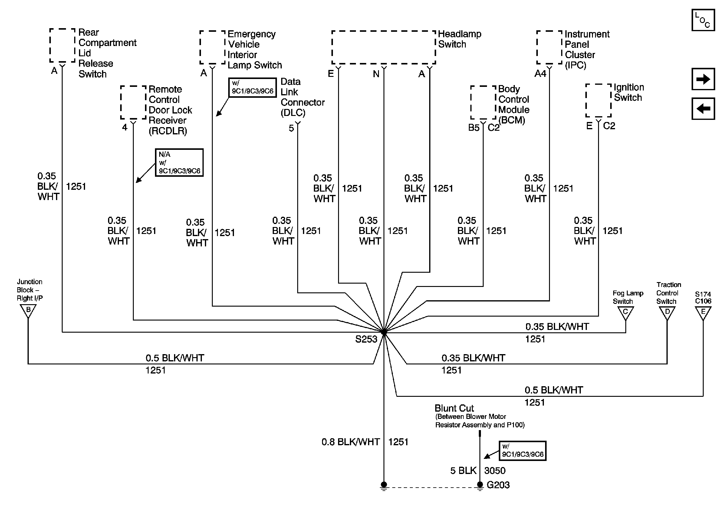
🢒 G203 (1 of 3)
G203 (1 of 3)
G203 (1 of 3)
Master Electrical Component List
G203 (2 of 3)
G202
G203 (2 of 3)
G203 (3 of 3)