GM Service Manual Online
For 1990-2009 cars only
Makes
🢒
Chevrolet
🢒
2001
🢒
Impala
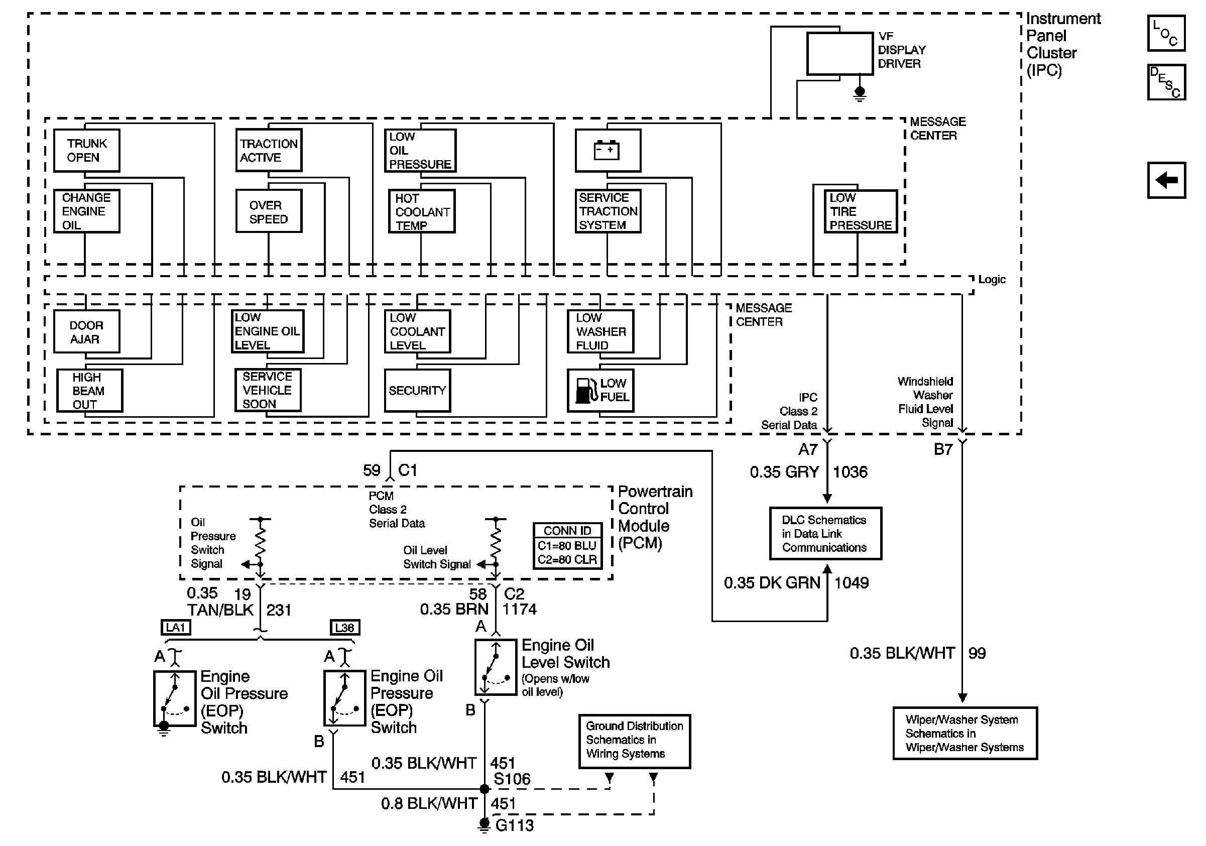
🢒 Message Center
Message Center
Message Center
Master Electrical Component List
Instrument Cluster Description and Operation
1/2
G113 (2 of 2)
DLC Schematics
1/1