GM Service Manual Online
For 1990-2009 cars only
Makes
🢒
Chevrolet
🢒
2002
🢒
Impala
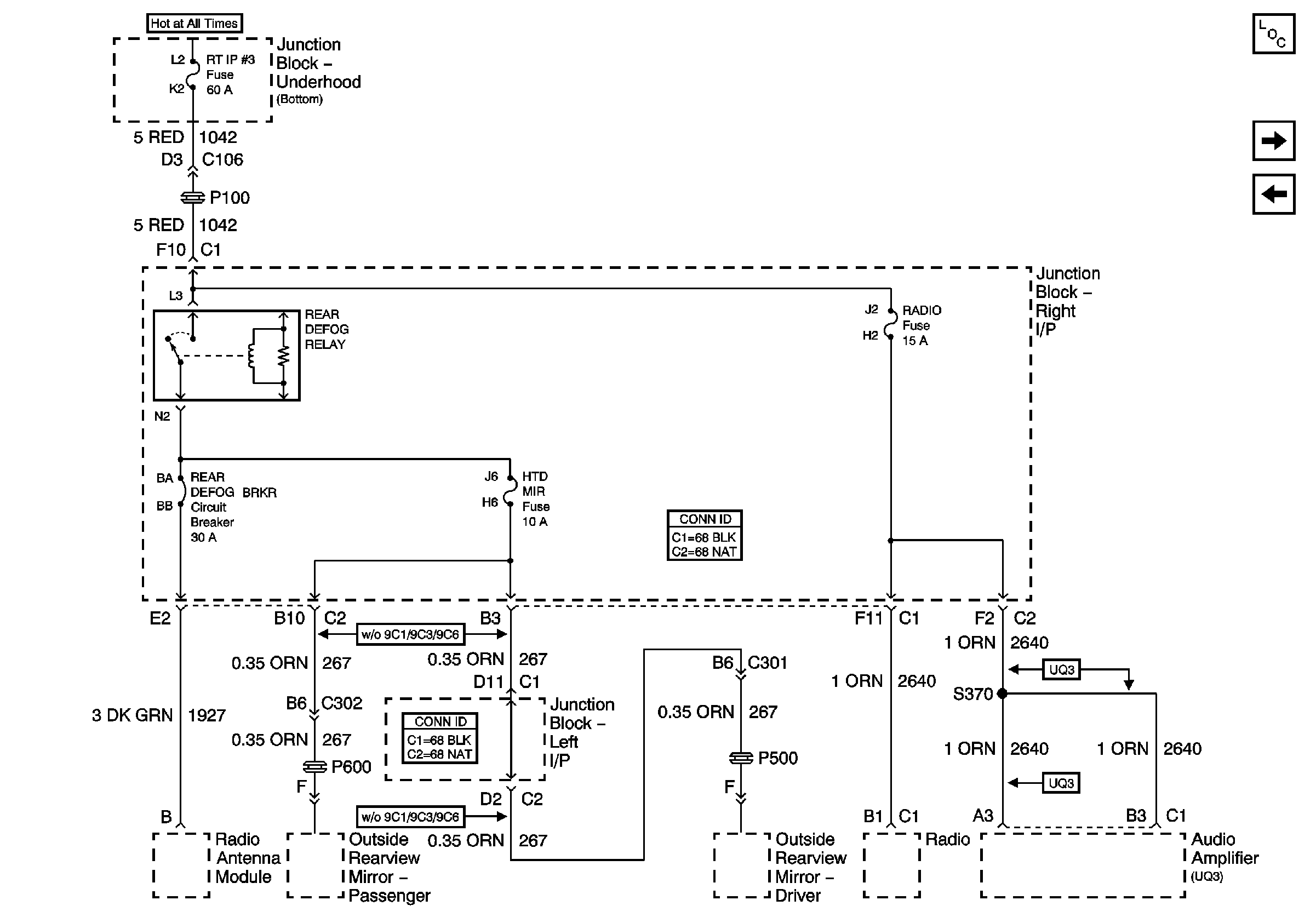
🢒 HTD MIR, RADIO, and RT IP#3 Fuses, REAR DEFOG Circuit Breaker, and REAR DEFOG Relay
HTD MIR, RADIO, and RT IP#3 Fuses, REAR DEFOG Circuit Breaker, and REAR DEFOG Relay
HTD MIR, RADIO, and RT IP#3 Fuses, REAR DEFOG BRKR Circuit Breaker, and REAR DEFOG RELAY
Master Electrical Component List
FUEL INJ, and TRANS SOL Fuses
ABS/PCM, SRS, STOP, and TURN SIGNAL Fuses