GM Service Manual Online
For 1990-2009 cars only
Makes
🢒
Chevrolet
🢒
2002
🢒
Impala
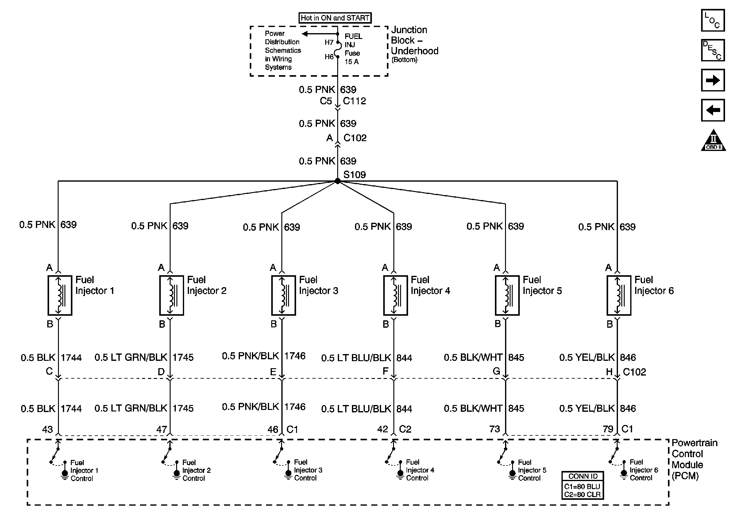
🢒 Fuel Injectors
Fuel Injectors
Fuel Injectors
Master Electrical Component List
Fuel System Description
EVAP and FTP
Fuel Pump
Engine Controls Schematic Icons
Junction Block - Underhood (Bottom) Bussing