GM Service Manual Online
For 1990-2009 cars only

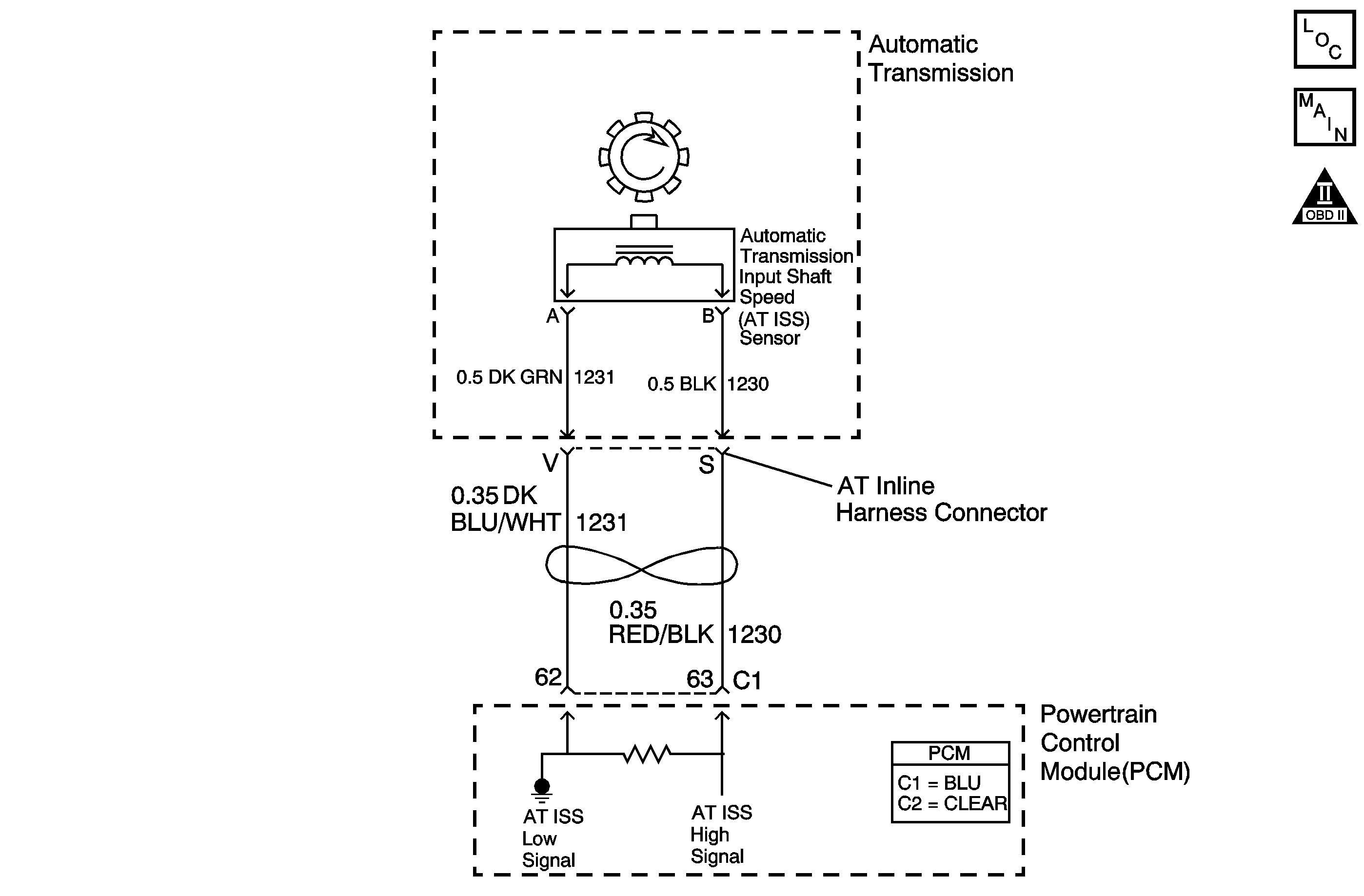
Object Number: 666091  Size: MF
Master Electrical Component List
Automatic Transmission Controls Schematics
OBD II Symbol Description Notice

Circuit Description

The automatic transmission input shaft speed (AT ISS) sensor is a permanent magnet with a coil of wire wound around it. The AT ISS sensor mounts in the case cover facing the reluctor wheel of the input shaft. As the reluctor wheel is driven by the turbine shaft, an AC signal is induced in the input speed sensor. Higher vehicle speeds induce a higher frequency and voltage at the sensor.

There is a fixed air gap between the sensor and the teeth on the sensor reluctor wheel. The AT ISS sensor input is used by the PCM in order to control line pressure, TCC apply and release and transmission shift patterns. This sensor is also used to calculate the gear ratios and TCC slippage.

If the PCM detects a low input speed while the vehicle and engine speeds are high, then DTC P0717 sets. DTC P0717 is a type B DTC.

Conditions for Running the DTC

    • No VSS DTC P0502 or P0503.
    • No TFP manual valve position switch DTC P1810.
    • The engine speed is greater than 500 RPM for 5 seconds and not in fuel shut off.
    • The transmission is not in PARK or NEUTRAL.
    • The vehicle speed is 8 km/h (5 mph) or greater.

Conditions for Setting the DTC

The input shaft speed is less than 100 RPM for 5 seconds.

Action Taken When the DTC Sets

    • The PCM illuminates the malfunction indicator lamp (MIL) during the second consecutive trip in which the Conditions for Setting the DTC are met.
    • The PCM inhibits TCC.
    • The PCM freezes shift adapts.
    • The PCM inhibits 4th gear if the transmission is in Hot Mode.
    • The PCM turns ON the MIL in Hot Mode.
    • The PCM records the operating conditions when the Conditions for Setting the DTC are met. The PCM stores this information as Freeze Frame and Failure Records.
    • The PCM stores DTC P0717 in PCM history during the second consecutive trip in which the Conditions for Setting the DTC are met.

Conditions for Clearing the MIL/DTC

    • The PCM turns OFF the MIL during the third consecutive trip in which the diagnostic test runs and passes.
    • A scan tool can clear the MIL/DTC.
    • The PCM clears the DTC from PCM history if the vehicle completes 40 warm-up cycles without an emission-related diagnostic fault occurring.
    • The PCM cancels the DTC default actions when the ignition switch is OFF long enough in order to power down the PCM.

Diagnostic Aids

Ensure the wiring harness is not stretched too tightly or other components are pressing on the A/T inline 20-way connector body. Also inspect for proper clearance to any other components and wiring. Refer to Intermittent Conditions in Engine Controls - 3.4L or Intermittent Conditions in Engine Controls - 3.8L.

Test Description

The numbers below refer to the step numbers on the diagnostic table.

  1. This step checks if the PCM receives a signal from the AT ISS sensor.

  2. A Yes answer indicates that the transmission side of the circuit is functioning properly.

  3. Although the resistance is within specification in Step 3, there may be a short to ground condition.

  4. This step begins the transmission harness diagnosis.

DTC P0717 Input Speed Sensor Circuit Low Input

Step

Action

Value(s)

Yes

No

1

Did you perform the Powertrain Diagnostic System Check?

--

Go to Step 2

Go to Diagnostic System Check - Engine Controls (3.4 L) or Diagnostic System Check - Engine Controls (3.8 L) in Engine Controls

2

  1. Install a Scan Tool .
  2. Turn ON the ignition with the engine OFF.
  3. Important: Before clearing the DTCs, use the Scan Tool in order to record the Freeze Frame and Failure Records for reference. Using the Clear Info function will erase the stored Freeze Frame and Failure Records from the PCM.

  4. Record the Freeze Frame and Failure Records.
  5. Clear the DTCs.
  6. Start and idle the engine in PARK.
  7. With the Scan Tool , observe the Transmission ISS parameter.

Does the Scan Tool display a transmission input shaft speed greater than the specified value?

100 RPM

Go to Intermittent Conditions (3.4 L) or Intermittent Conditions (3.8 L) in Engine Controls

Go to Step 3

3

  1. Turn OFF the ignition.
  2. Disconnect the transmission 20-way connector (additional DTCs may set).
  3. Connect the J 44152 jumper harness to the transmission side of the 20-way connector.
  4. Using the J 35616 connector test adapter kit, connect the J 39200 digital multimeter (DMM) from terminal S to terminal V of the J 44152 .
  5. Refer to Automatic Transmission Inline Harness Connector End View .

  6. Measure the resistance.

Is the resistance within the specified value?

820-1428 ohms

Go to Step 4

Go to Step 8

4

  1. Leave one lead of the J 39200 DMM connected to terminal S of the J 44152 jumper harness.
  2. Using the other lead, test for a short between terminal S and all other terminals in the 20-way connector of the transmission harness.
  3. Test for a short between terminal S and the transmission case.

Refer to Circuit Testing in Wiring Systems.

Did you find the condition?

--

Go to Step 10

Go to Step 5

5

Test the high signal circuit (CKT 1230) of the AT ISS for an open, a short to ground or a short to the low signal circuit (CKT 1231) between the PCM connector and the AT inline 20-way connector.

Refer to Circuit Testing and Wiring Repairs in Wiring Systems.

Did you find and correct the condition?

--

Go to Step 13

Go to Step 6

6

  1. Turn ON the ignition with the engine OFF.
  2. Test the high signal circuit (CKT 1230) of the AT ISS for a short to power between the PCM connector and the AT inline 20-way connector.
  3. Refer to Circuit Testing and Wiring Repairs in Wiring Systems.

Did you find and correct the condition?

--

Go to Step 13

Go to Step 7

7

Test the low signal circuit (CKT 1231) of the AT ISS for an open between the PCM connector and the AT inline 20-way connector.

Refer to Circuit Testing and Wiring Repairs in Wiring Systems.

Did you find and correct the condition?

--

Go to Step 13

Go to Step 12

8

Test the high signal circuit (CKT 1230) of the AT ISS for an open or a short to the low signal circuit (CKT 1231) of the AT ISS between the AT inline 20-way connector and the sensor.

Refer to Circuit Testing in Wiring Systems.

Did you find the condition?

--

Go to Step 10

Go to Step 9

9

Test the low signal circuit (CKT 1231) of the AT ISS for an open between the AT inline 20-way connector and the sensor.

Refer to Circuit Testing in Wiring Systems.

Did you find the condition?

--

Go to Step 10

Go to Step 11

10

Replace the automatic transmission wiring harness assembly.

Refer to Wiring Harness Replacement .

Did you complete the replacement?

--

Go to Step 13

--

11

Replace the automatic transmission input shaft speed sensor.

Refer to Input Speed Sensor Replacement .

Did you complete the replacement?

--

Go to Step 13

--

12

Replace the PCM.

Refer to Powertrain Control Module Replacement (3.4 L) or Powertrain Control Module Replacement (3.8 L) in Engine Controls.

Did you complete the replacement?

--

Go to Step 13

--

13

Perform the following procedure in order to verify the repair:

  1. Select DTC.
  2. Select Clear Info.
  3. Start and idle the engine in PARK. The Transmission ISS must be greater than 500 RPM for 2 seconds.
  4. Select Specific DTC.
  5. Enter DTC P0717.

Has the test run and passed?

--

System OK

Go to Step 1