GM Service Manual Online
For 1990-2009 cars only
Makes
🢒
Chevrolet
🢒
2003
🢒
Impala
🢒
Body and Accessories
🢒
Seats
🢒 Power Seats Schematics
Figure
1:
Driver Seat
Master Electrical Component List
Power Seats System Description and Operation
Passenger Seat
B/U LP, DIL/RKE, PWR DROP, and RT HTD ST Fuses
G301 [1 of 2]
G301 [1 of 2]
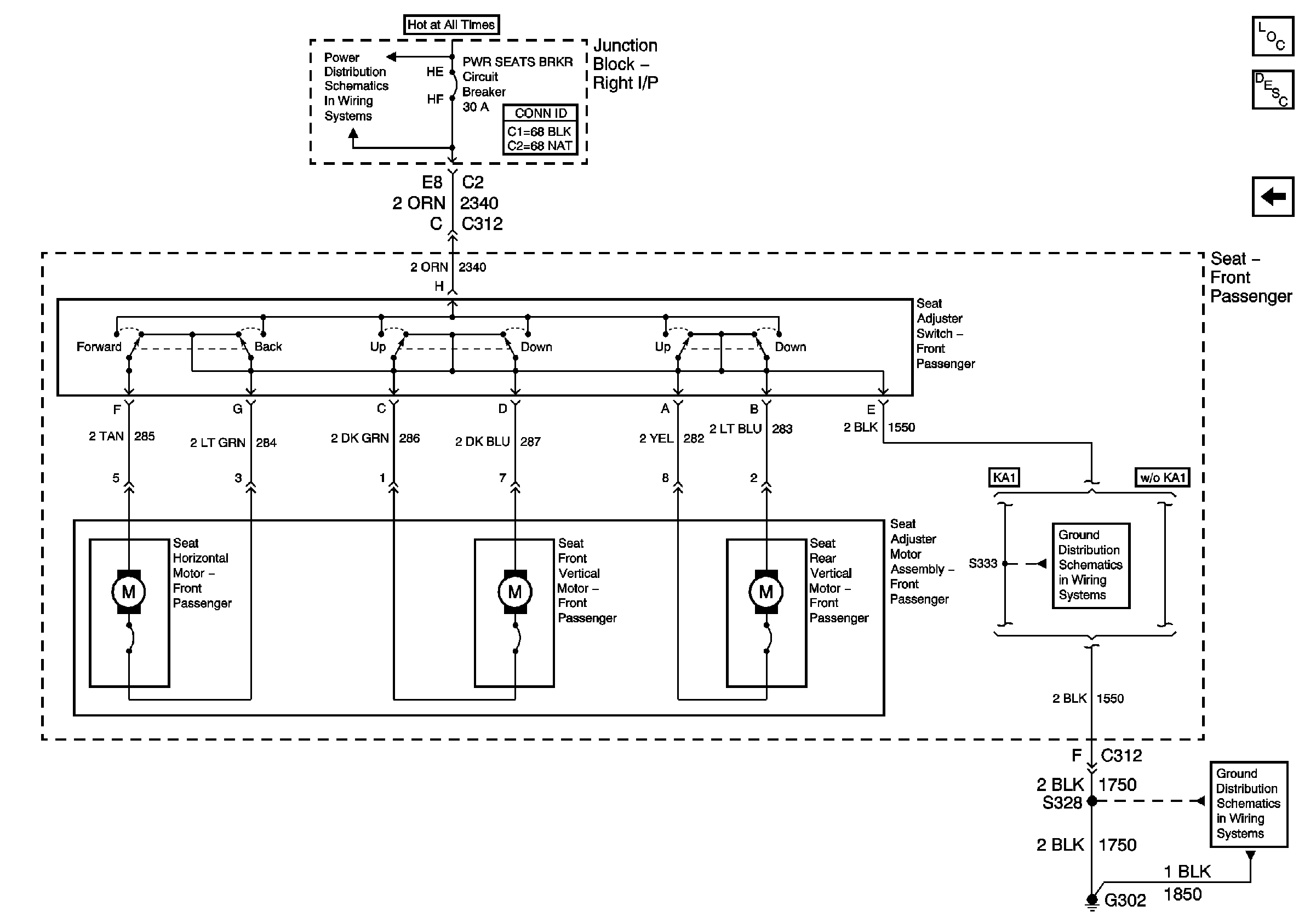
Figure
2:
Passenger Seat
Master Electrical Component List
Power Seats System Description and Operation
Driver Seat
B/U LP, DIL/RKE, PWR DROP, and RT HTD ST Fuses
G203 [1 of 2]
G203 [1 of 2]