GM Service Manual Online
For 1990-2009 cars only
Makes
🢒
Chevrolet
🢒
2003
🢒
Impala
🢒 Data Link, Ground, MIL, and Power
Data Link, Ground, MIL, and Power
Data Link, Ground, MIL, and Power (JL9)
Master Electrical Component List
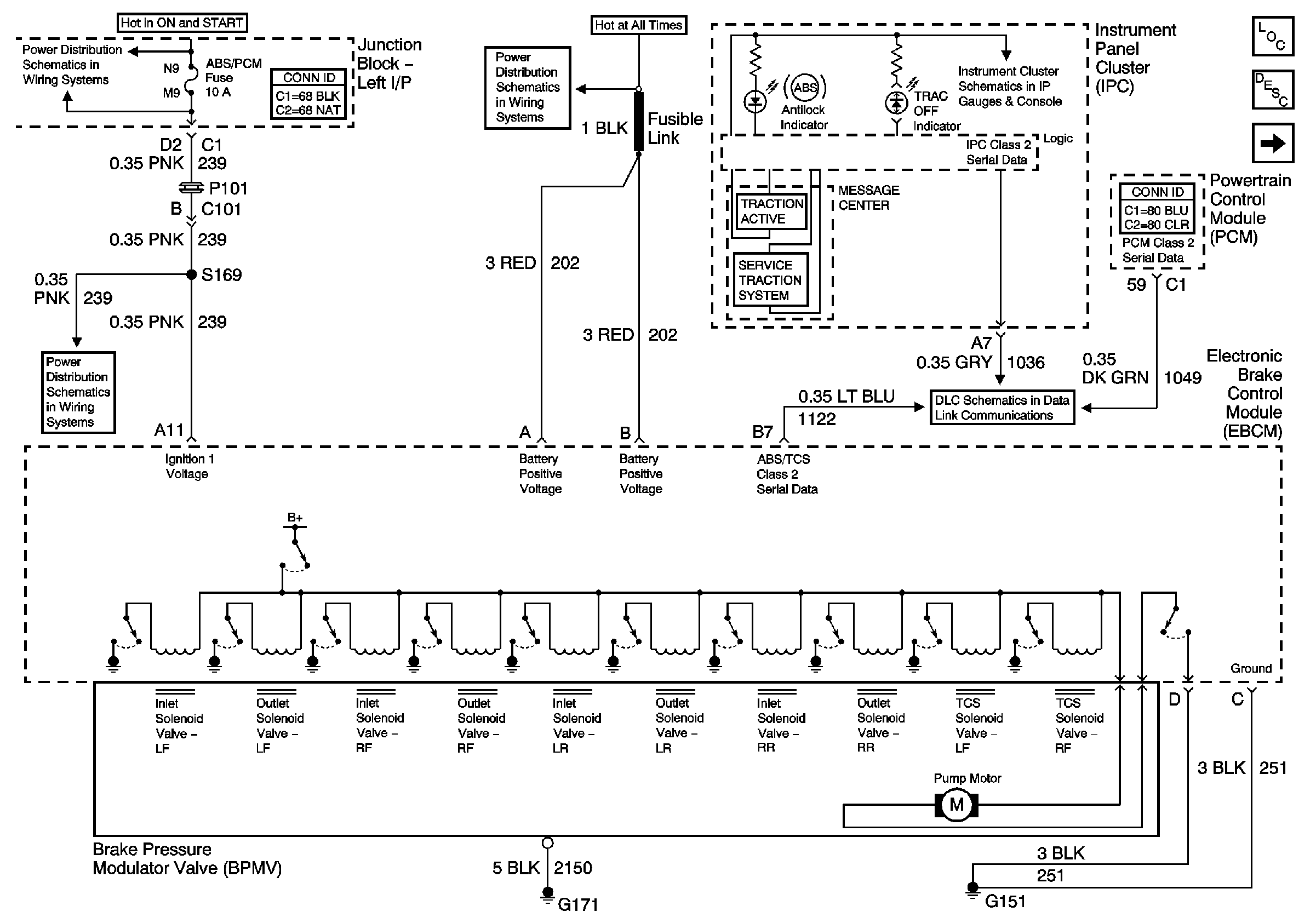
ABS Description and Operation
Wheel Speed Sensors
ABS/PCM, SRS, STOP, and TURN SIGNAL Fuses
Fuse Block-SEO, and Fusible Links
Ground, Odometer/PRNDL, Power, and VSS
ABS/PCM, SRS, STOP, and TURN SIGNAL Fuses
DLC