GM Service Manual Online
For 1990-2009 cars only
Makes
🢒
Chevrolet
🢒
2003
🢒
Impala
🢒 PRNDL
PRNDL
PRNDL
Master Electrical Component List
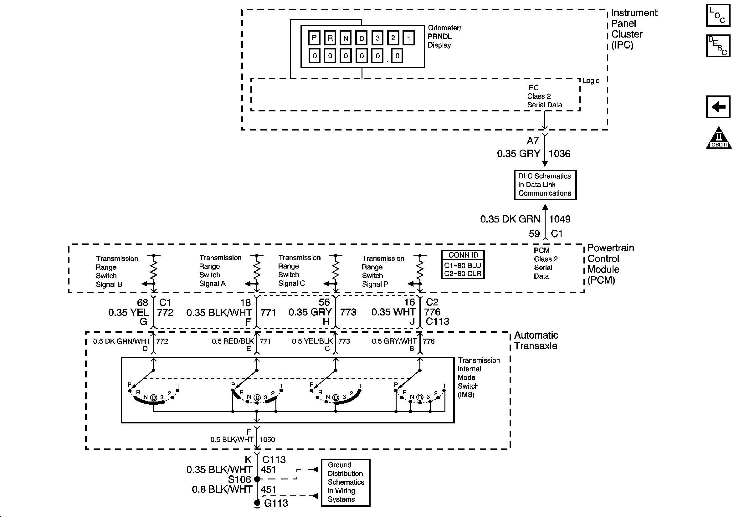
Transmission Component and System Description
ISS, Pressure Control, Switches, and VSS
Automatic Transmission Schematic Icons
DLC
G113 [2 of 2]