GM Service Manual Online
For 1990-2009 cars only
Makes
🢒
Chevrolet
🢒
2003
🢒
Impala
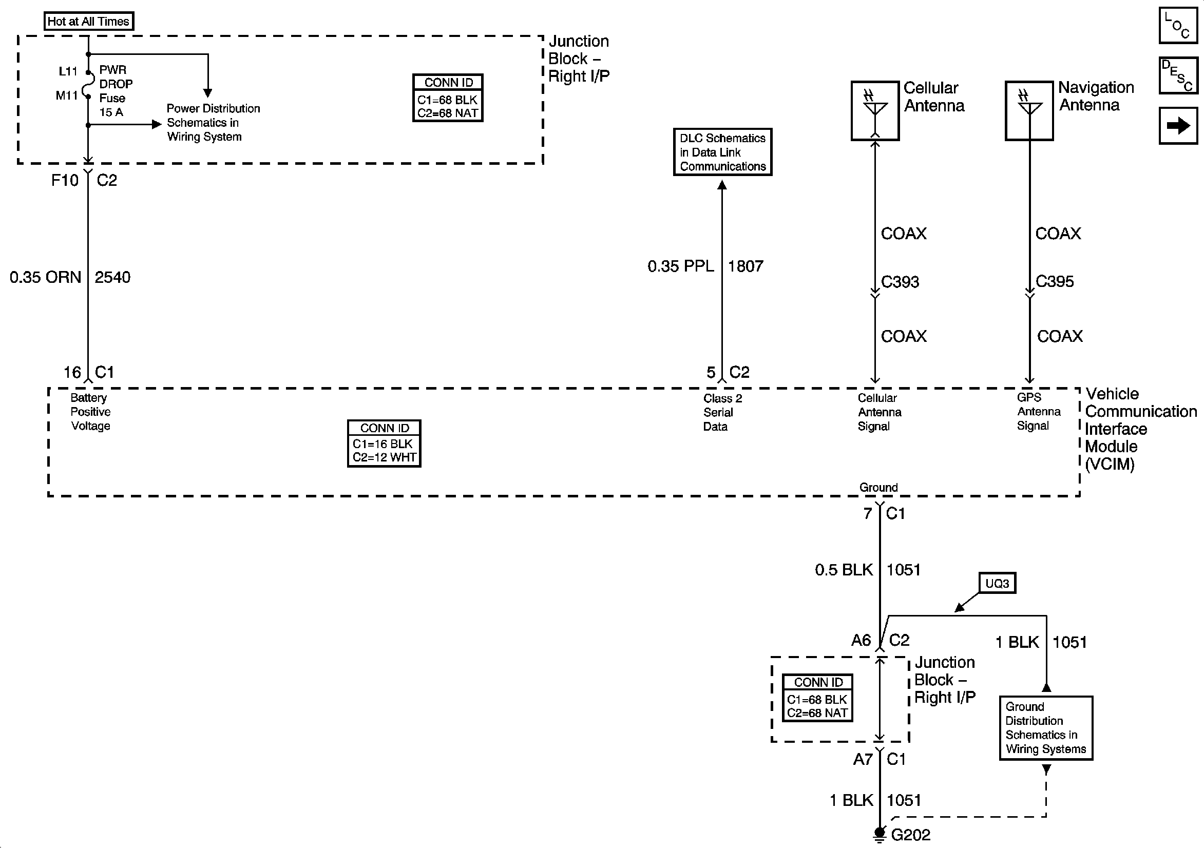
🢒 Antennas, Data Link, Ground, and Power
Antennas, Data Link, Ground, and Power
Antennas, Data Link, Ground, and Power
Master Electrical Component List
OnStar Description and Operation
Audio Comm., and Inside Rearview Mirror
B/U LP, DIL/RKE, PWR DROP, and RT HTD ST Fuses
DLC
G202