GM Service Manual Online
For 1990-2009 cars only
Makes
🢒
Chevrolet
🢒
2003
🢒
Impala
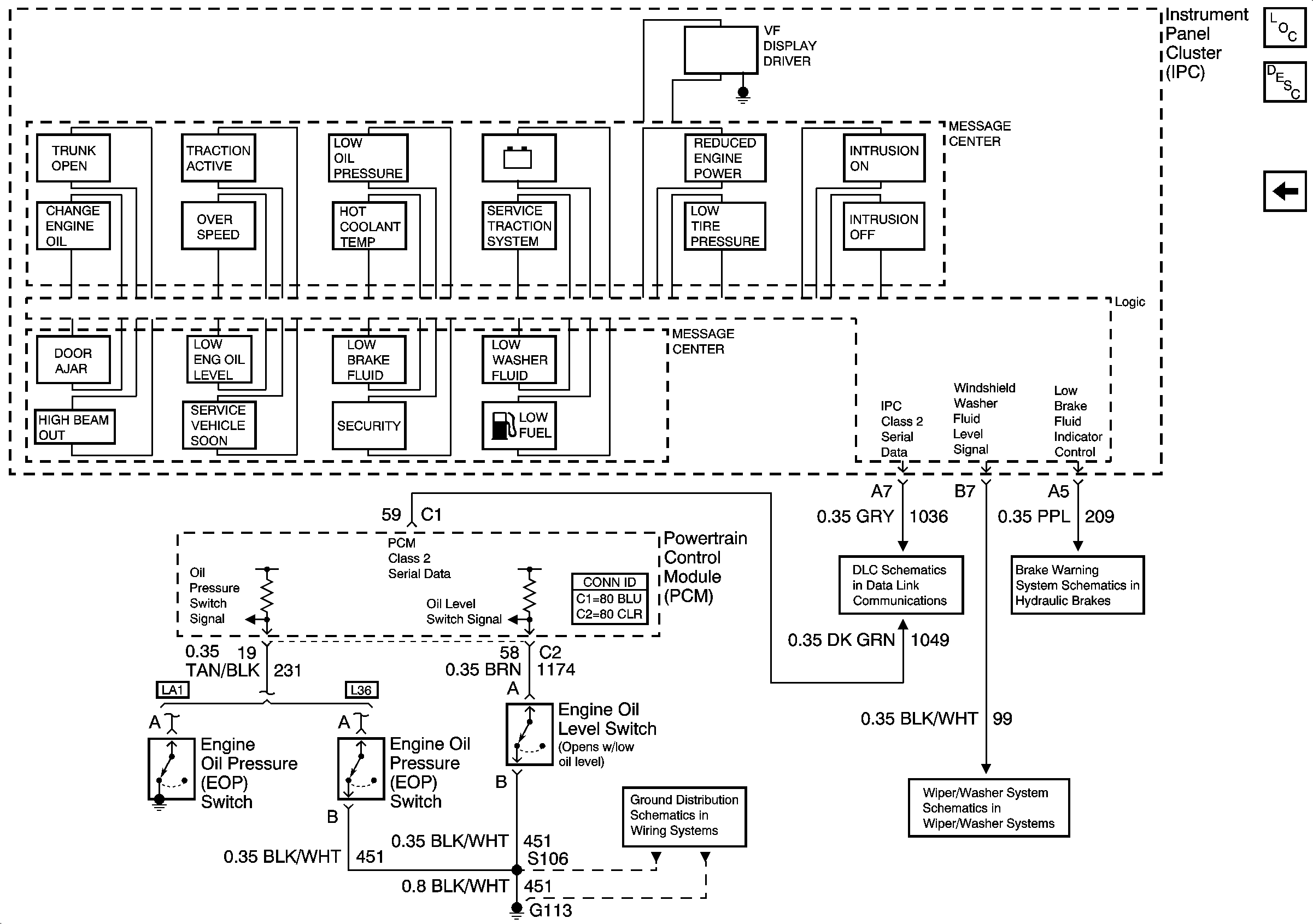
🢒 Message Center
Message Center
MESSAGE CENTER
Master Electrical Component List
Indicator/Warning Message Description and Operation
G203 [3 of 3]
G113 [2 of 2]
DLC
Wiper/ Washer System
Brake Warning System