GM Service Manual Online
For 1990-2009 cars only

Object Number: 796217  Size: MF
Master Electrical Component List
Automatic Transmission Controls Schematics
OBD II Symbol Description Notice

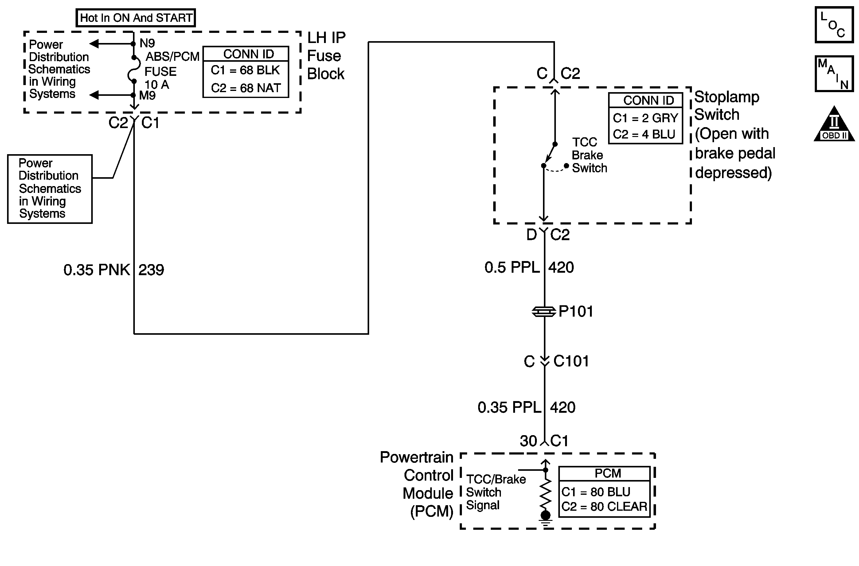
Circuit Description

The TCC brake switch indicates brake pedal status to the PCM. The TCC brake switch indicates that the brake pedal is either applied or released. The normally-closed switch supplies battery voltage to the PCM. Applying the brake pedal opens the TCC brake switch, interrupting voltage to the PCM. When the PCM receives 0 volts at the TCC brake switch input, the PCM turns OFF the torque converter clutch pulse width modulation (TCC PWM) solenoid valve.

If the PCM detects an open brake switch, indicating pedal applied during a number of accelerations, then DTC P0719 sets. DTC P0719 is a type C DTC.

Conditions for Running the DTC

    • No VSS DTC P0502 or P0503.
    • DTC P0719 has not run and passed this ignition cycle.

Conditions for Setting the DTC

The TCC brake switch indicates continuously OPEN (0 volts) for more than 15 minutes and the following conditions occur 8 times consecutively.

    • The vehicle speed is less than 8 km/h (5 mph);
    • Then the vehicle speed is between 8 and 32 km/h (5 and 20 mph) for at least 3 seconds;
    • Finally, the vehicle speed remains above 32 km/h (20 mph) for 6 seconds.

Action Taken When the DTC Sets

    • The PCM does not illuminate the malfunction indicator lamp (MIL).
    • The PCM disregards the TCC brake switch for TCC scheduling when all of the following conditions are met:
       - The TP angle is greater than 6%.
       - The vehicle speed is greater than 60 km/h (37 mph).
       - The TP angle was previously greater than 12% while the vehicle speed was greater than 68 km/h (42 mph).
       - The TCC brake switch has not indicated OFF for more than 2 seconds this trip.
    • The PCM records the operating conditions when the Conditions for Setting the DTC are met. The PCM stores this information as Failure Records.
    • The PCM stores DTC P0719 in PCM history.

Conditions for Clearing the DTC

    • A scan tool can clear the DTC.
    • The PCM clears the DTC from PCM history if the vehicle completes 40 warm-up cycles without a non-emission related diagnostic fault occurring.
    • The PCM cancels the DTC default actions when the fault no longer exists and the DTC passes.

Test Description

The number below refers to the step number on the diagnostic table.

  1. This step isolates the fault between the TCC brake switch and the harness.

Step

Action

Value(s)

Yes

No

1

Did you perform the Diagnostic System Check?

--

Go to Step 2

Go to Diagnostic System Check - Engine Controls in Engine Controls - 3.4L or Diagnostic System Check - Engine Controls in Engine Controls - 3.8L

2

  1. Install a scan tool.
  2. Turn ON the ignition with the engine OFF.
  3. Important: Before clearing the DTCs, use the scan tool in order to record the Failure Records for reference. Using the Clear Info function will erase the stored Failure Records from the PCM.

  4. Record the Failure Records.
  5. Clear the DTCs.
  6. With the scan tool, observe the TCC Brake Switch parameter.

Does the scan tool display Closed?

--

Go to Intermittent Conditions in Engine Controls - 3.4L or Intermittent Conditions in Engine Controls - 3.8L

Go to Step 3

3

Important: The condition that affects this circuit may exist in other connecting branches of the circuit. Refer to Power Distribution Schematics in Wiring Systems for complete circuit distribution.

  1. Remove the fuse from the ignition 1 voltage circuit.
  2. Inspect the fuse for an open.
  3. Refer to Circuit Protection - Fuses in Wiring Systems.

  4. Replace the fuse if necessary.

Was the fuse open?

--

Go to Step 4

Go to Step 5

4

Important: The condition that affects this circuit may exist in other connecting branches of the circuit. Refer to Power Distribution Schematics in Wiring Systems for complete circuit distribution.

  1. Test the ignition 1 voltage circuit (CKT 239) of the TCC brake switch for a short to ground between the fuse block and the brake switch.
  2. Test the signal circuit (CKT 420) of the TCC brake switch for a short to ground between the PCM and the TCC brake switch.

Refer to Testing for Short to Ground and Wiring Repairs in Wiring Systems.

Did you find and correct the condition?

--

Go to Step 10

--

5

    Caution: When performing service on or near the SIR components or the SIR wiring, the SIR system must be disabled. Refer to SIR Disabling and Enabling . Failure to observe the correct procedure could cause deployment of the SIR components, personal injury, or unnecessary SIR system repairs.

  1. Disconnect TCC brake switch 4-way connector.
  2. Connect a fused jumper wire from terminal C to terminal D of the TCC brake switch connector.
  3. Turn ON the ignition, with the engine OFF.
  4. With a scan tool, observe the TCC Brake Switch parameter.

Does the scan tool display Closed?

--

Go to Step 8

Go to Step 6

6

Test the ignition 1 voltage circuit (CKT 239) of the TCC brake switch for an open between the fuse block and the brake switch.

Refer to Testing for Continuity and Wiring Repairs in Wiring Systems.

Did you find and correct the condition?

--

Go to Step 10

Go to Step 7

7

Test the signal circuit (CKT 420) of the TCC brake switch for an open between the PCM and the brake switch.

Refer to Testing for Continuity and Wiring Repairs in Wiring Systems.

Did you find and correct the condition?

--

Go to Step 10

Go to Step 9

8

Replace the TCC brake switch.

Refer to Stop Lamp Switch Replacement in Lighting Systems.

Did you complete the repair?

--

Go to Step 10

--

9

Replace the PCM.

Refer to Powertrain Control Module Replacement in Engine Controls - 3.4L or Powertrain Control Module Replacement in Engine Controls - 3.8L.

Did you complete the repair?

--

Go to Step 10

--

10

Perform the following procedure in order to verify the repair:

  1. Select DTC.
  2. Select Clear Info.
  3. Turn ON the ignition with the engine OFF. The TCC brake switch must be Closed, pedal released, for more than 2 seconds.
  4. Select Specific DTC.
  5. Enter DTC P0719.

Has the test run and passed?

--

Go to Step 11

Go to Step 2

11

With a scan tool, observe the stored information, capture info and DTC info.

Does the scan tool display any DTCs that you have not diagnosed?

 

Go to Diagnostic Trouble Code (DTC) List in Engine Controls - 3.4L or Diagnostic Trouble Code (DTC) List in Engine Controls - 3.8L

System OK