GM Service Manual Online
For 1990-2009 cars only
Figure 1:

Engine Cranking


Object Number: 652717  Size: FS
Master Electrical Component List
Starting System Description and Operation
Charge Control and Indicator
ABS/PCM, SRS, STOP, and TURN SIGNAL Fuses
A/C Cruise, A/C Fan, CRUISE, PCM/BCM CLSTR, and PCM Fuses
ABS/PCM, SRS, STOP, and TURN SIGNAL Fuses
Fuse Block-SEO, and Fusible Links
Fuse Block-SEO, and Fusible Links
Charge Control and Indicator
G100, G111, G113 [1 of 2], G117, G151, and G171
DLC
Figure 2:

Charging Control and Indicator


Object Number: 652718  Size: FS
Master Electrical Component List
Charging System Description and Operation
Load Management
Engine Cranking
Junction Block-Underhood [Top View]
Engine Cranking
DLC
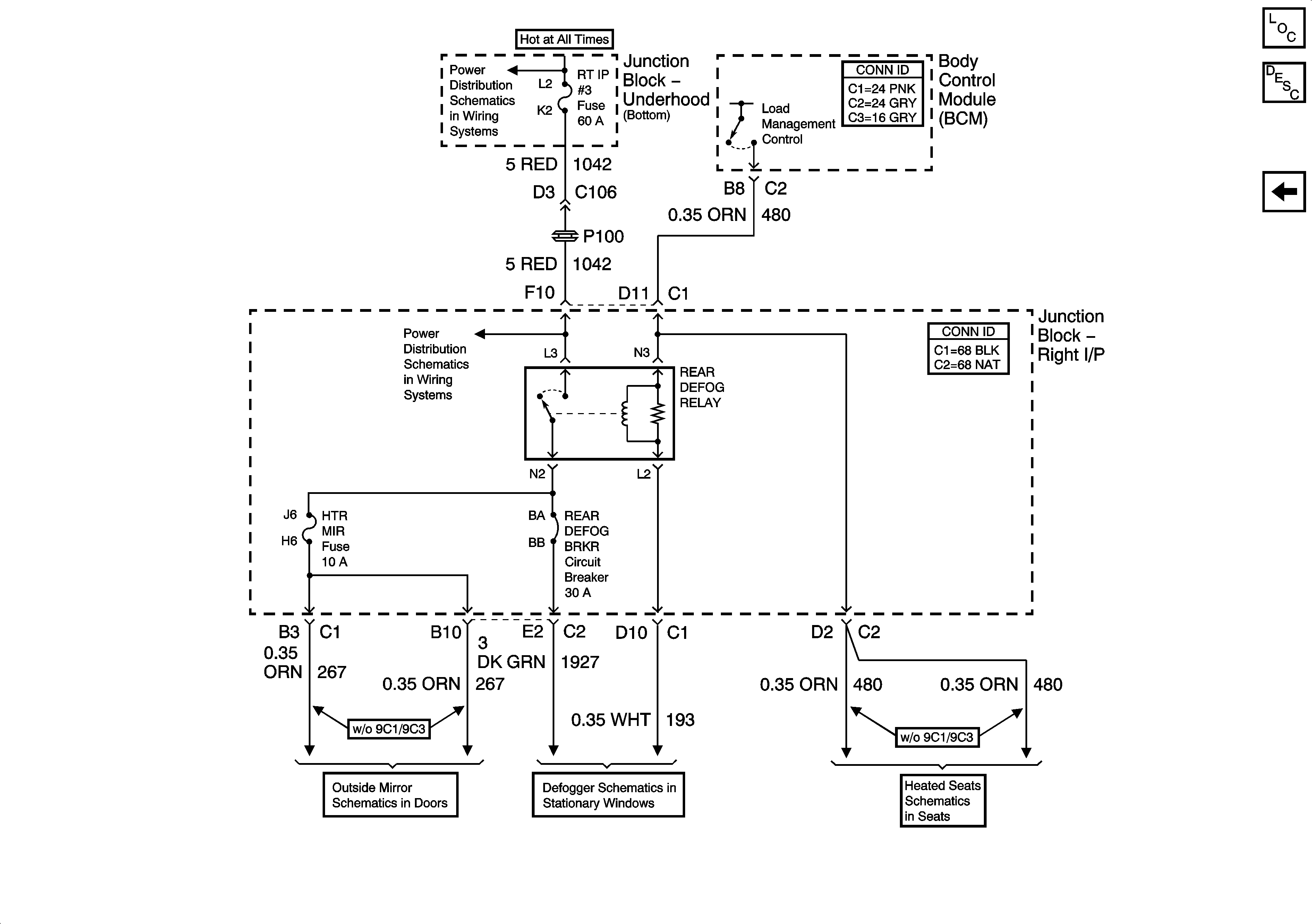
Figure 3:

Load Management


Object Number: 1302502  Size: FS
Master Electrical Component List
Load Shed System Description and Operation
Charge Control and Indicator
Junction Block-Underhood [Bottom View]
ABS/PCM, SRS, STOP, and TURN SIGNAL Fuses
Heated Mirror
Defogger
Driver Seat [Impala]