GM Service Manual Online
For 1990-2009 cars only
Makes
🢒
Chevrolet
🢒
2004
🢒
Impala
🢒
Accessories
🢒
Theft Deterrent
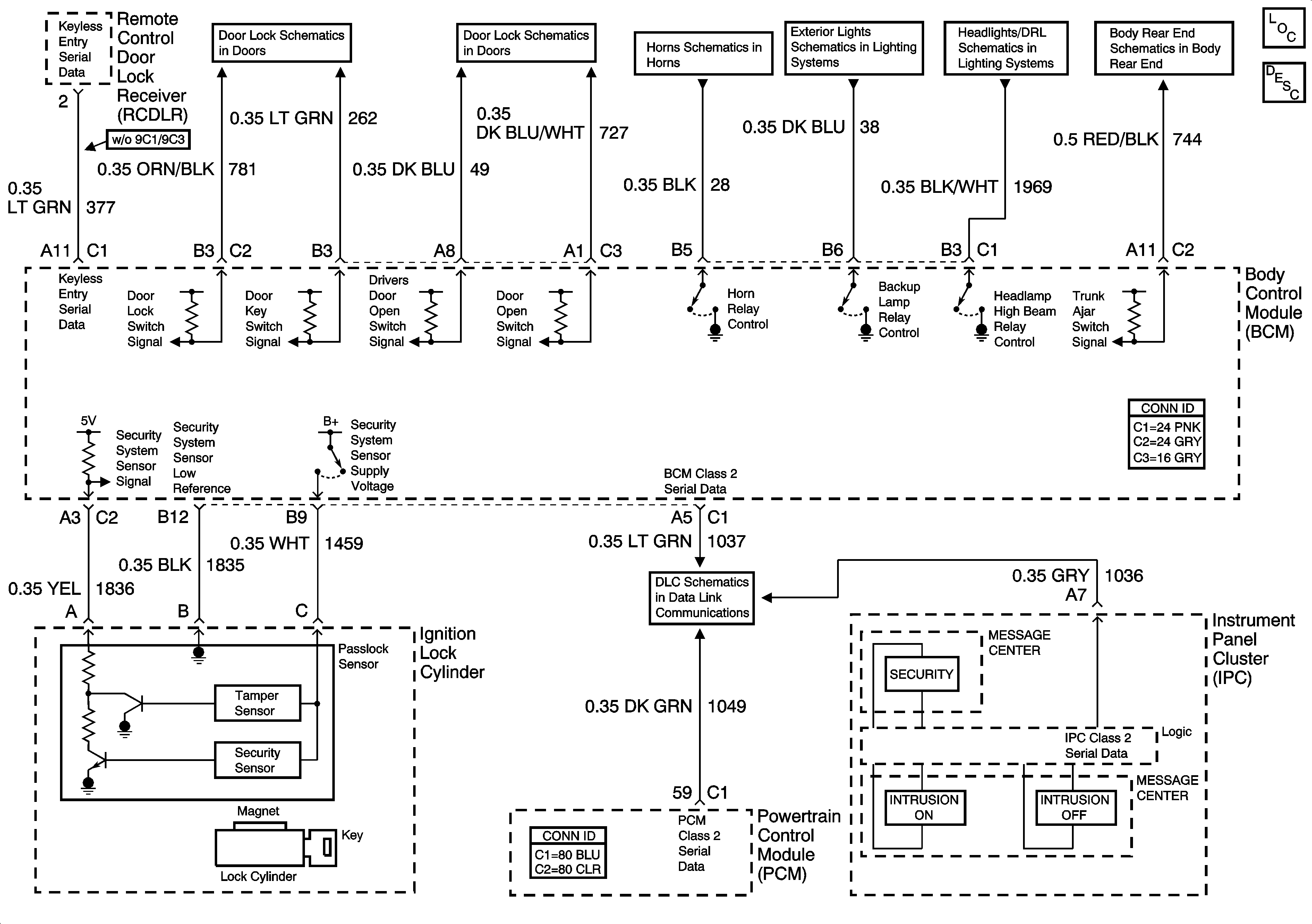
🢒 Theft Deterrent System Schematics
Master Electrical Component List
Theft Systems Description and Operation
Lock Switches
Door Open Switches [Left]
Horns
Backup Lamps [w/o 9C1/9C3/9C6]
Indicators, and Lamp Control
Decklid Release (w/Entrapment Protection)
DLC