GM Service Manual Online
For 1990-2009 cars only
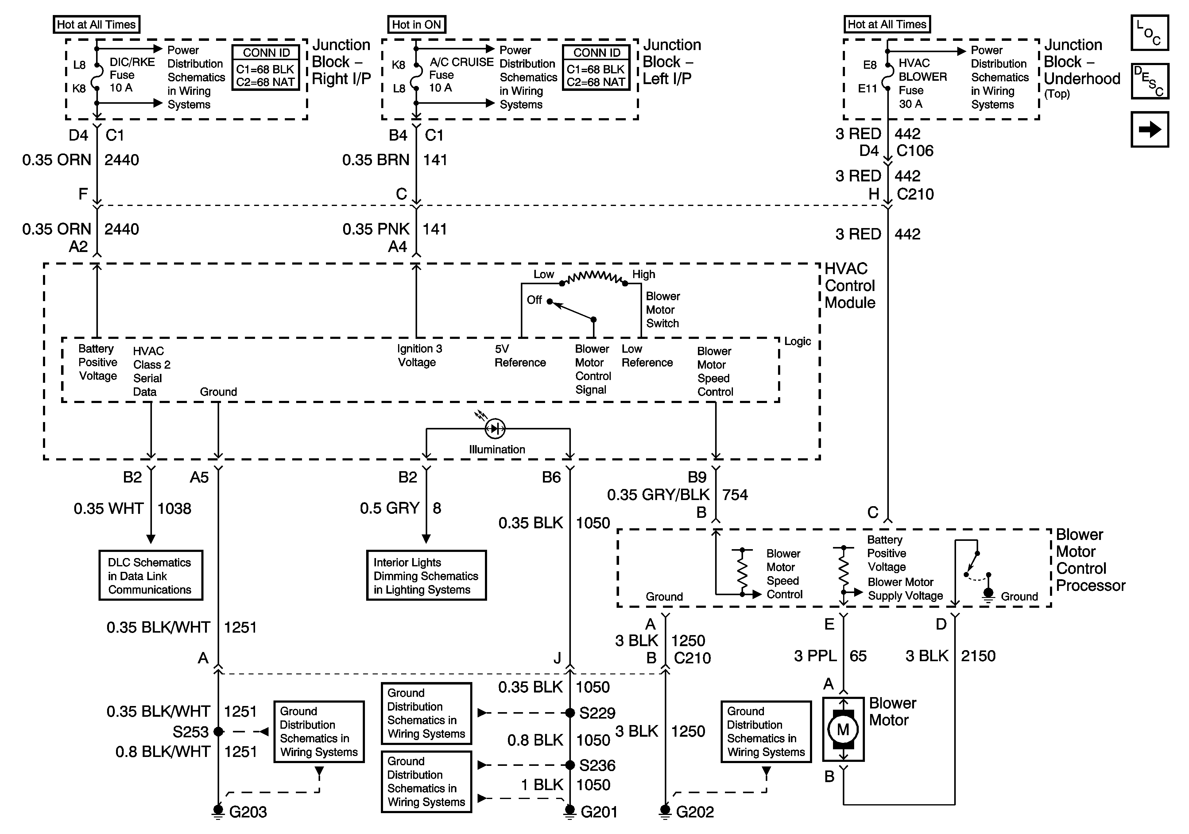
Figure 1:

Power, Ground, and Blower Motor Controls


Object Number: 1243982  Size: FS
Figure 2:

A/C Compressor Controls


Object Number: 1243988  Size: FS
Figure 3:

Mode and Air Temperature Controls


Object Number: 1243991  Size: FS