GM Service Manual Online
For 1990-2009 cars only

SEO 6J7 provides a high-beam headlamps flashing module, rear lamps flashing module and control wires for a customer-furnished switch to turn the module on or off. The wires are coiled in the passenger's side footwell under the instrument panel. These control leads may be combined with the interior wiring leads for SEO 6J3 when that option is ordered with SEO 6J7.

The headlamps flashing module is located at the inboard end of the passenger's side headlamps assembly. The headlamps flashing module is activated by the application of 12 volts to a pink wire coiled in the passenger's side footwell. When activated, the driver's and passenger's side high-beam headlamps and the high-beam instrument panel cluster light will flash alternately at 2.4 flashes per second.

During daylight conditions, the Daytime Running Lamps (DRL) are automatically turned off whenever the headlamps flasher module is activated. During nighttime conditions, the low-beam headlamps turn on automatically while the high-beam headlamps flash. Turning on the high-beam headlamps manually with the turn signal/multifunction lever will override the flashing module and the high-beam headlamps will operate continuously.

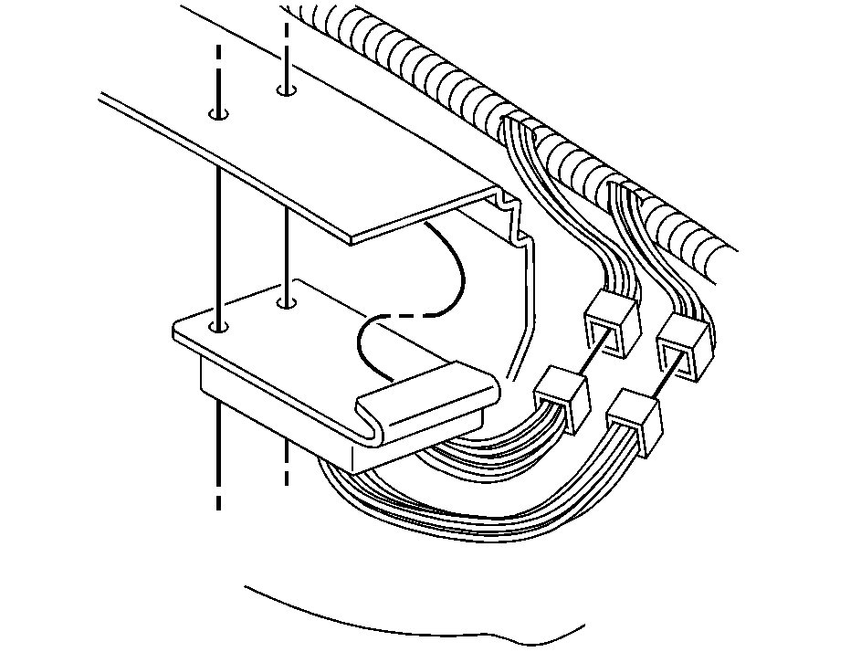
Headlamps Flasher Module--SEO 6J7


Object Number: 809690  Size: B4

A fuse labeled DRL/EXIT LTS protects the front flasher circuit. This fuse is located in the underhood fuse block in the engine compartment on the passenger's side of the vehicle. See "Fuses and Circuit Breakers" in the Service and Appearance Care section of your Impala owner's manual for more information.

The rear lamps flashing module is located in the trunk on the passenger's side, near the trunk auxiliary junction block. The module is activated by the application of 12 volts to a dark blue wire coiled in the passenger's side front footwell. When activated, the stoplamps will flash alternately with the back-up lamps at a rate of 2.4 flashes per second.

When it is dark outside, the taillamps will turn on automatically. The Center High-Mounted Stoplamp (CHMSL) will not flash and will operate only when the regular brake pedal is pressed.

A separate, blunt-cut red and black wire is coiled at the flasher module for connection of a customer-furnished relay to flash the auxiliary rear-window lamps.

Rear Lamps Flasher Module--SEO 6J7


Object Number: 809689  Size: B4

A fuse labeled AUX PWR protects the rear flasher circuit. This fuse is located in the passenger's side instrument panel fuse block. See "Fuses and Circuit Breakers" in the owner's manual index for more information.

For more information on the operation of the exterior lamps, see Surveillance Button .

Forward Lamp Harness In-Line Connector for use with Headlamps Flasher


Object Number: 845308  Size: C1

Rear Body Harness In-Line Connector for use with Rear Lamps Flasher


Object Number: 845310  Size: C1