GM Service Manual Online
For 1990-2009 cars only
Makes
🢒
Chevrolet
🢒
2005
🢒
Impala
🢒 Ignition Controls
Ignition Controls
Ignition Controls
Master Electrical Component List
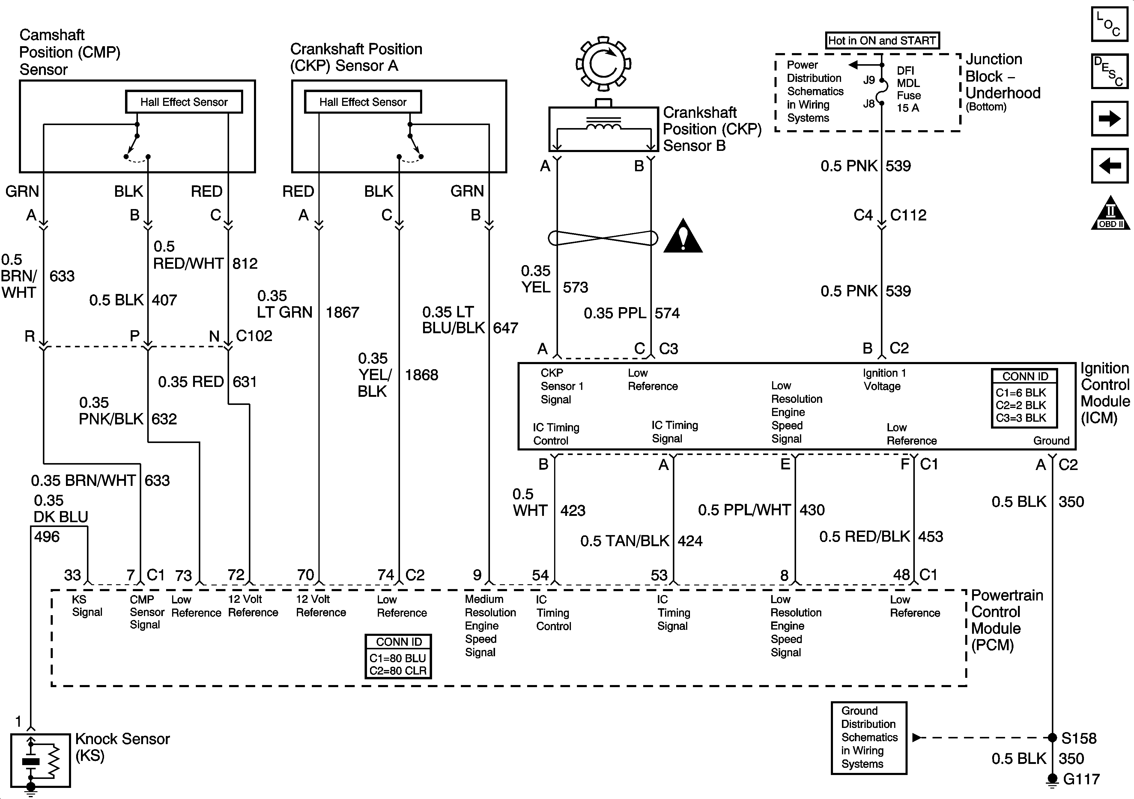
Electronic Ignition (EI) System Description
Fuel Pump
HO2S
OBD II Symbol Description Notice
Junction Block - Underhood (Bottom) Bussing
Engine Controls Schematic Icons
G100, G111, G113 - 1 of 2, G117, G151, G171