GM Service Manual Online
For 1990-2009 cars only
Makes
🢒
Chevrolet
🢒
2005
🢒
Impala
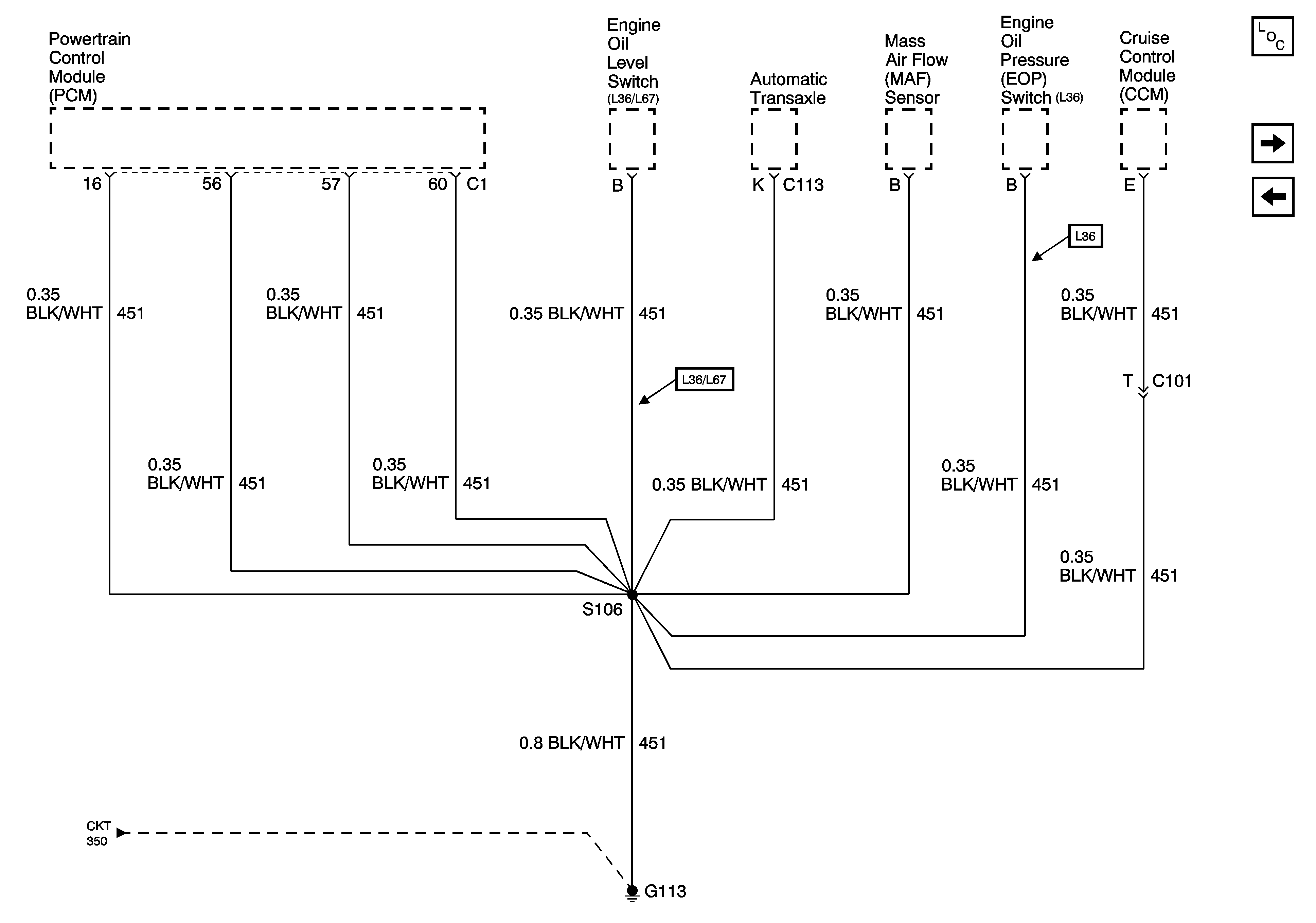
🢒 G113 - 2 of 2
G113 - 2 of 2
G113 - 2 of 2
Master Electrical Component List
G201 - 1 of 2
G100, G111, G113 - 1 of 2, G117, G151, G171