GM Service Manual Online
For 1990-2009 cars only
Makes
🢒
Chevrolet
🢒
2005
🢒
Impala
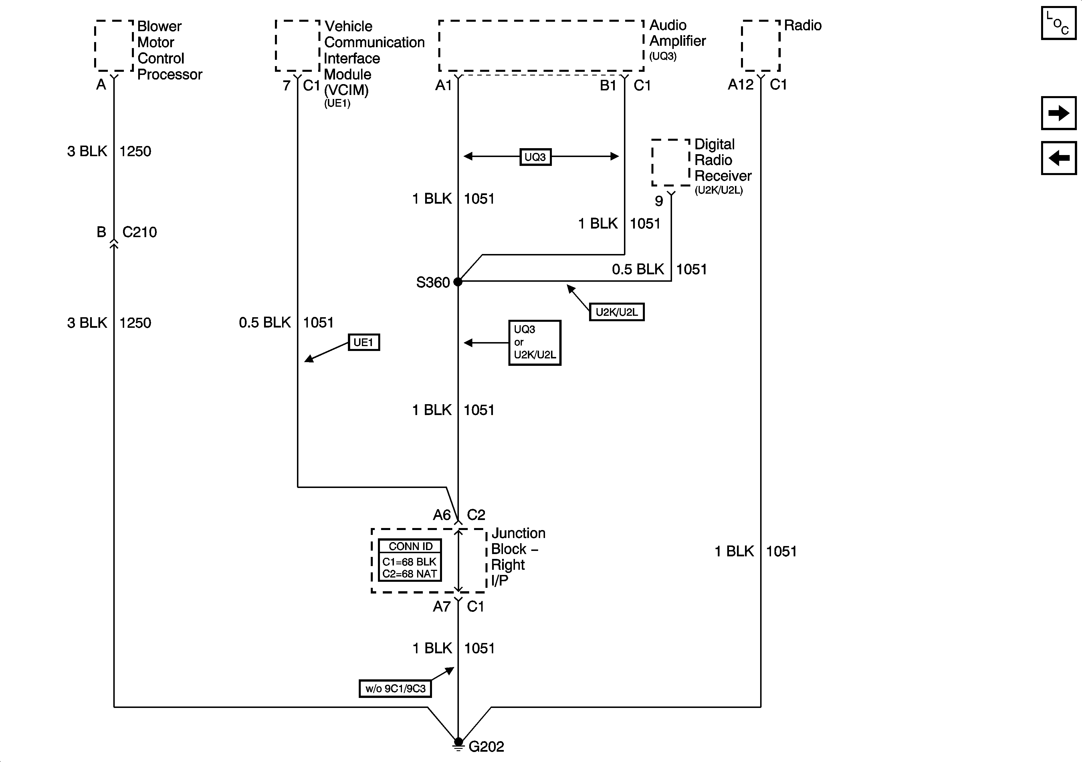
🢒 G202
G202
G202
Master Electrical Component List
G203 - 1 of 3
G201 - 2 of 2