GM Service Manual Online
For 1990-2009 cars only
Makes
🢒
Chevrolet
🢒
2005
🢒
Impala
🢒 Indicator Control
Indicator Control
Indicator Control
Master Electrical Component List
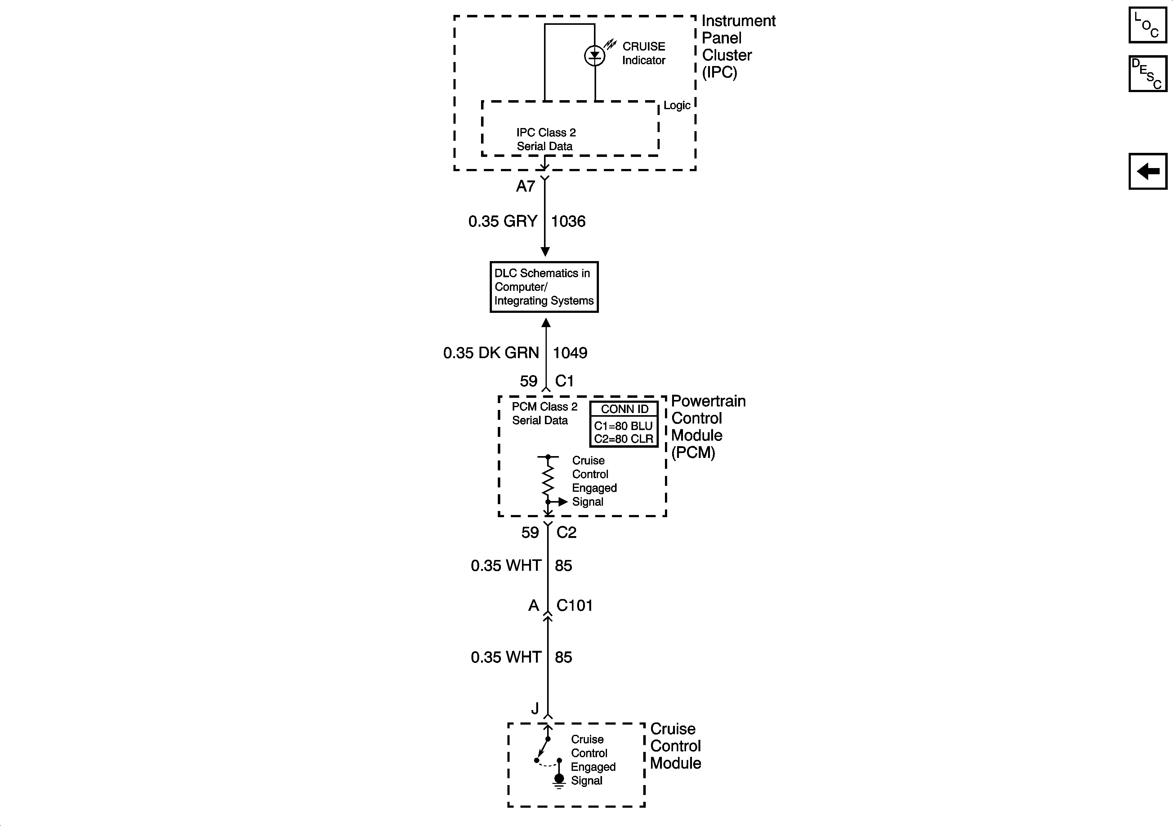
Cruise Control Description and Operation
Impala
DLC