GM Service Manual Online
For 1990-2009 cars only
Figure 1:

Forward Lamp harness


Object Number: 1568617  Size: LF
(1)Fuse Block - Underhood C3
(2)RF Strut Tower
(3)C120
(4)C141
(5)G101
(6)C122 (9C1,9C3 w/o 6J7)
(7)S124
(8)G100
(9)C142
Figure 2:

Battery Cable Harness


Object Number: 1568644  Size: LF
(1)RF Strut Tower
(2)G111
(3)G102
(4)C105
Figure 3:

Front of the Engine (LS4)


Object Number: 1568641  Size: LF
(1)Fuse Block - Underhood C1
(2)S109
(3)C108
(4)C101
(5)C111
(6)Electronic Brake Control Module (EBCM) C1
(7)Engine Control Module (ECM) C3
(8)Engine Control Module (ECM) C2
(9)Engine Control Module (ECM) C1
(10)S101
(11)G113
(12)G111
(13)G115
Figure 4:

Rear of the Engine (LS4)


Object Number: 1568642  Size: LF
(1)S108
(2)C107
(3)Fuse Block - Underhood C1
(4)S109
(5)C108
(6)C116
(7)C100
(8)Transmission Control Module (TCM) Connector
Figure 5:

Front of the Engine (LZ8)


Object Number: 1616964  Size: LF
(1)Fuse Block - Underhood C1
(2)C102
(3)Intake Manifold
(4)G115
(5)C101
(6)C111
(7)Electronic Brake Control Module (EBCM)
(8)Engine Control Module (ECM) C1
(9)Engine Control Module (ECM) C3
(10)Engine Control Module (ECM) C2
(11)G113
(12)S101
(13)G111
(14)Wheel Speed Sensor (WSS) - RF
Figure 6:

Rear of the Engine (LZE, LZ4, LZ8)


Object Number: 1616968  Size: LF
(1)C111
(2)C101
(3)C100
(4)S105
(5)C102
(6)Fuse Block - Underhood C1 Connector
(7)Engine Block
(8)G115
(9)Electronic Brake Control Module (EBCM) Connector
Figure 7:

I/P Harness - Engine Compartment


Object Number: 1568614  Size: LF
(1)RF Strut Tower
(2)Fuse Block - Underhood Positive Battery Terminal (9C1 and 9C3)
(3)Fusible Links (9C1, 9C3)
(4)C111
(5)C101
(6)Radiator Core Support
(7)Fuse Block - Underhood C2
(8)C123 (9C1, 9C3)
(9)C105
(10)Fuse Block - Underhood C1
(11)Fuse Block - Underhood Positive Battery Terminal (9C1 and 9C3)
Figure 8:

I/P Harness - Front of the I/P Carrier


Object Number: 1568592  Size: LF
(1)I/P Carrier
(2)G202
(3)G201
(4)G200
(5)G204 (9C1, 9C3)
(6)C210
(7)Spot Lamp - Right Connector (9C1, 9C3)
(8)Fuse Block - I/P C2
(9)C360 (9C1 and 9C3)
(10)C362 (9C1 and 9C3)
(11)C200
(12)C267 (9C1 and 9C3)
(13)C266 (9C1 and 9C3)
(14)C297 (9C1 and 9C3)
(15)HVAC Control Module C2
(16)Splice Pack SP205
(17)Splice Pack SP 206 and Splice Pack SP207
(18)C201
(19)Data Link Connector (DLC)
(20)C203
(21)C250
Figure 9:

I/P Harness - Rear of the I/P Carrier


Object Number: 1568600  Size: LF
(1)S282
(2)S203
(3)S239
(4)S250
(5)S218
(6)I/P Carrier
(7)S259
(8)S269
(9)Fuse Block - SEO
Figure 10:

HVAC Module Wiring


Object Number: 1568646  Size: LF
(1)C210
(2)HVAC Module
(3)HVAC Control Module - C2
Figure 11:

Left Front Kick Panel


Object Number: 1715330  Size: LF
(1)G301
(2)C223 - Taped to Harness (9C1,9C3)
(3)C250
(4)C203
(5)Terminator Resistor--Taped to Harness (w/o UE1)
Figure 12:

Lower Left Side of I/P


Object Number: 1715423  Size: LF
(1)Ignition Lock Cylinder Control Actuator
(2)Inflatable Restraint Steering Wheel Module Coil
(3)C201
(4)Body Control Module (BCM)
(5)BCM C1
(6)C250
(7)C277
Figure 13:

Sunroof and Headliner Harness


Object Number: 1568647  Size: LF
(1)G403
(2)Rear Shelf
(3)S393
(4)S390
(5)S364
(6)C398 (CF5)
(7)C490
Figure 14:

Body Harness - Front


Object Number: 1568653  Size: LF
(1)Inflatable Restraint I/P Module Connector
(2)S350
(3)C313
(4)S375
(5)C356 (Sedan)
(6)C355 (Sedan)
(7)S332
(8)C311
(9)S303
(10)S308
(11)S359
(12)G301
(13)S307
(14)C250
(15)C301
(16)C203
(17)C340
(18)S315
(19)S314
(20)C360 (9C1, 9C3)
(21)C200
(22)C302
(23)G302
Figure 15:

Rear of Passenger Compartment


Object Number: 1715421  Size: LF
(1)Rear Shelf
(2)G403 (Sedan)
(3)Quarter Inner Upper Panel (Coupe)
(4)G403 (Coupe)
(5)Rear Seat Back Cushion
(6)Quarter Inner Upper Panel (Coupe)
(7)G404 (Sedan)
(8)Rear Seat Back Cushion
(9)G404 (Coupe)
Figure 16:

Passenger Compartment-Rear


Object Number: 1715369  Size: LF
(1)C414
(2)Rear Shelf
(3)C412
(4)Rear Shelf
Figure 17:

Passenger Compartment - Rear Shelf


Object Number: 1715425  Size: LF
(1)Body Harness
(2)C322 (9C1,9C3)
Figure 18:

Body Harness - Rear


Object Number: 1568654  Size: LF
(1)S324
(2)G404
(3)C406
(4)C405
(5)G403
(6)C490
Figure 19:

Front Seat Airbag Inlines


Object Number: 1715386  Size: LF
(1)Seat Belt Switch-Passenger
(2)Passenger
(3)C314
(4)Seat Belt Switch-Driver
(5)Inflatable Restraint Side Impact Module-Left
(6)C312
(7)Driver Seat
(8)Inflatable Restraint Side Impact Module-Right
Figure 20:

Driver Door Harnesses - Sedan


Object Number: 1568621  Size: LF
(1)Door Frame
(2)S506
(3)S504
(4)S505
(5)C301
(6)C503
Figure 21:

Passenger Door Harnesses - Sedan


Object Number: 1568619  Size: LF
(1)Door Frame
(2)C604
(3)C302
(4)S604
(5)S608
Figure 22:

Left Rear Door Harness - Sedan


Object Number: 1568625  Size: LF
(1)Door Frame
(2)C355
(3)Window Motor - LR Connector
Figure 23:

Right Rear Door Harness - Sedan


Object Number: 1568629  Size: LF
(1)Door Frame
(2)C356
(3)Window Motor - RR Connector
Figure 24:

Right Front of Rear Compartment (w/ T53)


Object Number: 592725  Size: LF
(1)C409
(2)Emergency Vehicle Rear Compartment Lid Lamps Relay
Figure 25:

Rear Compartment Harness (Coupe), Rear of Body Harness (Sedan)


Object Number: 1568648  Size: LF
(1)Deck Lid
(2)C430 (Coupe)
(3)C432 (9C1 and 9C3)
(4)S901
(5)S902
(6)Rear Compartment Lid Release Actuator Connector
Figure 26:

Rear Body Harness (Sedan)


Object Number: 1568651  Size: LF
(1)C402
(2)C401
(3)Rear Fascia
(4)C406
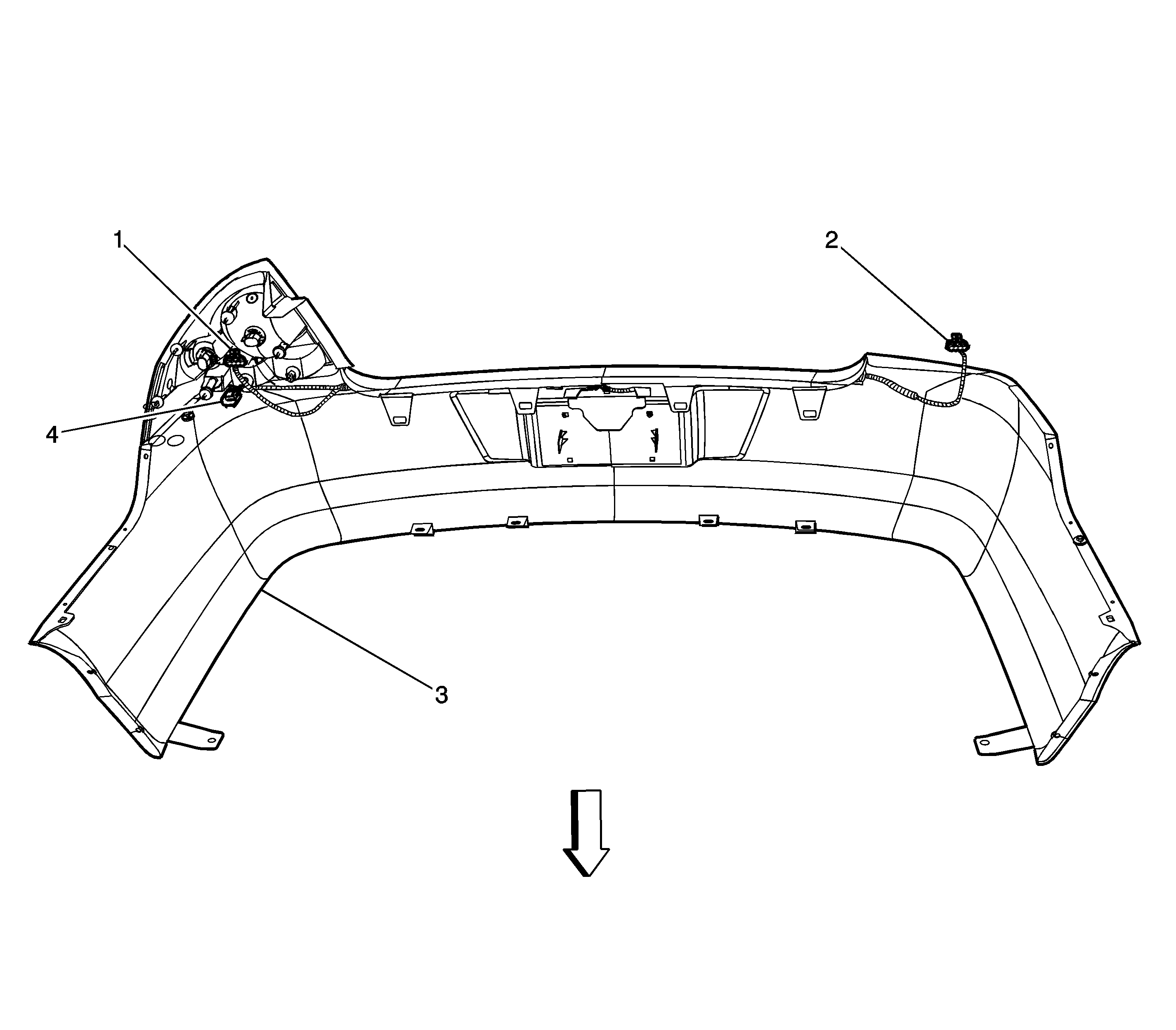
Figure 27:

Rear Fascia Harness (Coupe)


Object Number: 1671994  Size: LF
(1)C406
(2)C402
(3)C401
(4)S485
(5)S430
(6)Rear Fascia