GM Service Manual Online
For 1990-2009 cars only
Figure 1:

Left Front of the Engine Compartment


Object Number: 1653137  Size: LF
(1)Mass Air Flow (MAF)/Intake Air Temperature (IAT) Sensor
(2)Brake Booster Vacuum Sensor (LZ8/LS4)
(3)Windshield Wiper Motor
(4)Electronic Brake Control Module (EBCM)
(5)A/C Refrigerant Pressure Sensor
(6)Transmission Control Module (TCM)
(7)Engine Control Module (ECM)
(8)G101
(9)Inflatable Restraint Front End Sensor - Left
Figure 2:

Lower Right Front of Engine


Object Number: 305309  Size: LF
(1)A/C Compressor Clutch
(2)A/C Compressor Clutch Connector
(3)A/C Compressor
Figure 3:

Interior HVAC Components


Object Number: 1653136  Size: LF
(1)HVAC Module
(2)Mode Actuator
(3)Air Temperature Actuator (C67), Air Temperature Actuator - Right (CJ3)
(4)Recirculation Actuator
(5)Blower Motor
(6)Blower Motor Control Processor
(7)Air Temperature Actuator - Left (CJ3)
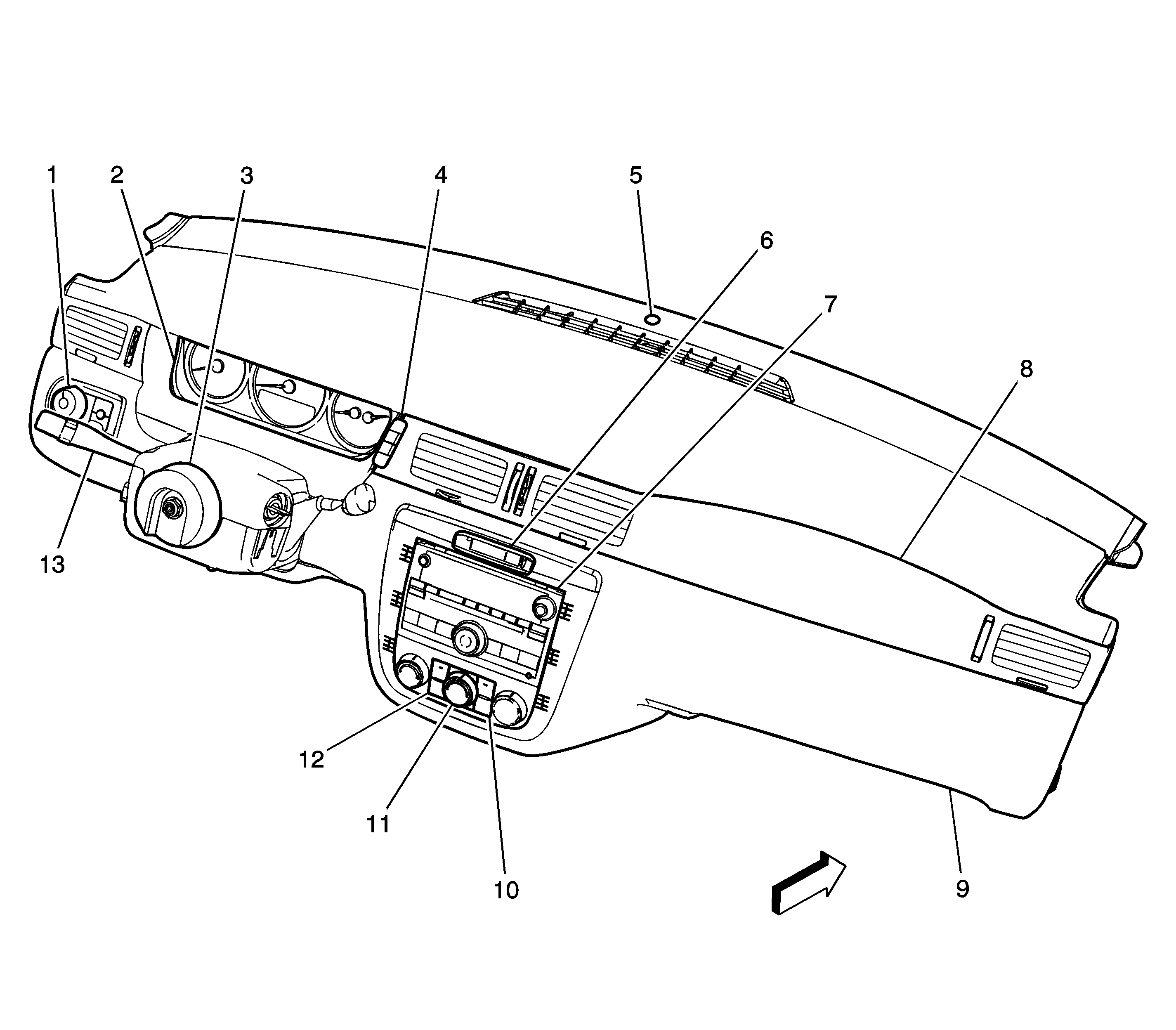
Figure 4:

I/P Components


Object Number: 1653129  Size: LF
(1)Headlamp Switch
(2)Instrument Panel Cluster (IPC)
(3)Inflatable Restraint Steering Wheel Module Coil
(4)Driver Information Center (DIC) Switch
(5)Ambient Light Sensor
(6)Inflatable Restraint Passenger Air Bag On/Off Indicator (Sedan w/o 9C1, 9C3)
(7)Radio
(8)Inflatable Restraint I/P Module
(9)I/P Trim Panel
(10)Heated Seat Switch - Passenger (KA1)
(11)HVAC Control Module
(12)Heated Seat Switch - Driver (KA1)
(13)Turn Signal/Multifunction Switch