GM Service Manual Online
For 1990-2009 cars only
Connector 1: X100 Engine Harness to Transmission Harness
Connector 2: X101 I/P Harness to Engine Harness
Connector 3: X102 Engine Harness to Fuel Injector Harness (LZE, LZ4, LZG)
Connector 4: X105 Battery Harness to I/P Harness
Connector 5: X107 Engine Harness to Front Ignition Coil Harness (LS4)
Connector 6: X108 Engine Harness to Rear Ignition Coil Harness (LS4)
Connector 7: X111 I/P Harness to Engine Harness
Connector 8: X116 Crankshaft/Knock Sensor Jumper Harness to Engine Harness (LS4)
Connector 9: X120 I/P Harness to Forward Lamp Harness
Connector 10: X122 Forward Lamp Harness to Forward Lamp Harness (9C1/9C3)
Connector 11: X123 I/P Harness to the Grille Lamp Jumper Harness (6J3)
Connector 12: X141 Forward Lamp Harness to Left Front Headlamp Assembly Harness
Connector 13: X142 Forward Lamp Harness to Right Front Headlamp Assembly Harness
Connector 14: X200 Body Harness to I/P Harness
Connector 15: X201 Steering Column Harness to I/P Harness
Connector 16: X203 I/P Harness to Body Harness
Connector 17: X208 SEO Auxiliary Harness to Body Harness (9C1, 9C3)
Connector 18: X210 I/P Harness to HVAC Harness
Connector 19: X223 Body Harness to Body Harness (9C1, 9C3)
Connector 20: X250 SIR Coil to the Body Harness
Connector 21: X266 I/P Harness to I/P Harness (6J4)
Connector 22: X267 I/P Harness to I/P Harness (9C1, 9C3, without WX7)
Connector 23: X267A I/P Harness to I/P Harness (9C1, 9C3, with WX7)
Connector 24: X267B I/P Harness to I/P Harness (9C1, 9C3, with WX7)
Connector 25: X275 SIR Coil to Steering Column Harness
Connector 26: X277 SIR Coil to Steering Wheel Harness
Connector 27: X278 Inflatable Restraint I/P Module Jumper Harness to the Body Harness
Connector 28: X297 I/P Harness to Grille Lamp Jumper Harness (9C1, 9C3, 6J3)
Connector 29: X301 Body Harness to Left Front Door Harness
Connector 30: X302 Body Harness to Right Front Door Harness
Connector 31: X311 Body Harness to Left Front Seat Harness
Connector 32: X313 Body Harness to Right Front Seat Harness
Connector 33: X322 Body Harness to Roof Wiring Provision Harness (9C1, 9C3)
Connector 34: X340 Console Harness to Body Harness (without Floor Console)
Connector 35: X340 Console Harness to Body Harness (Floor Console)
Connector 36: X355 Body Harness to Left Rear Door Harness
Connector 37: X356 Body Harness to Right Rear Door Harness
Connector 38: X360 Body Harness to I/P Harness (9C1, 9C3)
Connector 39: X362 Body Harness to I/P Harness (9C1, 9C3)
Connector 40: X398 Roof Harness to Sunroof Harness (CF5)
Connector 41: X401 Rear Body Harness to Left Tail Lamp Harness
Connector 42: X402 Rear Body Harness to Right Tail Lamp Harness
Connector 43: X405 Rear Chassis Harness to Body Harness
Connector 44: X406 Body Harness to Rear Body Harness
Connector 45: X409 Emergency Vehicle Rear Compartment Lid Lamps Harness to Body Harness (9C1, 9C3)
Connector 46: X412 Roof Rail Module - Left Jumper Harness to Body Harness (AY1)
Connector 47: X414 Roof Rail Module - Right Jumper Harness to Body Harness (AY1)
Connector 48: X490 Roof Harness to Body Harness
Connector 49: X503 Left Front Door Harness to Left Front Door Trim Harness
Connector 50: X604 Right Front Door Trim Harness to Right Front Door Harness

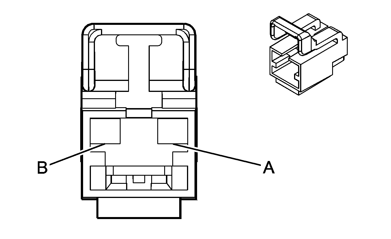
X100 Engine Harness to Transmission Harness


Object Number: 1067511  Size: CH

Object Number: 1361998  Size: CH

Connector Part Information

  • OEM: 15483054
  • Service: 88988728
  • Description: 20-Way F Micro-Pack 100W Series, Sealed (BK)

Connector Part Information

  • OEM: 15443073
  • Service: See Catalog
  • Description: 20-Way M Micro-Pack 100W Series, Sealed (BK)

Terminal Part Information

  • Terminal/Tray: 12084913/5
  • Core/Insulation Crimp: W/W
  • Release Tool/Test Probe: 12122523/J-35616-6 (BN)

Terminal Part Information

  • Terminal/Tray: Non-Serviceable
  • Core/Insulation Crimp: Non-Serviceable
  • Release Tool/Test Probe: Non-Serviceable

X100 Engine Harness to Transmission Harness

Pin

Wire

Circuit

Function

Pin

Wire

Circuit

Function

A

0.35 L-GN

1222

1-2 Shift Solenoid Valve Control

A

0.35 L-GN

1222

1-2 Shift Solenoid Valve Control

B

0.35 YE/BK

1223

2-3 Shift Solenoid Valve Control

B

0.35 YE/BK

1223

2-3 Shift Solenoid Valve Control

C

0.35 OG/BK

1228

PC Solenoid Valve High Control

C

0.35 OG/BK

1228

PC Solenoid Valve High Control

D

0.35 L-BU/WH

1229

PC Solenoid Valve Low Control

D

0.35 L-BU/WH

1229

PC Solenoid Valve Low Control

E

0.35 PK

1339

Ignition 1 Voltage

E

0.35 PK

1339

Ignition 1 Voltage

F

0.35 TN/WH

771

Transmission Range Switch Signal A

F

0.35 TN/WH

771

Transmission Range Switch Signal A

G

0.35 YE

772

Transmission Range Switch Signal B

G

0.35 YE

772

Transmission Range Switch Signal B

H

0.35 GY

773

Transmission Range Switch Signal C

H

0.35 GY

773

Transmission Range Switch Signal C

J

0.35 WH

776

Transmission Range Switch Signal P

J

0.35 WH

776

Transmission Range Switch Signal P

K

0.5 BK/WH

451

Ground

K

0.5 BK/WH

451

Ground

L

0.35YE/BK

1227

TFT Sensor Signal

L

0.35YE/BK

1227

TFT Sensor Signal

M

0.35 TN

2762

Low Reference

M

0.35 TN

2762

Low Reference

N-R

--

--

Not Used

N-R

--

--

Not Used

S

0.35 OG/BK

1230

AT ISS High Signal

S

0.35 OG/BK

1230

AT ISS High Signal

T

0.35 BN

418

TCC PWM Solenoid Valve Control

T

0.35 BN

418

TCC PWM Solenoid Valve Control

U

0.35 WH

1804

TCC Release Switch Signal

U

0.35 WH

1804

TCC Release Switch Signal

V

0.35 D-BU/WH

1231

AT ISS Low Signal

V

0.35 D-BU/WH

1231

AT ISS Low Signal

W

0.35 OG/BK

1786

Ignition Lock Cylinder Control Actuator Signal

W

0.35 OG/BK

1786

Ignition Lock Cylinder Control Actuator Signal

X101 I/P Harness to Engine Harness


Object Number: 831372  Size: CH

Object Number: 831369  Size: CH

Connector Part Information

  • OEM: 15326849
  • Service: 88986260
  • Description: 12-Way F GT 150 Series, Sealed (BK)

Connector Part Information

  • OEM: 15326854
  • Service: 88986252
  • Description: 12-Way M GT 150 Series, Sealed (BK)

Terminal Part Information

  • Terminal/Tray: 12191819/8
  • Core/Insulation Crimp: E/A
  • Release Tool/Test Probe: 15315247/J-35616-2A (GY)

Terminal Part Information

  • Terminal/Tray: 15326269/19
  • Core/Insulation Crimp: E/4
  • Release Tool/Test Probe: 15315247/J-35616-3 (GY)

X101 I/P Harness to Engine Harness

Pin

Wire

Circuit

Function

Pin

Wire

Circuit

Function

A

0.35 L-BU

5986

Serial Data Communication Enable (JL9)

A

0.35 L-BU

5986

Serial Data Communication Enable (JL9)

B

0.35 GY

2709

5-Volt Reference 1

B

0.35 GY

2709

5-Volt Reference 1

C

0.35 D-GN

890

Fuel Tank Pressure Sensor Signal

C

0.35 D-GN

890

Fuel Tank Pressure Sensor Signal

D

0.35 TN

2759

Low Reference

D

0.35 TN

2759

Low Reference

E

0.5 OG

885

Left Rear Wheel Speed Sensor Low Reference (JL9)

E

0.5 OG

885

Left Rear Wheel Speed Sensor Low Reference (JL9)

F

0.5 TN

884

Left Rear Wheel Speed Sensor Signal (JL9)

F

0.5 TN

884

Left Rear Wheel Speed Sensor Signal (JL9)

G

0.5 WH

883

Right Rear Wheel Speed Sensor Low Reference (JL9)

G

0.5 WH

883

Right Rear Wheel Speed Sensor Low Reference (JL9)

H

0.5 BN

882

Right Rear Wheel Speed Sensor Signal (JL9)

H

0.5 BN

882

Right Rear Wheel Speed Sensor Signal (JL9)

J

0.35 GY

1056

Steering Wheel Position Sensor 12V Reference Voltage (JL4)

J

0.35 GY

1056

Steering Wheel Position Sensor 12V Reference Voltage (JL4)

K

0.35 GY/BK

1337

12-Volt Reference (JL4)

K

0.35 GY/BK

1337

12-Volt Reference (JL4)

L

0.35 TN/WH

6433

CAN Bus High Serial Data (JL4)

L

0.35 TN/BK

6433

CAN Bus High Serial Data (JL4)

M

0.35 TN

818

Vehicle Speed Signal (9C1, 9C3)

M

0.5 BN

818

Vehicle Speed Signal (9C1, 9C3)

0.35 L-GN/BK

6432

CAN Bus Low Serial Data (JL4)

0.35 TN/WH

6432

CAN Bus Low Serial Data (JL4)

X102 Engine Harness to Fuel Injector Harness (LZE, LZ4, LZG)


Object Number: 646383  Size: CH

Object Number: 632345  Size: CH

Connector Part Information

  • OEM: 15326863
  • Service: 15306410
  • Description: 16-Way F GT 150 Series, Sealed (BK)

Connector Part Information

  • OEM: 15326867
  • Service: 15326867
  • Description: 16-Way M GT 150 Series, Sealed (BK)

Terminal Part Information

  • Terminal/Tray: 12191819/8
  • Core/Insulation Crimp: 2/A
  • Release Tool/Test Probe: 15315247/J-35616-2A (GY)

Terminal Part Information

  • Terminal/Tray: 15326269/19
  • Core/Insulation Crimp: E/4
  • Release Tool/Test Probe: 15315247/J-35616-3 (GY)

X102 Engine Harness to Fuel Injector Harness (LZE, LZ4, LZG)

Pin

Wire

Circuit

Function

Pin

Wire

Circuit

Function

A

0.8 PK/BK

5291

Ignition 1 Voltage

A

0.5 PK

639

Ignition 1 Voltage

B

0.35 YE

410

ECT Sensor Signal

B

0.5 YE

410

ECT Sensor Signal

C

0.5 TN

1744

Fuel Injector 1 Control

C

0.5 BK

1744

Fuel Injector 1 Control

D

0.5 L-GN/BK

1745

Fuel Injector 2 Control

D

0.5 OG

1745

Fuel Injector 2 Control

E

0.5 PK/BK

1746

Fuel Injector 3 Control

E

0.5 PK/BK

1746

Fuel Injector 3 Control

F

0.5 L-BU/BK

844

Fuel Injector 4 Control

F

0.5 D-GN

844

Fuel Injector 4 Control

G

0.5 TN/WH

845

Fuel Injector 5 Control

G

0.5 BK/WH

845

Fuel Injector 5 Control

H

0.5 YE/BK

846

Fuel Injector 6 Control

H

0.5 WH

846

Fuel Injector 6 Control

J

0.5 D-BU

5491

Cylinder Shut Off Solenoid Control 1 (LZG)

J

0.5 D-BU

9491

Cylinder Shut Off Solenoid Control 1 (LZG)

K

0.5 PK

5495

Cylinder Shut Off Solenoid Control 5 (LZG)

K

0.5 PK

5495

Cylinder Shut Off Solenoid Control 5 (LZG)

L

0.5 TN

2761

Low Reference

L

0.5 OG/BK

469

Low Reference

M

0.8 PK/BK

5294

Ignition 1 Voltage

M

0.5 PK/BK

5291

Ignition 1 Voltage

N

0.35 D-BU

6259

5-Volt Reference 1

N

0.5 RD

812

5-Volt Reference 1

P

0.35 PK/BK

632

Low Reference

P

0.5 BK

407

Low Reference

R

0.35 BN/WH

633

CMP Sensor Signal

R

0.5 BN/WH

633

CMP Sensor Signal

S

0.5 GY

5493

Cylinder Shut Off Solenoid Control 3 (LZG)

S

0.5 GY

5493

Cylinder Shut Off Solenoid Control 3 (LZG)

X105 Battery Harness to I/P Harness


Object Number: 603213  Size: CH

Object Number: 873041  Size: CH

Connector Part Information

  • OEM: 15326679
  • Service: 88988942
  • Description: 2-Way F GT 280 Series, Sealed (BK)

Connector Part Information

  • OEM: 15326678
  • Service: 88987860
  • Description: 2-Way M GT 280 Series, Sealed (BK)

Terminal Part Information

  • Terminal/Tray: 12129497/1
  • Core/Insulation Crimp: 2/5
  • Release Tool/Test Probe: 12094430/J-35616-5 (PU)

Terminal Part Information

  • Terminal/Tray: 15304731/19
  • Core/Insulation Crimp: E/5
  • Release Tool/Test Probe: 15315247/J-35616-5 (PU)

X105 Battery Harness to I/P Harness

Pin

Wire

Circuit

Function

Pin

Wire

Circuit

Function

A

3 BK

50

Ground

A

0.5 BK

50

Ground

B

--

--

Not Used

B

GY

901

Not Used

X107 Engine Harness to Front Ignition Coil Harness (LS4)


Object Number: 684790  Size: CH

Object Number: 365940  Size: CH

Connector Part Information

  • OEM: 12047938
  • Service: 12102754
  • Description: 7-Way F Metri-Pack 150 Series, Sealed (L-GY)

Connector Part Information

  • OEM: 12047933
  • Service: 12047933
  • Description: 7-Way M Metri-Pack 150 Series, Sealed (GY)

Terminal Part Information

  • Terminal/Tray: 12048074/2
  • Core/Insulation Crimp: E/1
  • Release Tool/Test Probe: 12094429/J-35616-2A (GY)

Terminal Part Information

  • Terminal/Tray: 12048074/2
  • Core/Insulation Crimp: 2/1
  • Release Tool/Test Probe: 12094429/J-35616-2A (GY)

X107 Engine Harness to Front Ignition Coil Harness (LS4)

Pin

Wire

Circuit

Function

Pin

Wire

Circuit

Function

A

0.8 BK/WH

51

Ground

A

0.8 BK

151

Ground

B

0.5 OG

2127

IC 7 Control

B

0.5 RD

2127

IC 7 Control

C

0.5 D-GN

2125

IC 5 Control

C

0.5 D-GN

2125

IC 5 Control

D

--

--

Not Available

D

--

--

Not Available

E

0.5 BN

2129

Low Reference

E

0.5 BN

2129

Low Reference

F

0.5 L-BU

2123

IC 3 Control

F

0.5 L-BU

2123

IC 3 Control

G

0.5 PU

2121

IC 1 Control

G

0.5 PU

2121

IC 1 Control

H

0.8 PK/BK

5291

Ignition 1 Voltage

H

0.8 PK

39

Ignition 1 Voltage

X108 Engine Harness to Rear Ignition Coil Harness (LS4)


Object Number: 684790  Size: CH

Object Number: 365940  Size: CH

Connector Part Information

  • OEM: 12047938
  • Service: 12102754
  • Description: 7-Way F Metri-Pack 150 Series, Sealed (L-GY)

Connector Part Information

  • OEM: 12047933
  • Service: 12047933
  • Description: 7-Way M Metri-Pack 150 Series, Sealed (GY)

Terminal Part Information

  • Terminal/Tray: 12048074/2
  • Core/Insulation Crimp: E/1
  • Release Tool/Test Probe: 12094429/J-35616-2A (GY)

Terminal Part Information

  • Terminal/Tray: 12045773/2
  • Core/Insulation Crimp: E/1
  • Release Tool/Test Probe: 12094429/J-35616-3 (GY)

X108 Engine Harness to Rear Ignition Coil Harness (LS4)

Pin

Wire

Circuit

Function

Pin

Wire

Circuit

Function

A

0.8 BK/WH

51

Ground

A

0.8 BK

151

Ground

B

0.5 OG/WH

2122

IC 2 Control

B

0.5 RD

2127

IC 2 Control

C

0.5 D-GN/WH

2124

IC 4 Control

C

0.5 D-GN

2125

IC 4 Control

D

--

--

Not Available

D

--

--

Not Available

E

0.5 BN/WH

2130

Low Reference

E

0.5 BN

2129

Low Reference

F

0.5 L-BU/WH

2126

IC 6 Control

F

0.5 L-BU

2123

IC 6 Control

G

0.5 PU/WH

2128

IC 8 Control

G

0.5 PU

2121

IC 8 Control

H

0.8 PK/BK

5292

Ignition 1 Voltage

H

0.8 PK

39

Ignition 1 Voltage

X111 I/P Harness to Engine Harness


Object Number: 831373  Size: CH

Object Number: 831374  Size: CH

Connector Part Information

  • OEM: 15326856
  • Service: 88986261
  • Description: 14-Way F GT 150 Series, Sealed (BK)

Connector Part Information

  • OEM: 15326861
  • Service: 88986246
  • Description: 14-Way M GT 150 Series, Sealed (BK)

Terminal Part Information

  • Terminal/Tray: 12191819/8
  • Core/Insulation Crimp: E/A
  • Release Tool/Test Probe: 15315247/J-35616-2A (GY)

Terminal Part Information

  • Terminal/Tray: 15326269/19
  • Core/Insulation Crimp: E/4
  • Release Tool/Test Probe: 15315247/J-35616-3 (GY)

X111 I/P Harness to Engine Harness

Pin

Wire

Circuit

Function

Pin

Wire

Circuit

Function

A

0.35 BN/WH

419

MIL Control

A

0.35 BN/WH

419

MIL Control

B

0.5 WH

17

Stop Lamp Switch Signal

B

0.5 WH

17

Stop Lamp Switch Signal

C

0.35 PU

30

Fuel Level Sensor Signal

C

0.35 BK/WH

30

Fuel Level Sensor Signal

D

0.35 D-BU

5985

Accessory Wake Up Serial Data

D

0.35 D-BU

5985

Accessory Wake Up Serial Data

E

0.35 L-GN

5060

Low Speed GMLAN Serial Data

E

--

--

Not Used

F

0.35 TN/BK

2500

High Speed GMLAN Serial Data Bus+

F

0.35 TN/BK

2500

High Speed GMLAN Serial Data Bus+

G

0.35 TN

2501

High Speed GMLAN Serial Data Bus-

G

0.35 TN

2501

High Speed GMLAN Serial Data Bus-

H

0.35 D-BU

5985

Accessory Wake Up Serial Data

H

0.35 D-BU

5985

Accessory Wake Up Serial Data

J

0.35 BN

1271

Low Reference

J

0.35 BN

1271

Low Reference

K

0.35 WH/BK

1164

5-Volt Reference 2

K

0.35 WH/BK

1164

5-Volt Reference 2

L

0.35 D-BU

1161

APP Sensor 1 Signal

L

0.35 D-BU

1161

APP Sensor 1 Signal

M

0.35 PU

1272

Low Reference

M

0.35 PU

1272

Low Reference

N

0.35 TN

1274

5-Volt Reference 1

N

0.35 TN

1274

5-Volt Reference 1

P

0.35 L-BU

1162

APP Sensor 2 Signal

P

0.35 L-BU

1162

APP Sensor 2 Signal

X116 Crankshaft/Knock Sensor Jumper Harness to Engine Harness (LS4)


Object Number: 1381340  Size: CH

Object Number: 1334521  Size: CH

Connector Part Information

  • OEM: 15326823
  • Service: 19151498
  • Description: 5-Way F GT 150 Series, Sealed (BK)

Connector Part Information

  • OEM: 15326827
  • Service: 89046648
  • Description: 5-Way M GT 150 Series, Sealed (BK)

Terminal Part Information

  • Terminal/Tray: 12191819/8
  • Core/Insulation Crimp: E/A
  • Release Tool/Test Probe: 15315247/J-35616-2A (GY)

Terminal Part Information

  • Terminal/Tray: 15326269/16
  • Core/Insulation Crimp: E/4
  • Release Tool/Test Probe: 15315247/J-35616-3 (GY)

X116 Crankshaft/Knock Sensor Jumper Harness to Engine Harness (LS4)

Pin

Wire

Circuit

Function

Pin

Wire

Circuit

Function

A

0.35 D-BU/WH

1869

CKP Sensor Signal

A

0.35 D-BU/WH

1869

CKP Sensor Signal

B

0.35 YE/BK

1868

Low Reference

B

0.35 YE/BK

1868

Low Reference

C

0.35 L-GN

1867

5-Volt Reference 2

C

0.35 L-GN

1867

5-Volt Reference 2

D

0.35 L-BU

1876

Knock 2 Sensor Signal

D

0.35 L-BU

1876

KS 2 Signal

E

0.35 GY

2303

Knock 2 Sensor Signal

E

0.35 GY

2303

KS 2 Signal

X120 I/P Harness to Forward Lamp Harness


Object Number: 1673480  Size: CH

Object Number: 632342  Size: CH

Connector Part Information

  • OEM: 15326843
  • Service: 15326843
  • Description: 10-Way F GT 150 Series, Sealed (BK)

Connector Part Information

  • OEM: 15326846
  • Service: See Catalog
  • Description: 10-Way M GT 150 Series, Sealed (BK)

Terminal Part Information

  • Terminal/Tray: 12191819/8
  • Core/Insulation Crimp: Pins A, B, C, D, E, F, H, J - E/A
  • Core/Insulation Crimp: Pins K - 2/A
  • Release Tool/Test Probe: 15315247/J-35616-2A (GY)

Terminal Part Information

  • Terminal/Tray: 15326269/19
  • Core/Insulation Crimp: Pins A, B, C, D, K - E/1
  • Core/Insulation Crimp: Pins E, F, H, J - E/4
  • Release Tool/Test Probe: 15315247/J-35616-3 (GY)

X120 I/P Harness to Forward Lamp Harness

Pin

Wire

Circuit

Function

Pin

Wire

Circuit

Function

A

0.35 YE

354

Discriminating Sensor - Left - Signal

A

0.8 YE

354

Discriminating Sensor - Left - Signal

B

0.35 TN/OG

5045

Discriminating Sensor - Left - Low Reference

B

0.8 TN/OG

5045

Discriminating Sensor - Left - Low Reference

C

0.35 D-GN

1409

Discriminating Sensor - Right - Signal

C

0.8 D-GN

1409

Discriminating Sensor - Right - Signal

D

0.35 GY

5600

Discriminating Sensor - Right - Low Reference

D

0.8 GY

5600

Discriminating Sensor - Right - Low Reference

E

0.35 L-GN/BK

735

Ambient Air Temperature Sensor Signal

E

0.35 L-GN/BK

735

Ambient Air Temperature Sensor Signal

F

0.35 YE

61

Low Reference

F

0.35 YE

61

Low Reference

G

0.35 PU

5531

Hood Closed Switch Signal

G

0.35 PU

5531

Hood Closed Switch Signal (AP3)

H

0.5 D-BU/YE

6841

Rear Lamp Flasher Signal (9C1, 9C3)

H

0.8 D-BU/YE

6841

Rear Lamp Flasher Signal (9C1, 9C3)

J

0.35 TN

185

Low Washer Fluid Indicator Signal

J

0.35 TN

185

Low Washer Fluid Indicator Signal

K

0.35 PK/BK

109

Hood Ajar Switch Signal

K

0.35 PK/BK

109

Hood Ajar Switch Signal (AP3)

X122 Forward Lamp Harness to Forward Lamp Harness (9C1/9C3)


Object Number: 632357  Size: CH

Object Number: 646396  Size: CH

Connector Part Information

  • OEM: 15326829
  • Service: 88953153
  • Description: 6-Way F GT 150 Series, Sealed (BK)

Connector Part Information

  • OEM: 15326833
  • Service: 15326833
  • Description: 6-Way M GT 150 Series, Sealed (BK)

Terminal Part Information

  • Terminal/Tray: 12191819/8
  • Core/Insulation Crimp: 2/A
  • Release Tool/Test Probe: 15315247/J-35616-2A (GY)

Terminal Part Information

  • Terminal/Tray: 15326269/19
  • Core/Insulation Crimp: E/4
  • Release Tool/Test Probe: 15315247/J-35616-3 (GY)

X122 Forward Lamp Harness to Forward Lamp Harness (9C1/9C3)

Pin

Wire

Circuit

Function

Pin

Wire

Circuit

Function

A

0.8 BK

1250

Ground

A

--

--

Not Used

B

0.5 D-GN/WH

711

Left Headlamp High Beam Supply Voltage

B

0.5 D-GN/WH

711

Left Headlamp High Beam Supply Voltage

C

0.8 RD/WH

2940

Battery Positive Voltage

C

--

--

Not Used

D

0.5 L-GN/BK

311

Right Headlamp High Beam Supply Voltage

D

0.5 L-GN/BK

311

Right Headlamp High Beam Supply Voltage

E

0.35 D-GN/RD

6820

Exterior Lamp Flasher Signal

E

--

--

Not Used

F

0.8 D-BU/YE

6841

Rear Lamp Flasher Signal

F

--

--

Not Used

X123 I/P Harness to the Grille Lamp Jumper Harness (6J3)


Object Number: 684854  Size: CH

Object Number: 396241  Size: CH

Connector Part Information

  • OEM: 12162144
  • Service: 12102741
  • Description: 4-Way F Metri-Pack 150 Series, Sealed (BK)

Connector Part Information

  • OEM: 12162102
  • Service: 15305839
  • Description: 4-Way M Metri-Pack 150 Series, Sealed (BK)

Terminal Part Information

  • Terminal/Tray: 12048074/2
  • Core/Insulation Crimp: 2/1
  • Release Tool/Test Probe: 12094429/J-35616-2A (GY)

Terminal Part Information

  • Terminal/Tray: 12045773/2
  • Core/Insulation Crimp: 2/1
  • Release Tool/Test Probe: 12094429/J-35616-3 (GY)

X123 I/P Harness to the Grille Lamp Jumper Harness (6J3)

Pin

Wire

Circuit

Function

Pin

Wire

Circuit

Function

A

1 L-BU

6837

Upfitter Provision

A

1 L-BU

6837

Upfitter Provision

B

1 L-GN

6836

Upfitter Provision

B

1 L-GN

6836

Upfitter Provision

C

1 GY

6838

Front Emergency Flasher Control

C

1 GY

6838

Front Emergency Flasher Control

D

1 TN

6835

Front Emergency Lamp Supply Voltage

D

1 TN

6835

Front Emergency Lamp Supply Voltage

X141 Forward Lamp Harness to Left Front Headlamp Assembly Harness


Object Number: 646412  Size: CH

Object Number: 893439  Size: CH

Connector Part Information

  • OEM: 13521463
  • Service: See Catalog
  • Description: 5-Way F GT 280 Series, Sealed (BK)

Connector Part Information

  • OEM: 15326647
  • Service: See Catalog
  • Description: 5-Way M GT 280 Series, Sealed (BK)

Terminal Part Information

  • Terminal/Tray: 15304719/19
  • Core/Insulation Crimp: E/5
  • Release Tool/Test Probe: 15315247/J-35616-4A (PU)

Terminal Part Information

  • Terminal/Tray: 15304731/19
  • Core/Insulation Crimp: C/5
  • Release Tool/Test Probe: 15315247/J-35616-5 (PU)

X141 Forward Lamp Harness to Left Front Headlamp Assembly Harness

Pin

Wire

Circuit

Function

Pin

Wire

Circuit

Function

A

0.5 PU

709

Left Park Lamp Supply Voltage

A

0.8 RD

709

Left Park Lamp Supply Voltage

B

0.5 L-BU/WH

1314

Left Front Turn Signal Lamp Supply Voltage

B

0.8 YE

1314

Left Front Turn Signal Lamp Supply Voltage

C

0.5 D-GN/WH

711

Left Headlamp High Beam Supply Voltage

C

0.8 BU

711

Left Headlamp High Beam Supply Voltage

D

0.8 YE

712

Left Headlamp Low Beam Supply Voltage

D

0.8 GN

712

Left Headlamp Low Beam Supply Voltage

E

0.8 BK

1350

Ground

E

0.8 BK

1350

Ground

X142 Forward Lamp Harness to Right Front Headlamp Assembly Harness


Object Number: 646412  Size: CH

Object Number: 893439  Size: CH

Connector Part Information

  • OEM: 13521463
  • Service: See Catalog
  • Description: 5-Way F GT 280 Sealed (BK)

Connector Part Information

  • OEM: 15326647
  • Service: See Catalog
  • Description: 5-Way M GT 280 Series, Sealed (BK)

Terminal Part Information

  • Terminal/Tray: 15304719/19
  • Core/Insulation Crimp: E/5
  • Release Tool/Test Probe: 15315247/J-35616-4A (PU)

Terminal Part Information

  • Terminal/Tray: 15304731/19
  • Core/Insulation Crimp: C/5
  • Release Tool/Test Probe: 15315247/J-35616-5 (PU)

X142 Forward Lamp Harness to Right Front Headlamp Assembly Harness

Pin

Wire

Circuit

Function

Pin

Wire

Circuit

Function

A

0.5 BN/WH

309

Right Park Lamp Supply Voltage

A

0.8 RD

309

Right Park Lamp Supply Voltage

B

0.5 D-BU/WH

1315

Right Front Turn Signal Lamp Supply Voltage

B

0.8 YE

1315

Right Front Turn Signal Lamp Supply Voltage

C

0.5 L-GN/BK

311

Right Headlamp High Beam Supply Voltage

C

0.8 BU

311

Right Headlamp High Beam Supply Voltage

D

0.5 TN/WH

312

Right Headlamp Low Beam Supply Voltage

D

0.8 GN

312

Right Headlamp Low Beam Supply Voltage

E

0.8 BK

1250

Ground

E

0.8 BK

1250

Ground

X200 Body Harness to I/P Harness


Object Number: 1538795  Size: CH

Object Number: 851471  Size: CH

Connector Part Information

  • OEM: 15448130
  • Service: 89046970
  • Description: 40-Way F GT 150 280 Series (L-GY)

Connector Part Information

  • OEM: 15475870
  • Service: 88988616
  • Description: 40-Way M GT 150 280 Series (L-GY)

Terminal Part Information

  • Terminal/Tray: 12191812/19
  • Core/Insulation Crimp: E/C
  • Release Tool/Test Probe: 15315247/J-35616-2A (GY)

Terminal Part Information

  • Terminal/Tray: 15304702/19
  • Core/Insulation Crimp: E/C
  • Release Tool/Test Probe: 15315247/J-35616-3 (GY)

X200 Body Harness to I/P Harness

Pin

Wire

Circuit

Function

Pin

Wire

Circuit

Function

A1

0.35 BARE

814

Drain Wire (U2K)

A1

0.35 BARE

814

Drain Wire (U2K)

A2

0.35 TN

707

RAP Relay Coil Supply Voltage

A2

0.35 TN

707

RAP Relay Coil Supply Voltage

A3

2 GY

120

Fuel Pump Supply Voltage

A3

2 GY

120

Fuel Pump Supply Voltage

A4

0.8 PU

709

Left Park Lamp Supply Voltage

A4

0.8 PU

709

Left Park Lamp Supply Voltage

A5

0.8 D-GN

117

Right Front Speaker Output (-) (UW6)

A5

0.8 D-GN

117

Right Front Speaker Output (-) (UW6)

0.5 L-GN/BK

1948

Right Front Low Level Audio Signal (-) (U87, UQ3)

0.8 D-GN

117

Right Front Low Level Audio Signal (-) (U87, UQ3)

A6

0.8 L-GN

200

Right Front Speaker Output (+) (UW6)

A6

0.8 L-GN

200

Right Front Speaker Output (+) (UW6)

0.5 L-GN

512

Right Front Low Level Audio Signal (+) (U87, UQ3)

0.8 L-GN

200

Right Front Low Level Audio Signal (+) (U87, UQ3)

A7

0.5 L-BU

1320

CHMSL Supply Voltage

A7

0.5 L-BU

1320

CHMSL Supply Voltage

A8

0.5 YE

643

Accessory Voltage (9C1, 9C3)

A8

0.5 YE

643

Accessory Voltage (9C1, 9C3)

B1

0.35 BN/WH

367

Left Audio Signal (+) (U2K)

B1

0.35 BN/WH

367

Left Audio Signal (+) (U2K)

B2

0.35 D-GN

7007

Left Audio Signal (-) (U2K)

B2

0.35 D-GN

7007

Left Audio Signal (-) (U2K)

B3

0.35 GY

2709

5-Volt Reference 1

B3

0.35 GY

2709

5-Volt Reference 1

B4

0.35 D-GN

890

Fuel Tank Pressure Sensor Signal

B4

0.35 D-GN

890

Fuel Tank Pressure Sensor Signal

B5

0.35 TN

2759

Low Reference

B5

0.35 TN

2759

Low Reference

B6

0.35 PU

30

Fuel Level Sensor Signal

B6

0.35 PU

30

Fuel Level Sensor Signal

B7

0.35 WH

1310

EVAP Canister Vent Solenoid Control

B7

0.35 WH

1310

EVAP Canister Vent Solenoid Control

B8

--

--

Not Used

B8

--

--

Not Used

B9

0.35 OG

5748

Radio Audio Mute Signal (U87, UQ3)

B9

0.35 OG

5748

Radio Audio Mute Signal (U87, UQ3)

B10

BN/WH

309

Right Park Lamp Supply Voltage

B10

BN/WH

309

Right Park Lamp Supply Voltage

B11

YE

354

Discriminating Sensor - Left - Signal

B11

YE

354

Discriminating Sensor - Left - Signal

B12

TN/OG

5045

Discriminating Sensor - Left - Low Reference

B12

TN/OG

5045

Discriminating Sensor - Left - Low Reference

C1

0.35 GY/BK

7008

Right Audio Signal (-) (U2K)

C1

0.35 GY/BK

7008

Right Audio Signal (-) (U2K)

C2

0.35 D-GN/WH

368

Right Audio Signal (+) (U2K)

C2

0.35 D-GN/WH

368

Right Audio Signal (+) (U2K)

C3-C7

--

--

Not Used

C3-C7

--

--

Not Used

C8

0.8 L-BU

115

Right Rear Speaker Output (-) (UW6)

C8

0.8 L-BU

115

Right Rear Speaker Output (-) (UW6)

0.5 TN

1946

Right Rear Low Level Audio Signal (-) (U87, UQ3)

Right Rear Low Level Audio Signal (-) (U87, UQ3)

L-BU

0.8 115

Right Rear Speaker Output (-) (9C1, 9C3 w/o WX7)

0.8 L-BU

115

Right Rear Speaker Output (-) (9C1, 9C3 w/o WX7)

Right Front Speaker Output (-) (9C1, 9C3, WX7)

Right Front Speaker Output (-) (9C1, 9C3, WX7)

C9

0.8 D-BU

46

Right Rear Speaker Output (+) (UW6)

C9

0.8 D-BU

46

Right Rear Speaker Output (+) (UW6)

0.5 D-BU

546

Right Rear Low Level Audio Signal (+) (U87, UQ3)

Right Rear Low Level Audio Signal (+) (U87, UQ3)

0.8 D-BU

46

Right Rear Speaker Output (+) (9C1, 9C3, w/o WX7)

0.8 D-BU

46

Right Rear Speaker Output (+) (9C1, 9C3, w/o WX7)

Right Front Speaker Output (+) (9C1, 9C3, WX7)

Right Front Speaker Output (+) (9C1, 9C3, WX7)

C10

0.35 D-GN

5060

Low Speed GMLAN Serial Data

C10

0.35 D-GN

5060

Low Speed GMLAN Serial Data

C11

0.35 D-GN

1409

Discriminating Sensor - Right - Signal

C11

0.35 D-GN

1409

Discriminating Sensor - Right - Signal

C12

0.35 GY

5600

Discriminating Sensor - Right - Low Reference

C12

0.35 GY

5600

Discriminating Sensor - Right - Low Reference

D1

0.8 D-GN

19

Right Rear Stop/Turn Lamp Supply Voltage (9C1, 9C3)

D1

0.8 D-GN

19

Right Rear Stop/Turn Lamp Supply Voltage (9C1, 9C3)

D2

--

--

Not Used

D2

--

--

Not Used

D3

0.5 PK

5165

Antenna 14V Switched Supply Voltage

D3

0.35 PK

5165

Antenna 14V Switched Supply Voltage

0.5 PK

5165

Antenna 14V Switched Supply Voltage (UQ3)

D4

0.35 PK

1139

Ignition 1 Voltage

D4

0.35 PK

1139

Ignition 1 Voltage

D5

0.5 OG

267

Heated Mirror Element Supply Voltage (DK2)

D5

0.5 OG

267

Heated Mirror Element Supply Voltage (DK2)

0.5 OG

267

Heated Mirror Element Supply Voltage (DK2)

D6

3 BK

293

Rear Defog Element Supply Voltage (Sedan)

D6

3 PU

293

Rear Defog Element Supply Voltage

D7-D8

--

--

Not Used

D7-D8

--

--

Not Used

X201 Steering Column Harness to I/P Harness


Object Number: 623046  Size: CH

Object Number: 800517  Size: CH

Connector Part Information

  • OEM: 15326931
  • Service: 15306309
  • Description: 10-Way F GT 280 Series (BK)

Connector Part Information

  • OEM: 15326935
  • Service: 15306305
  • Description: 10-Way M GT 280 Series (BK)

Terminal Part Information

  • Terminal/Tray: 15304711/8
  • Core/Insulation Crimp: E/A
  • Release Tool/Test Probe: 15315247/J-35616-4A (PU)

Terminal Part Information

  • Terminal/Tray: 15304722/8
  • Core/Insulation Crimp: E/C
  • Release Tool/Test Probe: 15315247/J-35616-5 (PU)

X201 Steering Column Harness to I/P Harness

Pin

Wire

Circuit

Function

Pin

Wire

Circuit

Function

A

0.35 RD/WH

1040

Battery Positive Voltage

A

0.35 RD/WH

1040

Battery Positive Voltage

0.35 RD/WH

1040

Battery Positive Voltage

B

0.35 PU/WH

7005

LED Dimming Supply

B

0.35 PU/WH

7005

LED Dimming Supply

C

0.35 PU/WH

1630

Steering Column Key Cylinder Lock Solenoid Control (Floor Shifter)

C

0.35 PU/WH

1630

Steering Column Key Cylinder Lock Solenoid Control (Floor Shifter)

D

0.35 D-GN/WH

7158

Cruise Control Indicator Dimming Signal

D

0.35 D-GN/WH

7158

Cruise Control Indicator Dimming Signal

E

0.35 BK

1450

Ground

E

0.5 BK

1450

Ground

0.5 BK

1450

Ground (without Floor Shifter)

0.35 BK

1450

Ground (with Floor Shifter)

F

0.35 D-GN

5060

Low Speed GMLAN Serial Data

F

0.35 D-GN

5060

Low Speed GMLAN Serial Data

G

0.35 TN

28

Horn Relay Control

G

0.35 TN

28

Horn Relay Control

H-J

--

--

Not Used

H-J

--

--

Not Used

K

0.35 BK/WH

1551

Ground

K

0.5 BK/WH

1551

Ground

X203 I/P Harness to Body Harness


Object Number: 1538795  Size: CH

Object Number: 655855  Size: CH

Connector Part Information

  • OEM: 15448130
  • Service: See Catalog
  • Description: 40-Way F GT 150 280 Series (L-GY)

Connector Part Information

  • OEM: 15475870
  • Service: 88988616
  • Description: 40-Way M GT 150 280 Series (L-GY)

Terminal Part Information

  • Pins: A1, A2, A7, B1-B10, C4-C9
  • Terminal/Tray: 12191812/19
  • Core/Insulation Crimp: Pins: E/C
  • Release Tool/Test Probe: 15315247/J-35616-2A (GY)
  • Pins: A4, A5
  • Terminal/Tray: 15304711/8
  • Core/Insulation Crimp: Pins: E/A
  • Release Tool/Test Probe: 15315247/J-35616-4A (PU)
  • Pins: A6, D3, D4
  • Terminal/Tray: 15304711/8
  • Core/Insulation Crimp: Pins: 2/A
  • Release Tool/Test Probe: 15315247/J-35616-4A (PU)
  • Pins: D5 (9C1/9C3), D6 (9C1/9C3)
  • Terminal/Tray: 15304711/8
  • Core/Insulation Crimp: Pins: E/A
  • Release Tool/Test Probe: 15315247/J-35616-4A (PU)
  • Pins: D5 (without 9C1/9C3), D6 (without 9C1/9C3)
  • Terminal/Tray: 15304711/8
  • Core/Insulation Crimp: Pins: 2/A
  • Release Tool/Test Probe: 15315247/J-35616-4A (PU)

Terminal Part Information

  • Pins: A1, A7, B1-B10, C4-C8
  • Terminal/Tray: 15304702/19
  • Core/Insulation Crimp: E/C
  • Release Tool/Test Probe: 15315247/J-35616-3 (GY)
  • Pins: A4, A5, D3, D5
  • Terminal/Tray: 15304722/8
  • Core/Insulation Crimp: E/C
  • Release Tool/Test Probe: 15315247/J-35616-5 (PU)
  • Pins: A6, D5, D6
  • Terminal/Tray: 15304724/8
  • Core/Insulation Crimp: 2/A
  • Release Tool/Test Probe: 15315247/J-35616-5 (PU)

X203 I/P Harness to Body Harness

Pin

Wire

Circuit

Function

Pin

Wire

Circuit

Function

A1

0.35 D-GN/WH

1135

A/T Shift Lock Control Solenoid Supply Voltage (Floor Shifter)

A1

0.35 D-GN/WH

1135

A/T Shift Lock Control Solenoid Supply Voltage (Floor Shifter)

A2

0.8 YE

18

Left Rear Stop/Turn Lamp Supply Voltage (9C1/9C3)

A2

0.8 YE

18

Left Rear Stop/Turn Lamp Supply Voltage (9C1/9C3)

A3

--

--

Not Used

A3

--

--

Not Used

A4

0.35 TN/BK

2500

High Speed GMLAN Serial Data Bus +

A4

0.35 TN/BK

2500

High Speed GMLAN Serial Data Bus +

0.35 TN/BK

2500

High Speed GMLAN Serial Data Bus +

0.35 TN/BK

2500

High Speed GMLAN Serial Data Bus +

A5

0.35 TN

2501

High Speed GMLAN Serial Data Bus -

A5

0.35 TN

2501

High Speed GMLAN Serial Data Bus -

0.35 TN

2501

High Speed GMLAN Serial Data Bus -

0.35 TN

2501

High Speed GMLAN Serial Data Bus -

A6

0.8 OG

1732

Inadvertent Power Courtesy Lamp

A6

0.8 OG

1732

Inadvertent Power Courtesy Lamp

A7

0.35 BK/WH

1551

Ground (JL4)

A7

0.35 BK/WH

1551

Ground (JL4)

A8

--

--

Not Used

A8

--

--

Not Used

B1

0.35 L-BU

1405

Remote Playback Device Audio Common Signal (without 9C1/9C3)

B1

0.35 L-BU

1405

Remote Playback Device Audio Common Signal (without 9C1/9C3)

0.35 OG

5186

Left Trailer Turn Signal Lamp (with 9C1/9C3)

0.35 OG

5186

Left Trailer Turn Signal Lamp (with 9C1/9C3)

B2

0.35 OG/BK

1406

Remote Playback Device Left Audio Signal (without 9C1/9C3)

B2

0.35 OG/BK

1406

Remote Playback Device Left Audio Signal (without 9C1/9C3)

0.35 YE

5187

Right Trailer Turn Signal Lamp (with 9C1/9C3)

0.35 YE

5187

Right Trailer Turn Signal Lamp (with 9C1/9C3)

B3

0.35 BARE

813

Drain Wire (without 9C1/9C3)

B3

0.35 BARE

813

Drain Wire (without 9C1/9C3)

B4

0.35 L-GN

6432

CAN Bus Low Serial Data (JL4)

B4

0.35 L-GN

6432

CAN Bus Low Serial Data (JL4)

B5

0.35 GY/BK

1337

12-Volt Reference (JL4)

B5

0.35 GY/BK

1337

12-Volt Reference (JL4)

B6

0.35 PU/WH

1630

Steering Column Key Cylinder Lock Solenoid Control (Shifter)

B6

0.35 PU/WH

1630

Steering Column Key Cylinder Lock Solenoid Control (Shifter)

B7

0.5 BN

882

Right Rear Wheel Speed Sensor Signal (JL9)

B7

0.5 BN

882

Right Rear Wheel Speed Sensor Signal (JL9)

B8

0.5 WH

883

Right Rear Wheel Speed Sensor Low Reference (JL9)

B8

0.5 WH

883

Right Rear Wheel Speed Sensor Low Reference (JL9)

B9

0.5 TN

884

Left Rear Wheel Speed Sensor Signal (JL9)

B9

0.5 TN

884

Left Rear Wheel Speed Sensor Signal (JL9)

B10

0.5 OG

885

Left Rear Wheel Speed Sensor Low Reference (JL9)

B10

0.5 OG

885

Left Rear Wheel Speed Sensor Low Reference (JL9)

B11-B12

--

--

Not Used

B11-B12

--

--

Not Used

C1-C3

--

--

Not Used

C1-C3

--

--

Not Used

C4

0.35 TN

6433

CAN Bus High Serial Data (JL4)

C4

0.35 TN

6433

CAN Bus High Serial Data (JL4)

C5

0.8 YE

116

Left Rear Speaker Output (-) (UQ3)

C5

0.5 BN

1999

Left Rear Low Level Audio Signal (-) (UQ3)

0.8 YE

116

Left Rear Speaker Output (-) (UW6)

0.5 YE

116

Left Rear Speaker Output (-) (UW6)

C6

0.8 BN

199

Left Rear Speaker Output (+) (UW6)

C6

0.5 BN

199

Left Rear Speaker Output (+) (UW6)

0.8 BN

199

Left Rear Speaker Output (+) (UQ3)

0.5 BN/WH

599

Left Rear Low Level Audio Signal (+) (UQ3)

C7

0.5 RD/WH

2340

Battery Positive Voltage

C7

0.5 RD/WH

2340

Battery Positive Voltage (UE1)

0.5 RD/WH

2340

Battery Positive Voltage (UG1)

0.5 RD/WH

2340

Battery Positive Voltage (UE1/UG1)

C8

0.35 TN/WH

6433

CAN Bus High Serial Data (JL4)

C8

0.35 TN/WH

6433

CAN Bus High Serial Data (JL4)

C9

0.35 L-GN/BK

6432

CAN Bus Low Serial Data (JL4)

C9

0.35 L-GN/BK

6432

CAN Bus Low Serial Data (JL4)

C10-C12

--

--

Not Used

C10-C12

--

--

Not Used

D1-D2

--

--

Not Used

D1-D2

--

--

Not Used

D3

0.8 GY

118

Left Front Speaker Output (-) (UW6)

D3

0.5 WH

118

Left Front Speaker Output (-) (UW6)

0.8 GY

118

Left Front Speaker Output (-) (UQ3)

0.5 D-GN

1947

Left Front Low Level Audio Signal (-) (UQ3)

D4

0.8 TN

201

Left Front Speaker Output (+) (UW6)

D4

0.5 TN

201

Left Front Speaker Output (+) (UW6)

0.8 TN

201

Left Front Speaker Output (+) (UQ3)

0.5 TN

511

Left Front Low Level Audio Signal (+) (UQ3)

D5

0.5 YE

18

Right Rear Stop/Turn Lamp Supply Voltage (without 9C1/9C3)

D5

0.8 YE

18

Right Rear Stop/Turn Lamp Supply Voltage (without 9C1/9C3)

0.8 YE

18

Right Rear Stop/Turn Lamp Supply Voltage (with 9C1/9C3)

0.8 YE

18

Right Rear Stop/Turn Lamp Supply Voltage (with 9C1/9C3)

D6

0.5 D-GN

19

Stop Lamp Supply Voltage/Stop Lamp Switch Signal (without 9C1/9C3)

D6

0.8 D-GN

19

Stop Lamp Supply Voltage/Stop Lamp Switch Signal (without 9C1/9C3)

0.8 D-GN

19

Stop Lamp Supply Voltage/Stop Lamp Switch Signal (with 9C1/9C3)

0.8 D-GN

19

Stop Lamp Supply Voltage/Stop Lamp Switch Signal (with 9C1/9C3)

D7-D8

--

--

Not Used

D7-D8

--

--

Not Used

X208 SEO Auxiliary Harness to Body Harness (9C1, 9C3)


Object Number: 493694  Size: CH

Object Number: 768090  Size: CH

Connector Part Information

  • OEM: 12129939
  • Service: 12129939
  • Description: 2-Way F Metri-Pack 630 Series (BK)

Connector Part Information

  • OEM: 12129938
  • Service: 12129938
  • Description: 2-Way M Metri-Pack 630 Series (BK)

Terminal Part Information

  • Terminal/Tray: 12084590/3
  • Core/Insulation Crimp: B/G
  • Release Tool/Test Probe: 12094430/J-35616-42 (RD)

Terminal Part Information

  • Terminal/Tray: 12066493/3
  • Core/Insulation Crimp: B/G
  • Release Tool/Test Probe: 12094430/J-35616-43 (RD)

X208 SEO Auxiliary Harness to Body Harness (9C1, 9C3)

Pin

Wire

Circuit

Function

Pin

Wire

Circuit

Function

A

--

--

Not Used

A

5 L-BU

6822

Upfitter Defined Exterior Lamp Supply #1 (6F5)

B

--

--

Not Used

B

5 PK

6823

Upfitter Defined Exterior Lamp Supply #2 (6F5)

X210 I/P Harness to HVAC Harness


Object Number: 695495  Size: CH

Object Number: 646366  Size: CH

Connector Part Information

  • OEM: 15326870
  • Service: 88953160
  • Description: 2-Way F GT 280 Series (BK)

Connector Part Information

  • OEM: 15326874
  • Service: 15306379
  • Description: 2-Way M GT 280 Series (BK)

Terminal Part Information

  • Terminal/Tray: 15304713/19
  • Core/Insulation Crimp: F/D
  • Release Tool/Test Probe: 15315247/J-35616-4A (PU)

Terminal Part Information

  • Terminal/Tray: 15304724/8
  • Core/Insulation Crimp: A/D
  • Release Tool/Test Probe: 15315247/J-35616-5 (PU)

X210 I/P Harness to HVAC Harness

Pin

Wire

Circuit

Function

Pin

Wire

Circuit

Function

A

3 RD/BK

442

Battery Positive Voltage

A

3 RD

442

Battery Positive Voltage

B

3 BK

150

Ground

B

3 BK

150

Ground

X223 Body Harness to Body Harness (9C1, 9C3)


Object Number: 82383  Size: CH

Object Number: 35441  Size: CH

Connector Part Information

  • OEM: 12047662
  • Service: 12085535
  • Description: 2-Way F Metri-Pack 150 Series (BK)

Connector Part Information

  • OEM: 12047663
  • Service: 12085481
  • Description: 2-Way M Metri-Pack 150 Series (BK)

Terminal Part Information

  • Terminal/Tray: 12047767/2
  • Core/Insulation Crimp: E/A
  • Release Tool/Test Probe: 12094429/J-35616-2A (GY)

Terminal Part Information

  • Terminal/Tray: 12047581/2
  • Core/Insulation Crimp: E/A
  • Release Tool/Test Probe: 12094429/J-35616-3 (GY)

X223 Body Harness to Body Harness (9C1, 9C3)

Pin

Wire

Circuit

Function

Pin

Wire

Circuit

Function

A

0.8 YE

18

Left Rear Stop/Turn Lamp Supply Voltage

A

0.8 YE

18

Left Rear Stop/Turn Lamp Supply Voltage

B

0.8 D-GN

19

Right Rear Stop/Turn Lamp Supply Voltage

B

0.8 D-GN

19

Right Rear Stop/Turn Lamp Supply Voltage

X250 SIR Coil to the Body Harness


Object Number: 594473  Size: CH

Object Number: 684931  Size: CH

Connector Part Information

  • OEM: 15336479
  • Service: 15336479
  • Description: 4-Way F Metri-Pack 280 Series w/Shorting Clip (YE)

Connector Part Information

  • OEM: 15336476
  • Service: 88987998
  • Description: 4-Way M Metri-Pack 280 Series (YE)

Terminal Part Information

  • Terminal/Tray: 12176667/ See Terminal Repair Kit
  • Core/Insulation Crimp: See Terminal Repair Kit
  • Release Tool/Test Probe: See Terminal Repair Kit

Terminal Part Information

  • Terminal/Tray: 12034047/2
  • Core/Insulation Crimp: E/A
  • Release Tool/Test Probe: 12094430/J-35616-5 (PU)

X250 SIR Coil to the Body Harness

Pin

Wire

Circuit

Function

Pin

Wire

Circuit

Function

A1

0.5 TN

3021

Steering Wheel Module - Stage 1 - High Control

A1

0.35 TN

3021

Steering Wheel Module - Stage 1 - High Control

A2

0.5 BN

3020

Steering Wheel Module - Stage 1 - Low Control

A2

0.35 BN

3020

Steering Wheel Module - Stage 1 - Low Control

B1

0.5 WH

3023

Steering Wheel Module - Stage 2 - High Control

B1

0.35 WH

3023

Steering Wheel Module - Stage 2 - High Control

B2

0.5 PK

3022

Steering Wheel Module - Stage 2 - Low Control

B2

0.35 PK

3022

Steering Wheel Module - Stage 2 - Low Control

X266 I/P Harness to I/P Harness (6J4)


Object Number: 439818  Size: CH

Object Number: 611495  Size: CH

Connector Part Information

  • OEM: 12047682
  • Service: 12101850
  • Description: 1-Way F Metri-Pack 150 Series (BK)

Connector Part Information

  • OEM: 12047683
  • Service: 12101828
  • Description: 1-Way M Metri-Pack 150 Series (BK)

Terminal Part Information

  • Terminal/Tray: 12064971/5
  • Core/Insulation Crimp: E/C
  • Release Tool/Test Probe: 12094429/J-35616-2A (GY)

Terminal Part Information

  • Terminal/Tray: 12047581/2
  • Core/Insulation Crimp: E/C
  • Release Tool/Test Probe: 12094429/J-35616-3 (GY)

X266 I/P Harness to I/P Harness (6J4)

Pin

Wire

Circuit

Function

Pin

Wire

Circuit

Function

A

0.35 TN

28

Horn Relay Control

A

0.35 TN

28

Horn Relay Control

X267 I/P Harness to I/P Harness (9C1, 9C3, without WX7)


Object Number: 62463  Size: CH

Object Number: 73217  Size: CH

Connector Part Information

  • OEM: 12064766
  • Service: 12101875
  • Description: 8-Way F Metri-Pack 150 Series (BU)

Connector Part Information

  • OEM: 12064767
  • Service: See Catalog
  • Description: 8-Way M Metri-Pack 150 Series (BU)

Terminal Part Information

  • Terminal/Tray: 12047767/2
  • Core/Insulation Crimp: E/A
  • Release Tool/Test Probe: 12094429/J-35616-2A (GY)

Terminal Part Information

  • Terminal/Tray: 12047581/2
  • Core/Insulation Crimp: E/A
  • Release Tool/Test Probe: 12094429/J-35616-3 (GY)

X267 I/P Harness to I/P Harness (9C1, 9C3, without WX7)

Pin

Wire

Circuit

Function

Pin

Wire

Circuit

Function

A

0.8 GY

118

Left Front Speaker Output (-)

A

0.8 GY

118

Left Front Speaker Output (-)

B

0.8 TN

201

Left Front Speaker Output (+)

B

0.8 TN

201

Left Front Speaker Output (+)

C

0.8 D-GN

117

Right Front Speaker Output (-)

C

0.8 D-GN

117

Right Front Speaker Output (-)

D

0.8 L-GN

200

Right Front Speaker Output (+)

D

0.8 L-GN

200

Right Front Speaker Output (+)

E

0.8 YE

116

Left Rear Speaker Output (-)

E

0.8 YE

116

Left Rear Speaker Output (-)

F

0.8 BN

199

Left Rear Speaker Output (+)

F

0.8 BN

199

Left Rear Speaker Output (+)

G

0.8 L-BU

115

Right Rear Speaker Output (-)

G

0.8 L-BU

115

Right Rear Speaker Output (-)

H

0.8 D-BU

46

Right Rear Speaker Output (+)

H

0.8 D-BU

46

Right Rear Speaker Output (+)

X267A I/P Harness to I/P Harness (9C1, 9C3, with WX7)


Object Number: 62463  Size: CH

Object Number: 73217  Size: CH

Connector Part Information

  • OEM: 12064766
  • Service: 12101875
  • Description: 8-Way F Metri-Pack 150 Series (BU)

Connector Part Information

  • OEM: 12064767
  • Service: See Catalog
  • Description: 8-Way M Metri-Pack 150 Series (BU)

Terminal Part Information

  • Terminal/Tray: 12047767/2
  • Core/Insulation Crimp: E/A
  • Release Tool/Test Probe: 12094429/J-35616-2A (GY)

Terminal Part Information

  • Terminal/Tray: 12047581/2
  • Core/Insulation Crimp: E/A
  • Release Tool/Test Probe: 12094429/J-35616-3 (GY)

X267A I/P Harness to I/P Harness (9C1, 9C3, with WX7)

Pin

Wire

Circuit

Function

Pin

Wire

Circuit

Function

A

0.8 GY

118

Left Front Speaker Output (-)

A

0.8 YE

116

Left Rear Speaker Output (-)

B

0.8 TN

201

Left Front Speaker Output (+)

B

0.8 BN

199

Left Rear Speaker Output (+)

C

0.8 D-GN

117

Right Front Speaker Output (-)

C

0.8 L-BU

115

Right Rear Speaker Output (-)

D

0.8 L-GN

200

Right Front Speaker Output (+)

D

0.8 D-BU

46

Right Rear Speaker Output (+)

E

0.8 YE

116

Left Rear Speaker Output (-)

E-H

--

--

Not Used

F

0.8 BN

199

Left Rear Speaker Output (+)

G

0.8 L-BU

115

Right Rear Speaker Output (-)

H

0.8 D-BU

46

Right Rear Speaker Output (+)

X267B I/P Harness to I/P Harness (9C1, 9C3, with WX7)


Object Number: 62463  Size: CH

Object Number: 73217  Size: CH

Connector Part Information

  • OEM: 12064766
  • Service: 12101875
  • Description: 8-Way F Metri-Pack 150 Series (BU)

Connector Part Information

  • OEM: 12064767
  • Service: See Catalog
  • Description: 8-Way M Metri-Pack 150 Series (BU)

Terminal Part Information

  • Terminal/Tray: 12047767/2
  • Core/Insulation Crimp: E/A
  • Release Tool/Test Probe: 12094429/J-35616-2A (GY)

Terminal Part Information

  • Terminal/Tray: 12047581/2
  • Core/Insulation Crimp: E/A
  • Release Tool/Test Probe: 12094429/J-35616-3 (GY)

X267B I/P Harness to I/P Harness (9C1, 9C3, with WX7)

Pin

Wire

Circuit

Function

Pin

Wire

Circuit

Function

A

0.8 GY

118

Left Front Speaker Output (-)

A

0.8 GY

118

Left Front Speaker Output (-)

B

0.8 TN

201

Left Front Speaker Output (+)

B

0.8 TN

201

Left Front Speaker Output (+)

C

0.8 D-GN

117

Right Front Speaker Output (-)

C

0.8 D-GN

117

Right Front Speaker Output (-)

D

0.8 L-GN

200

Right Front Speaker Output (+)

D

0.8 L-GN

200

Right Front Speaker Output (+)

E

0.8 YE

116

Left Rear Speaker Output (-)

E

0.8 YE

116

Left Rear Speaker Output (-)

F

0.8 BN

199

Left Rear Speaker Output (+)

F

0.8 BN

199

Left Rear Speaker Output (+)

G

0.8 L-BU

115

Right Rear Speaker Output (-)

G

0.8 L-BU

115

Right Rear Speaker Output (-)

H

0.8 D-BU

46

Right Rear Speaker Output (+)

H

0.8 D-BU

46

Right Rear Speaker Output (+)

X275 SIR Coil to Steering Column Harness


Object Number: 62439  Size: CH

Object Number: 62434  Size: CH

Connector Part Information

  • OEM: 12047886
  • Service: 12101822
  • Description: 8-Way F Metri-Pack 150 Series (BK)

Connector Part Information

  • OEM: 12045688
  • Service: 12101827
  • Description: 8-Way M Metri-Pack 150 Series (BK)

Terminal Part Information

  • Terminal/Tray: 12047883/ See Terminal Repair Kit
  • Core/Insulation Crimp: See Terminal Repair Kit
  • Release Tool/Test Probe: See Terminal Repair Kit

Terminal Part Information

  • Terminal/Tray: 12047581/2
  • Core/Insulation Crimp: E/C
  • Release Tool/Test Probe: 12094429/J-35616-3 (GY)

X275 SIR Coil to Steering Column Harness

Pin

Wire

Circuit

Function

Pin

Wire

Circuit

Function

A

0.35 BK

1450

Ground

A

0.35 BK

1450

Ground

B

0.35 TN

28

Horn Relay Control

B

0.35 TN

28

Horn Relay Control

C

0.35 GY

1884

Cruise Control Switch Signal

C

0.35 GY

1884

Cruise Control Switch Signal

D

0.35 D-BU

1796

Steering Wheel Controls Signal

D

0.35 D-BU

1796

Steering Wheel Controls Signal

E

0.35 PU

1375

Steering Wheel Control Supply Voltage

E

0.35 PU

1375

Steering Wheel Control Supply Voltage

F

0.35 PU/WH

7005

LED Dimming Supply

F

0.35 PU/WH

7005

LED Dimming Supply

G

0.35 D-GN/WH

7158

Cruise Control Indicator Dimming Signal

G

0.35 D-GN/WH

7158

Cruise Control Indicator Dimming Signal

H

--

--

Not Used

H

--

--

Not Used

X277 SIR Coil to Steering Wheel Harness


Object Number: 62439  Size: CH

Object Number: 62434  Size: CH

Connector Part Information

  • OEM: 12047886
  • Service: 12101822
  • Description: 8-Way F Metri-Pack 150 Series (BK)

Connector Part Information

  • OEM: 12045688
  • Service: 12101827
  • Description: 8-Way M Metri-Pack 150 Series (BK)

Terminal Part Information

  • Terminal/Tray: 12047883/ See Terminal Repair Kit
  • Core/Insulation Crimp: See Terminal Repair Kit
  • Release Tool/Test Probe: See Terminal Repair Kit

Terminal Part Information

  • Terminal/Tray: 12047581/2
  • Core/Insulation Crimp: E/C
  • Release Tool/Test Probe: 12094429/J-35616-3 (GY)

X277 SIR Coil to Steering Wheel Harness

Pin

Wire

Circuit

Function

Pin

Wire

Circuit

Function

A

0.35 BK

1450

Ground

A

0.35 BK

1450

Ground

B

0.35 TN

28

Horn Relay Control

B

0.35 TN

28

Horn Relay Control

C

0.35 GY

1884

Cruise Control Switch Signal

C

0.35 GY

1884

Cruise Control Switch Signal

D

0.35 D-BU

1796

Steering Wheel Controls Signal

D

0.35 D-BU

1796

Steering Wheel Controls Signal

E

0.35 PU

1375

Steering Wheel Control Supply Voltage

E

0.35 PU

1375

Steering Wheel Control Supply Voltage

F

0.35 D-BU/WH

7005

LED Dimming Supply

F

0.35 PU/WH

7005

LED Dimming Supply

G

0.35 D-GN/WH

7158

Cruise Control Indicator Dimming Signal

G

0.35 D-GN/WH

7158

Cruise Control Indicator Dimming Signal

H

--

--

Not Used

H

--

--

Not Used

X278 Inflatable Restraint I/P Module Jumper Harness to the Body Harness


Object Number: 594473  Size: CH

Object Number: 684931  Size: CH

Connector Part Information

  • OEM: 15336479
  • Service: 15306186
  • Description: 4-Way F Metri-Pack 280 Series w/Shorting Clip (YE)

Connector Part Information

  • OEM: 15336476
  • Service: 15336476
  • Description: 4-Way M Metri-Pack 280 Series (YE)

Terminal Part Information

  • Terminal/Tray: 12176667/ See Terminal Repair Kit
  • Core/Insulation Crimp: See Terminal Repair Kit
  • Release Tool/Test Probe: See Terminal Repair Kit

Terminal Part Information

  • Terminal/Tray: 12034047/2
  • Core/Insulation Crimp: E/A
  • Release Tool/Test Probe: 12094430/J-35616-5 (PU)

X278 Inflatable Restraint I/P Module Jumper Harness to the Body Harness

Pin

Wire

Circuit

Function

Pin

Wire

Circuit

Function

A1

0.35 YE

3025

I/P Module - Stage 1 - High Control

A1

0.35 YE

3025

I/P Module - Stage 1 - High Control

A2

0.35 OG

3024

I/P Module - Stage 1 - Low Control

A2

0.35 OG

3024

I/P Module - Stage 1 - Low Control

B1

0.35 GY

3027

I/P Module - Stage 2 - High Control

B1

0.35 GY

3027

I/P Module - Stage 2 - High Control

B2

0.35 PU

3026

I/P Module - Stage 2 - Low Control

B2

0.35 PU

3026

I/P Module - Stage 2 - Low Control

X297 I/P Harness to Grille Lamp Jumper Harness (9C1, 9C3, 6J3)


Object Number: 40422  Size: CH

Object Number: 40425  Size: CH

Connector Part Information

  • OEM: 12064762
  • Service: 12125665
  • Description: 6-Way F Metri-Pack 150 Series (L-GY)

Connector Part Information

  • OEM: 12064763
  • Service: 12064763
  • Description: 6-Way M Metri-Pack 150 Series (L-GY)

Terminal Part Information

  • Terminal/Tray: 12047767/2
  • Core/Insulation Crimp: E/A
  • Release Tool/Test Probe: 12094429/J-35616-2A (GY)

Terminal Part Information

  • Terminal/Tray: 12041351/2
  • Core/Insulation Crimp: See Terminal Repair Kit
  • Release Tool/Test Probe: See Terminal Repair Kit

X297 I/P Harness to Grille Lamp Jumper Harness (9C1, 9C3, 6J3)

Pin

Wire

Circuit

Function

Pin

Wire

Circuit

Function

A

0.35 D-GN/RD

6820

Exterior Lamp Flasher Signal

A

--

--

Not Used

B

1 L-BU

6837

Siren 1 Supply

B

1 L-BU

6837

Siren 1 Supply

C

1 L-GN

6836

Siren 2 Supply

C

1 L-GN

6836

Siren 2 Supply

D

1 GY

6838

Front Emergency Flasher Control

D

1 GY

6838

Front Emergency Flasher Control

E

1 TN

6835

Front Emergency Lamp Supply Voltage

E

1 TN

6835

Front Emergency Lamp Supply Voltage

F

--

--

Not Used

F

--

--

Not Used

X301 Body Harness to Left Front Door Harness


Object Number: 1243531  Size: CH

Object Number: 1243534  Size: CH

Connector Part Information

  • OEM: 15401211
  • Service: 88953323
  • Description: 40-Way F GT 150, 280 Series (GY)

Connector Part Information

  • OEM: 15401208
  • Service: 88956505
  • Description: 40-Way M GT 150, 280 Series (GY)

Terminal Part Information

  • Pins: A2, A3, A4, A5, A6, A7, D2, D4, D5
  • Terminal/Tray: 15304713/19
  • Core/Insulation Crimp: F/D
  • Release Tool/Test Probe: 15315247/J-35616-4A (PU)
  • Pins: B1, B2, B3, B4, B5, B6, B7, B12, C1, C2, C3, C4, C5, C6, C12,
  • Terminal/Tray: 12191812/19
  • Core/Insulation Crimp: Pins: B1, B2, B3, B5, B6, B7, B12, C1, C2, C3, C5, C6, C12 - E/C
  • Core/Insulation Crimp: Pins: B4, C4 - C/A
  • Release Tool/Test Probe: 15315247/J-35616-2A (GY)
  • Pins: D6, D7
  • Terminal/Tray: 15304711/8
  • Core/Insulation Crimp: 2/A
  • Release Tool/Test Probe: 15315247/J-35616-4A (PU)

Terminal Part Information

  • Pins: A2, A3, A4, A5, A6, A7, D2, D4, D5, D6, D7
  • Terminal/Tray: 15304724/8
  • Core/Insulation Crimp: Pins: A2, A3, A4, A5, A6, A7, D2, D4, D5 - C/D
  • Core/Insulation Crimp: Pins: D6, D7 - 2/A
  • Release Tool/Test Probe: 15315247/J-35616-5 (PU)
  • Pins: B1, B2, B3, B4, B5, B6, B7, B12, C1, C2, C3, C4, C5, C6, C12
  • Terminal/Tray: 15304702/19
  • Core/Insulation Crimp: Pins: B1, B2, B3, B5, B6, B7, B12, C1, C2, C3, C5, C6, C12 - E/4
  • Core/Insulation Crimp: Pins: B4, C4 - 2/4
  • Release Tool/Test Probe: 15315247/J-35616-3 (GY)

X301 Body Harness to Left Front Door Harness

Pin

Wire

Circuit

Function

Pin

Wire

Circuit

Function

A1

--

--

Not Used

A1

--

--

Not Used

A2

3 YE

143

Accessory Voltage

A2

2 YE

143

Accessory Voltage

A3

3 D-BU

1307

Power Window Master Switch Lockout Signal

A3

2 D-BU

1307

Power Window Master Switch Lockout Signal

A4

3 L-BU

166

Power Window Master Switch Right Front Up Signal

A4

2 L-BU

166

Power Window Master Switch Right Front Up Signal

A5

3 TN

167

Power Window Master Switch Right Front Down Signal

A5

2 TN

167

Power Window Master Switch Right Front Down Signal

A6

3 L-GN

170

Power Window Master Switch Right Rear Up Signal

A6

2 L-GN

170

Power Window Master Switch Right Rear Up Signal

A7

3 PU

171

Power Window Master Switch Right Rear Down Signal

A7

2 PU

171

Power Window Master Switch Right Rear Down Signal

A8

--

--

Not Used

A8

--

--

Not Used

B1

0.35 TN/WH

330

Right Mirror Motor Supply Voltage

B1

0.5 TN/WH

330

Right Mirror Motor Supply Voltage

B2

0.35 OG/WH

881

Passenger Mirror Motor Right Control

B2

0.5 OG/WH

881

Passenger Mirror Motor Right Control

B3

0.5 OG

267

Heated Mirror Element Supply Voltage (DK2)

B3

0.5 OG

267

Heated Mirror Element Supply Voltage

B4

1 GY

295

Door Lock Actuator Lock Control

B4

1 GY

295

Door Lock Actuator Lock Control

B5

0.35 OG/BK

781

Driver Door Lock Switch Unlock Signal

B5

0.5 OG/BK

781

Driver Door Lock Switch Unlock Signal

B6

0.35 GY/BK

745

Left Front Door Ajar Switch Signal

B6

0.5 GY/BK

745

Left Front Door Ajar Switch Signal

B7

0.35 PU

1124

Door Lock Key Switch Unlock Signal (without 9C1, 9C3)

B7

0.5 PU

1124

Door Lock Key Switch Unlock Signal (Uplevel)

B8-B11

--

--

Not Used

B8-B11

--

--

Not Used

B12

0.35 YE

2131

Side Impact Sensing Module - Left - Voltage (AJ7, AY1)

B12

0.5 YE

2131

Side Impact Sensing Module - Left - Voltage (AJ7, AY1)

C1

0.35 PU/WH

889

Passenger Mirror Motor Down Control

C1

0.5 PU/WH

889

Passenger Mirror Motor Down Control

C2

0.5 RD/WH

840

Battery Positive Voltage

C2

0.5 RD/WH

840

Battery Positive Voltage

C3

0.5 GY

8

Instrument Panel Lamp Supply Voltage

C3

0.5 GY

8

Instrument Panel Lamp Supply Voltage

C4

1 TN

694

Driver Door Lock Actuator Unlock Control

C4

1 TN

694

Driver Door Lock Actuator Unlock Control

C5

0.35 OG/BK

780

Driver Door Lock Switch Lock Signal

C5

0.5 PK/BK

780

Driver Door Lock Switch Lock Signal

C6

0.35 TN

126

Left Front Door Open Switch Signal

C6

0.5 TN

126

Left Front Door Open Switch Signal

C7-C11

--

--

Not Used

C7-C11

--

--

Not Used

C12

0.35 WH

2132

Side Impact Sensing Module - Left - Signal (AY1)

C12

0.5 WH

2132

Side Impact Sensing Module - Left - Signal (AY1)

D1

--

--

Not Used

D1

--

--

Not Used

D2

3 BK

550

Ground

D2

2 BK

550

Ground

D3

--

--

Not Used

D3

--

--

Not Used

D4

3 D-GN

168

Power Window Master Switch Left Rear Up Signal

D4

2 D-GN

168

Power Window Master Switch Left Rear Up Signal

D5

3 PU

169

Power Window Master Switch Left Rear Down Signal

D5

2 PU

169

Power Window Master Switch Left Rear Down Signal

D6

0.8 GY

118

Left Front Speaker Output (-)

D6

0.8 GY

118

Left Front Speaker Output (-)

0.8 YE

1956

Left Front Speaker Output (-) (UQ3)

D7

0.8 TN

201

Left Front Speaker Output (+)

D7

0.8 TN

201

Left Front Speaker Output (+)

0.8 TN

1856

Left Front Speaker Output (+) (UQ3)

D8

--

--

Not Used

D8

--

--

Not Used

X302 Body Harness to Right Front Door Harness


Object Number: 1243531  Size: CH

Object Number: 1243534  Size: CH

Connector Part Information

  • OEM: 15401211
  • Service: 88953323
  • Description: 40-Way F GT 150, 280 Series (GY)

Connector Part Information

  • OEM: 15401208
  • Service: 88956505
  • Description: 40-Way M GT 150, 280 Series (GY)

Terminal Part Information

  • Pins: A2, A4, A5, D4
  • Terminal/Tray: 15304713/19
  • Core/Insulation Crimp: Pins: A2, A4, A5 - F/D
  • Core/Insulation Crimp: Pins: D4 - 4/4
  • Release Tool/Test Probe: 15315247/J-35616-4A (PU)
  • Pins: B1, B2, B3, B4, B5, B6, B12, C1, C3, C4, C5, C6, C12
  • Terminal/Tray: 12191712/19
  • Core/Insulation Crimp: Pins: B1, B2, B3, B5, B6, B12, C1, C3, C5, C6, C12 - E/C
  • Core/Insulation Crimp: Pins: B4, C4 - C/A
  • Release Tool/Test Probe: 15315247/J-35616-2A (GY)
  • Pins: D2, D6, D7
  • Terminal/Tray: 15304711/8
  • Core/Insulation Crimp: 2/A
  • Release Tool/Test Probe: 15315247/J-35616-4A (PU)

Terminal Part Information

  • Pins: A2, A4, A5, D6, D7
  • Terminal/Tray: 15304724/8
  • Core/Insulation Crimp: Pins: A2, A4, A5 - A/D
  • Core/Insulation Crimp: Pins: D6, D7 - 2/A
  • Release Tool/Test Probe: 15315247/J-35616-5 (PU)
  • Pins: B1, B2, B3, B4, B5, B6, B12, C1, C3, C4, C5, C6, C12
  • Terminal/Tray: 15304702/19
  • Core/Insulation Crimp: Pins: B1, B2, B3, B6, B12, C1, C6, C12 - E/4
  • Core/Insulation Crimp: Pins: B4, B5, C3, C4, C5 - 2/4
  • Release Tool/Test Probe: 15315247/J-35616-3 (GY)
  • Pins: D2
  • Terminal/Tray: 15304722/8
  • Core/Insulation Crimp: E/C
  • Release Tool/Test Probe: 15315247/J-35616-5 (PU)
  • Pins: D6, D7
  • Terminal/Tray: 15304724/8
  • Core/Insulation Crimp: 2/A
  • Release Tool/Test Probe: 15315247/J-35616-5 (PU)

X302 Body Harness to Right Front Door Harness

Pin

Wire

Circuit

Function

Pin

Wire

Circuit

Function

A1

--

--

Not Used

A1

--

--

Not Used

A2

3 YE/BK

143

Accessory Voltage

A2

3 YE

143

Accessory Voltage

A3

--

--

Not Used

A3

--

--

Not Used

A4

3 L-BU

166

Power Window Master Switch Right Front Up Signal

A4

3 L-BU

166

Power Window Master Switch Right Front Up Signal

A5

3 TN

167

Power Window Master Switch Right Front Down Signal

A5

3 TN

167

Power Window Master Switch Right Front Down Signal

A6-A8

--

--

Not Used

A6-A8

--

--

Not Used

B1

0.35 TN/WH

330

Right Mirror Motor Supply Voltage

B1

0.5 TN/WH

330

Right Mirror Motor Supply Voltage

B2

0.35 OG/WH

881

Passenger Mirror Motor Right Control

B2

0.5 OG/WH

881

Passenger Mirror Motor Right Control

B3

0.5 OG

267

Heated Mirror Element Supply Voltage (DK2)

B3

0.5 OG

267

Heated Mirror Element Supply Voltage

B4

1 GY

295

Door Lock Actuator Lock Control

B4

1 GY

295

Door Lock Actuator Lock Control

B5

0.35 D-BU

245

Passenger Door Lock Switch Unlock Signal

B5

1 D-BU

245

Passenger Door Lock Switch Unlock Signal

B6

0.35 TN/WH

746

Right Front Door Ajar Switch Signal

B6

0.5 TN/WH

746

Right Front Door Ajar Switch Signal

B7-B11

--

--

Not Used

B7-B11

--

--

Not Used

B12

0.35 TN

2133

Side Impact Sensing Module - Right - Voltage (AY1)

B12

0.5 TN

2133

Side Impact Sensing Module - Right - Voltage (AY1)

C1

0.35 PU/WH

889

Passenger Mirror Motor Down Control

C1

0.5 PU/WH

889

Passenger Mirror Motor Down Control

C2

--

--

Not Used

C2

--

--

Not Used

C3

0.5 GY

8

Instrument Panel Lamp Supply Voltage

C3

0.5 GY

8

Instrument Panel Lamp Supply Voltage

C4

1 TN

294

Door Lock Actuator Unlock Control

C4

1 TN

294

Door Lock Actuator Unlock Control

C5

0.35 L-BU

244

Passenger Door Lock Switch Lock Signal

C5

1 L-BU

244

Passenger Door Lock Switch Lock Signal

C6

0.35 OG

5922

Passenger Door Open Switch Signal

C6

0.5 OG

5922

Passenger Door Open Switch Signal

C7-C11

--

--

Not Used

C7-C11

--

--

Not Used

C12

0.5 D-GN

2134

Side Impact Sensing Module - Right - Signal (AY1)

C12

0.5 D-GN

2134

Side Impact Sensing Module - Right - Signal (AY1)

D1

--

--

Not Used

D1

--

--

Not Used

D2

0.8 BK

750

Ground

D2

0.5 BK

750

Ground

D3

--

--

Not Used

D3

--

--

Not Used

D4

2 RD/WH

1140

Battery Positive Voltage (AG1, AG2)

D4

--

--

Not Used

D5

--

--

Not Used

D5

--

--

Not Used

D6

0.8 D-GN

117

Right Front Speaker Output (-) (9C1/9C3 without WX7)

D6

0.8 D-GN

117

Right Front Speaker Output (-)

0.8 D-GN

117

Right Front Speaker Output (-) (9C1/9C3 with WX7)

0.8 PU

1952

Right Front Speaker Output (-) (UQ3)

D7

0.8 L-GN

200

Right Front Speaker Output (+) (9C1/9C3 without WX7)

D7

0.8 L-GN

200

Right Front Speaker Output (+)

0.8 L-GN

200

Right Front Speaker Output (+) (9C1/9C3 with WX7)

0.8 L-GN

1852

Right Front Speaker Output (+) (UQ3)

D8

--

--

Not Used

D8

--

--

Not Used

X311 Body Harness to Left Front Seat Harness


Object Number: 813079  Size: CH

Object Number: 813080  Size: CH

Connector Part Information

  • OEM: 15336205
  • Service: 88986267
  • Description: 12-Way F GT 150, 280 Series (BK)

Connector Part Information

  • OEM: 13516626
  • Service: 88986259
  • Description: 12-Way M GT 150, 280 Series (BK)

Terminal Part Information

  • Pins: A, M
  • Terminal/Tray: 15304713/19
  • Core/Insulation Crimp: F/D
  • Release Tool/Test Probe: 15315247/J-35616-4A (PU)
  • Pins: B-D, E, J, K
  • Terminal/Tray: 12191812/19
  • Core/Insulation Crimp: C/A
  • Release Tool/Test Probe: 15315247/J-35616-2A (GY)
  • Pins: G
  • Terminal/Tray: 15304711/8
  • Core/Insulation Crimp: 2/A
  • Release Tool/Test Probe: 15315247/J-35616-4A (PU)

Terminal Part Information

  • Pins: A, F, G, M
  • Terminal/Tray: 15304724/8
  • Core/Insulation Crimp: Pins: A, M - A/D
  • Core/Insulation Crimp: Pins: F, G - 2/A
  • Release Tool/Test Probe: 15315247/J-35616-5 (PU)
  • Pins: B, C, D, E, J, K, L
  • Terminal/Tray: 15304702/19
  • Core/Insulation Crimp: Pins: B, C, E, J, K - E/C
  • Core/Insulation Crimp: Pins: D, L - 2/4
  • Release Tool/Test Probe: 15315247/J-35616-3 (GY)

X311 Body Harness to Left Front Seat Harness

Pin

Wire

Circuit

Function

Pin

Wire

Circuit

Function

A

3 RD/WH

1140

Battery Positive Voltage (AG1, AH8)

A

3 RD/WH

1140

Battery Positive Voltage (AG1, AH8)

B

0.35 D-GN

5016

Seat Belt Switch - Left - Signal

B

0.35 D-GN

5016

Seat Belt Switch - Left - Signal

C

0.35 PK

5057

Low Reference

C

0.35 PK

5057

Low Reference

D

0.8 D-BU

2479

Passenger Heated Seat Element Supply Voltage (KA1)

D

0.8 D-BU

2479

Passenger Heated Seat Element Supply Voltage (KA1)

E

0.35 GY

2434

Passenger Heated Seat Cushion Temperature Sensor Signal (KA1)

E

0.35 GY

2434

Passenger Heated Seat Cushion Temperature Sensor Signal (KA1)

F

1 BK

550

Ground (KA1)

F

1 BK

550

Ground (KA1)

G

1 RD/WH

1440

Battery Positive Voltage (KA1)

G

1 RD/WH

1440

Battery Positive Voltage (KA1)

H

--

--

Not Used

H

--

--

Not Used

J

0.35 PK

2435

Passenger Heated Seat Cushion Temperature Sensor Low Reference (KA1)

J

0.35 PK

2435

Passenger Heated Seat Cushion Temperature Sensor Low Reference (KA1)

K

0.35 D-GN

5060

Low Speed GMLAN Serial Data (KA1)

K

0.35 D-GN

5060

Low Speed GMLAN Serial Data (KA1)

L

0.8 L-BU

2433

Passenger Heated Seat Back Element Control (KA1)

L

0.8 L-BU

2433

Passenger Heated Seat Back Element Control (KA1)

M

3 BK

550

Ground

M

3 BK

550

Ground (AG1, AH5)

X313 Body Harness to Right Front Seat Harness


Object Number: 813079  Size: CH

Object Number: 813080  Size: CH

Connector Part Information

  • OEM: 15336205
  • Service: 88986267
  • Description: 12-Way F GT 150, 280 Series (BK)

Connector Part Information

  • OEM: 15336209
  • Service: 88986259
  • Description: 12-Way M GT 150, 280 Series (BK)

Terminal Part Information

  • Pins: A, M
  • Terminal/Tray: 15304713/19
  • Core/Insulation Crimp: F/D
  • Release Tool/Test Probe: 15315247/J-35616-4A (PU)
  • Pins: B, C, E, H, J, K, L
  • Terminal/Tray: 12191812/19
  • Core/Insulation Crimp: Pins: B, C, E, H, J, K, L - E/C
  • Core/Insulation Crimp: Pins: D - C/A
  • Release Tool/Test Probe: 15315247/J-35616-2A (GY)
  • Pins: F
  • Terminal/Tray: 15304711/8
  • Core/Insulation Crimp: E/A
  • Release Tool/Test Probe: 15315247/J-35616-4A (PU)

Terminal Part Information

  • Pins: A, M
  • Terminal/Tray: 15304724/8
  • Core/Insulation Crimp: A/D
  • Release Tool/Test Probe: 15315247/J-35616-5 (PU)
  • Pins: B, C, D, E, J, K, L
  • Terminal/Tray: 15304702/19
  • Core/Insulation Crimp: Pins: B, C, E, J, K, L - E/C
  • Core/Insulation Crimp: Pins: D - 2/4
  • Release Tool/Test Probe: 15315247/15304702
  • Pins: F
  • Terminal/Tray: 15304722/8
  • Core/Insulation Crimp: E/C
  • Release Tool/Test Probe: 15315247/J-35616-5 (PU)
  • Pins: G
  • Terminal/Tray: 15304724/8
  • Core/Insulation Crimp: 2/A
  • Release Tool/Test Probe: 15315247/J-35616-5 (PU)

X313 Body Harness to Right Front Seat Harness

Pin

Wire

Circuit

Function

Pin

Wire

Circuit

Function

A

3 RD/WH

1140

Battery Positive Voltage

A

3 RD/WH

1140

Battery Positive Voltage (AG2)

B

0.35 OG

1362

Seat Belt Switch - Right - Signal

B

0.35 OG

1362

Seat Belt Switch - Right - Signal

C

0.35 PK

2435

Passenger Heated Seat Cushion Temperature Sensor Low Reference (KA1)

C

0.35 PK

2435

Passenger Heated Seat Cushion Temperature Sensor Low Reference (KA1)

D

0.8 D-BU

2479

Passenger Heated Seat Element Supply Voltage (KA1)

D

0.8 D-BU

2479

Passenger Heated Seat Element Supply Voltage (KA1)

E

0.35 GY

2434

Passenger Heated Seat Cushion Temperature Sensor Signal (KA1)

E

0.35 GY

2434

Passenger Heated Seat Cushion Temperature Sensor Signal (KA1)

F

0.35 PK

5057

Low Reference

F

0.35 PK

5057

Low Reference

0.35 PK

5057

Low Reference

G

0.8 L-BU

2433

Passenger Heated Seat Back Element Control (KA1)

G

0.8 L-BU

2433

Passenger Heated Seat Back Element Control (KA1)

H

0.35 L-BU

5056

Seat Position Sensor - Right - Signal

H

--

--

Not Used

J

0.35 BK/WH

1751

Ground

J

0.35 BK/WH

1751

Ground

K

0.35 D-GN

5060

Low Speed GMLAN Serial Data

K

0.35 D-GN

5060

Low Speed GMLAN Serial Data

L

0.35 RD/WH

1340

Battery Positive Voltage

L

0.35 RD/WH

1340

Battery Positive Voltage

M

3 BK

750

Ground (AG2)

M

3 BK

750

Ground (AG2)

X322 Body Harness to Roof Wiring Provision Harness (9C1, 9C3)


Object Number: 493694  Size: CH

Object Number: 768090  Size: CH

Connector Part Information

  • OEM: 12129939
  • Service: 15306159
  • Description: 2-Way F Metri-Pack 630 Series (BK)

Connector Part Information

  • OEM: 12169938
  • Service: See Catalog
  • Description: 2-Way M Metri-Pack 630 Series (BK)

Terminal Part Information

  • Terminal/Tray: 12084590/3
  • Core/Insulation Crimp: B/G
  • Release Tool/Test Probe: 12094430/J-35616-42 (RD)

Terminal Part Information

  • Terminal/Tray: 12066493/3
  • Core/Insulation Crimp: B/G
  • Release Tool/Test Probe: 12094430/J-35616-43 (RD)

X322 Body Harness to Roof Wiring Provision Harness (9C1, 9C3)

Pin

Wire

Circuit

Function

Pin

Wire

Circuit

Function

A

5 L-BU

6822

Upfitter Defined Exterior Lamp Supply 1 (6F5)

A

5 L-BU

6822

Upfitter Defined Exterior Lamp Supply 1 (6F5)

B

5 PK

6823

Upfitter Defined Exterior Lamp Supply 2 (6F5)

B

5 PK

6823

Upfitter Defined Exterior Lamp Supply 2 (6F5)

X340 Console Harness to Body Harness (without Floor Console)


Object Number: 695495  Size: CH

Object Number: 646366  Size: CH

Connector Part Information

  • OEM: 15326870
  • Service: 88953160
  • Description: 2-Way F GT 280 Series (BK)

Connector Part Information

  • OEM: 15326874
  • Service: 15306379
  • Description: 2-Way M GT 280 Series (BK)

Terminal Part Information

  • Terminal/Tray: 15304711/8
  • Core/Insulation Crimp: 2/A
  • Release Tool/Test Probe: 15315247/J-35616-4A (PU)

Terminal Part Information

  • Terminal/Tray: 15304724/8
  • Core/Insulation Crimp: 2/A
  • Release Tool/Test Probe: 15315247/J-35616-5 (PU)

X340 Console Harness to Body Harness (without Floor Console)

Pin

Wire

Circuit

Function

Pin

Wire

Circuit

Function

A

1 RD/WH

1940

Battery Positive Voltage

A

1 RD/WH

1940

Battery Positive Voltage

B

1 BK

750

Ground

B

1 BK

750

Ground

X340 Console Harness to Body Harness (Floor Console)


Object Number: 695495  Size: CH

Object Number: 646366  Size: CH

Connector Part Information

  • OEM: 15326870
  • Service: 88953160
  • Description: 2-Way F GT 280 Series (BK)

Connector Part Information

  • OEM: 15326874
  • Service: 15306379
  • Description: 2-Way M GT 280 Series (BK)

Terminal Part Information

  • Terminal/Tray: 15304711/8
  • Core/Insulation Crimp: 2/A
  • Release Tool/Test Probe: 15315247/J-35616-4A (PU)

Terminal Part Information

  • Terminal/Tray: 15304724/8
  • Core/Insulation Crimp: 2/A
  • Release Tool/Test Probe: 15315247/J-35616-5 (PU)

X340 Console Harness to Body Harness (Floor Console)

Pin

Wire

Circuit

Function

Pin

Wire

Circuit

Function

A

1 RD/WH

1940

Battery Positive Voltage

A

1 RD/WH

1940

Battery Positive Voltage

B

1 BK

750

Ground

B

1 BK

750

Ground

X355 Body Harness to Left Rear Door Harness


Object Number: 1243551  Size: CH

Object Number: 1243552  Size: CH

Connector Part Information

  • OEM: 15441216
  • Service: 89046932
  • Description: 9-Way F GT 150, 280 Series, Sealed (BK)

Connector Part Information

  • OEM: 15486551
  • Service: 88953404
  • Description: 9-Way M GT 150, 280 Series, Sealed (GY)

Terminal Part Information

  • Pins: A, B, D, E, F,
  • Terminal/Tray: 12191819/8
  • Core/Insulation Crimp: Pins: A, B, E - 2/A
  • Core/Insulation Crimp: Pins: D, F - E/A
  • Release Tool/Test Probe: 15315247/J-35616-2A (GY)
  • Pins: C, G, H
  • Terminal/Tray: 15304720/19
  • Core/Insulation Crimp: 4/5
  • Release Tool/Test Probe: 15315247/J-35616-4A (PU)

Terminal Part Information

  • Pins: A, B, D, E, F
  • Terminal/Tray: 15326269/19
  • Core/Insulation Crimp: Pins: A, D, F - E/4
  • Core/Insulation Crimp: Pins: B, E - E/1
  • Release Tool/Test Probe: 15315247/J-35616-3 (GY)
  • Pins: C, G, H
  • Terminal/Tray: 15304732/8
  • Core/Insulation Crimp: A/5
  • Release Tool/Test Probe: 15315247/J-35616-5 (PU)

X355 Body Harness to Left Rear Door Harness

Pin

Wire

Circuit

Function

Pin

Wire

Circuit

Function

A

0.8 BK

550

Ground

A

0.5 BK

550

Ground

B

1 TN

294

Door Lock Actuator Unlock Control

B

1 TN

294

Door Lock Actuator Unlock Control

C

3 D-BU

1307

Power Window Master Switch Lockout Signal

C

3 D-BU

1307

Power Window Master Switch Lockout Signal

D

0.35 OG

5922

Passenger Door Open Switch Signal

D

0.5 OG

5922

Passenger Door Open Switch Signal

E

1 GY

295

Door Lock Actuator Lock Control

E

1 GY

295

Door Lock Actuator Lock Control

F

0.35 L-BU/BK

747

Left Rear Door Ajar Switch Signal

F

0.5 L-BU/BK

747

Left Rear Door Ajar Switch Signal

G

3 D-GN

168

Power Window Master Switch Left Rear Up Signal

G

3 D-GN

168

Power Window Master Switch Left Rear Up Signal

H

3 PU

169

Power Window Master Switch Left Rear Down Signal

H

3 PU

169

Power Window Master Switch Left Rear Down Signal

J

--

--

Not Used

J

--

--

Not Used

X356 Body Harness to Right Rear Door Harness


Object Number: 1243551  Size: CH

Object Number: 1243552  Size: CH

Connector Part Information

  • OEM: 15441216
  • Service: 89046932
  • Description: 9-Way F GT 150, 280 Series, Sealed (BK)

Connector Part Information

  • OEM: 15486551
  • Service: 88953404
  • Description: 9-Way M GT 150, 280 Series, Sealed (GY)

Terminal Part Information

  • Pins: A, B, D, E, F
  • Terminal/Tray: 12191819/8
  • Core/Insulation Crimp: Pins: A, B, E - 2/A
  • Core/Insulation Crimp: Pins: D, F - E/A
  • Release Tool/Test Probe: 15315247/J-35616-2A (GY)
  • Pins: C, G, H
  • Terminal/Tray: 15304720/19
  • Core/Insulation Crimp: 4/5
  • Release Tool/Test Probe: 15315247/J-35616-4A (PU)

Terminal Part Information

  • Pins: A, B, D, E, F
  • Terminal/Tray: 15326269/19
  • Core/Insulation Crimp: Pins: A, D, F - E/4
  • Core/Insulation Crimp: Pins: B, E - E/1
  • Release Tool/Test Probe: 15315247/J-35616-3 (GY)
  • Pins: C, G, H
  • Terminal/Tray: 15304732/8
  • Core/Insulation Crimp: A/5
  • Release Tool/Test Probe: 15315247/J-35616-5 (PU)

X356 Body Harness to Right Rear Door Harness

Pin

Wire

Circuit

Function

Pin

Wire

Circuit

Function

A

0.8 BK

750

Ground

A

0.5 BK

750

Ground

B

1 TN

294

Door Lock Actuator Unlock Control

B

1 TN

294

Door Lock Actuator Unlock Control

C

3 D-BU

1307

Power Window Master Switch Lockout Signal

C

3 D-BU

1307

Power Window Master Switch Lockout Signal

D

0.35 OG

5922

Passenger Door Open Switch Signal

D

0.5 OG

5922

Passenger Door Open Switch Signal

E

1 GY

295

Door Lock Actuator Lock Control

E

1 GY

295

Door Lock Actuator Lock Control

F

0.35 L-GN/BK

748

Right Rear Door Ajar Switch Signal

F

0.5 L-GN/BK

748

Right Rear Door Ajar Switch Signal

G

3 L-GN

170

Power Window Master Switch Right Rear Up Signal

G

3 L-GN

170

Power Window Master Switch Right Rear Up Signal

H

3 PU

171

Power Window Master Switch Right Rear Down Signal

H

3 PU

171

Power Window Master Switch Right Rear Down Signal

J

--

--

Not Used

J

--

--

Not Used

X360 Body Harness to I/P Harness (9C1, 9C3)


Object Number: 365960  Size: CH

Object Number: 1644503  Size: CH

Connector Part Information

  • OEM: 12160893
  • Service: 15306159
  • Description: 1-Way F MAXI (BK)

Connector Part Information

  • OEM: 12160894
  • Service: 12160894
  • Description: 1-Way M Metri-Pack 800 Series (BK)

Terminal Part Information

  • Terminal/Tray: 12092445/18
  • Core/Insulation Crimp: G/G
  • Release Tool/Test Probe: 12150860/J-35616-44 (YE)

Terminal Part Information

  • Terminal/Tray: 12146940/See Terminal Repair Kit
  • Core/Insulation Crimp: See Terminal Repair Kit
  • Release Tool/Test Probe: See Terminal Repair Kit

X360 Body Harness to I/P Harness (9C1, 9C3)

Pin

Wire

Circuit

Function

Pin

Wire

Circuit

Function

A

8 RD/BK

702

Battery Positive Voltage

A

8 RD/BK

702

Battery Positive Voltage

X362 Body Harness to I/P Harness (9C1, 9C3)


Object Number: 365960  Size: CH

Object Number: 1644503  Size: CH

Connector Part Information

  • OEM: 12160893
  • Service: 15306159
  • Description: 1-Way F MAXI (BK)

Connector Part Information

  • OEM: 12160894
  • Service: See Catalog
  • Description: 1-Way M Metri-Pack 800 (BK)

Terminal Part Information

  • Terminal/Tray: 12092445/18
  • Core/Insulation Crimp: G/G
  • Release Tool/Test Probe: 12150860/J-35616-44 (YE)

Terminal Part Information

  • Terminal/Tray: 12146940/See Terminal Repair Kit
  • Core/Insulation Crimp: See Terminal Repair Kit
  • Release Tool/Test Probe: See Terminal Repair Kit

X362 Body Harness to I/P Harness (9C1, 9C3)

Pin

Wire

Circuit

Function

Pin

Wire

Circuit

Function

A

8 RD/BK

302

Battery Positive Voltage

A

8 RD/BK

302

Battery Positive Voltage

X398 Roof Harness to Sunroof Harness (CF5)


Object Number: 646380  Size: CH

Object Number: 814091  Size: CH

Connector Part Information

  • OEM: 15326900
  • Service: 15306380
  • Description: 6-Way F GT 280 Series (BK)

Connector Part Information

  • OEM: 15326904
  • Service: 88988314
  • Description: 6-Way M GT 280 Series (BK)

Terminal Part Information

  • Terminal/Tray: 15304711/8
  • Core/Insulation Crimp: E/A
  • Release Tool/Test Probe: 15315247/J-35616-4A (PU)

Terminal Part Information

  • Terminal/Tray: 15304722/8
  • Core/Insulation Crimp: E/C
  • Release Tool/Test Probe: 15315247/J-35616-5 (PU)

X398 Roof Harness to Sunroof Harness (CF5)

Pin

Wire

Circuit

Function

Pin

Wire

Circuit

Function

A

0.5 YE

643

Accessory Voltage

A

0.5 YE

643

Accessory Voltage

B

2 BK

550

Ground

B

1 BK

550

Ground

C

0.35 BN

100

Sunroof Switch Open Signal

C

0.5 BN

100

Sunroof Switch Open Signal

D

0.35 OG

110

Sunroof Switch Close Signal

D

0.5 OG

110

Sunroof Switch Close Signal

E

0.35 D-BU

128

Sunroof Switch Low Reference

E

0.5 D-BU

128

Sunroof Switch Low Reference

F

2 RD/WH

3440

Battery Positive Voltage

F

1 RD/WH

3440

Battery Positive Voltage

X401 Rear Body Harness to Left Tail Lamp Harness


Object Number: 684854  Size: CH

Object Number: 396241  Size: CH

Connector Part Information

  • OEM: 12162144
  • Service: 12102741
  • Description: 4-Way F Metri-Pack 150 Series, Sealed (BK)

Connector Part Information

  • OEM: 12162102
  • Service: 15305839
  • Description: 4-Way M Metri-Pack 150 Series, Sealed (BK)

Terminal Part Information

  • Terminal/Tray: 12048074/2
  • Core/Insulation Crimp: E/1
  • Release Tool/Test Probe: 12094429/J-35616-2A (GY)

Terminal Part Information

  • Terminal/Tray: 12045773/2
  • Core/Insulation Crimp: E/1
  • Release Tool/Test Probe: 12094429/J-35616-3 (GY)

X401 Rear Body Harness to Left Tail Lamp Harness

Pin

Wire

Circuit

Function

Pin

Wire

Circuit

Function

A

0.8 PU

709

Left Park Lamp Supply Voltage

A

0.5 L-GN

709

Left Park Lamp Supply Voltage

B

0.8 BK

850

Ground

B

0.5 BK

750

Ground

C

0.5 YE

18

Left Rear Stop/Turn Lamp Supply Voltage

C

0.5 YE

18

Left Rear Stop/Turn Lamp Supply Voltage

D

0.5 L-GN

24

Backup Lamp Supply Voltage

D

0.5 BN

24

Backup Lamp Supply Voltage

X402 Rear Body Harness to Right Tail Lamp Harness


Object Number: 684854  Size: CH

Object Number: 396241  Size: CH

Connector Part Information

  • OEM: 12162144
  • Service: 12102741
  • Description: 4-Way F Metri-Pack 150 Series, Sealed (BK)

Connector Part Information

  • OEM: 12162102
  • Service: 15305839
  • Description: 4-Way M Metri-Pack 150 Series, Sealed (BK)

Terminal Part Information

  • Terminal/Tray: 12048074/2
  • Core/Insulation Crimp: E/1
  • Release Tool/Test Probe: 12094429/J-35616-2A (GY)

Terminal Part Information

  • Terminal/Tray: 12045773/2
  • Core/Insulation Crimp: E/1
  • Release Tool/Test Probe: 12094429/J-35616-3 (GY)

X402 Rear Body Harness to Right Tail Lamp Harness

Pin

Wire

Circuit

Function

Pin

Wire

Circuit

Function

A

0.5 BN/WH

309

Right Park Lamp Supply Voltage

A

0.5 L-GN

309

Right Park Lamp Supply Voltage

B

0.8 BK

850

Ground

B

0.5 BK

750

Ground

C

0.5 D-GN

19

Right Rear Stop/Turn Lamp Supply Voltage

C

0.5 YE

19

Right Rear Stop/Turn Lamp Supply Voltage

D

0.5 L-GN

24

Backup Lamp Supply Voltage

D

0.5 BN

24

Backup Lamp Supply Voltage

X405 Rear Chassis Harness to Body Harness


Object Number: 1219453  Size: CH

Object Number: 623045  Size: CH

Connector Part Information

  • OEM: 12146439
  • Service: 15305883
  • Description: 4-Way F Metri-Pack 150 Series (GY)

Connector Part Information

  • OEM: 15326714
  • Service: 15305991
  • Description: 12-Way M Metri-Pack Mixed Series (GY)

Terminal Part Information

  • Terminal/Tray: 12048074/2
  • Core/Insulation Crimp: E/1
  • Release Tool/Test Probe: 12094429/J-35616-2A (GY)

Connector Part Information

  • OEM: 12176335
  • Service: 15305944
  • Description: 8-Way F Metri-Pack 280 Flex Lock Series (WH)

Terminal Part Information

  • Pins: A, C
  • Terminal/Tray: 12110845/4
  • Core/Insulation Crimp: A/5
  • Release Tool/Test Probe: 15315247/J-35616-4A (PU)
  • Pins: B, D, F, G, H
  • Terminal/Tray: 12110844/4
  • Core/Insulation Crimp: Pins B, F, G, H - E/C
  • Core/Insulation Crimp: Pins D - E/A
  • Release Tool/Test Probe: 15315247/J-35616-4A (PU)

Terminal Part Information

  • Pins: A1, B1, C1, D1
  • Terminal/Tray: 12047581/2
  • Core/Insulation Crimp: E/C
  • Release Tool/Test Probe: 12094429/J-35616-3 (GY)
  • Pins: A3, C3
  • Terminal/Tray: 12084586/4
  • Core/Insulation Crimp: F/G
  • Release Tool/Test Probe: 12094430/J-35616-5 (PU)
  • Pins: B3, D3, F3, G3
  • Terminal/Tray: 12034047/2
  • Core/Insulation Crimp: E/A
  • Release Tool/Test Probe: 12094430/J-35616-5 (PU)
  • Pins: H3
  • Terminal/Tray: 12020116/2
  • Core/Insulation Crimp: C/A
  • Release Tool/Test Probe: 12094430/J-35616-5 (PU)

X405 Rear Chassis Harness to Body Harness

Pin

Wire

Circuit

Function

Pin

Wire

Circuit

Function

A

0.5 BN

882

Right Rear Wheel Speed Sensor Signal

1A

0.5 BN

882

Right Rear Wheel Speed Sensor Signal

B

0.5 WH

883

Right Rear Wheel Speed Sensor Low Reference

1B

0.5 WH

883

Right Rear Wheel Speed Sensor Low Reference

C

0.5 BK

884

Left Rear Wheel Speed Sensor Signal

1C

0.5 TN

884

Left Rear Wheel Speed Sensor Signal

D

0.5 RD

885

Left Rear Wheel Speed Sensor Low Reference

1D

0.5 OG

885

Left Rear Wheel Speed Sensor Low Reference

A

2 BK

750

Ground

3A

2 BK

750

Ground

B

0.35 BK/WH

510

Low Reference

3B

0.35 OG/BK

510

Low Reference

C

2 GY

120

Fuel Pump Supply Voltage

3C

2 GY

120

Fuel Pump Supply Voltage

D

0.5 PU

30

Fuel Level Sensor Signal

3D

0.35 PU

30

Fuel Level Sensor Signal

E

--

--

Not Used

3E

--

--

Not Used

F

0.35 GY

416

5-Volt Reference 1

3F

0.35 GY

2709

5-Volt Reference 1

G

0.35 D-GN

890

Fuel Tank Pressure Sensor Signal

3G

0.35 D-GN

890

Fuel Tank Pressure Sensor Signal

H

0.35 TN

2759

Low Reference (LZE, LZ4, LZ8)

3H

0.35 TN

2759

Low Reference

0.5 OG/BK

459

Low Reference (LS4)

0.35 OG/BK

510

Low Reference

X406 Body Harness to Rear Body Harness


Object Number: 646400  Size: CH

Object Number: 684916  Size: CH

Connector Part Information

  • OEM: 15326835
  • Service: 88986452
  • Description: 8-Way F GT 150 Series, Sealed (BK)

Connector Part Information

  • OEM: 15499804
  • Service: See Catalog
  • Description: 8-Way M GT 150 Series, Sealed (BK)

Terminal Part Information

  • Terminal/Tray: 12191819/8
  • Core/Insulation Crimp: 2/A
  • Release Tool/Test Probe: 15315247/J-35616-2A (GY)

Terminal Part Information

  • Terminal/Tray: 15326269/19
  • Core/Insulation Crimp: E/1
  • Release Tool/Test Probe: 15315247/J-35616-3 (GY)

X406 Body Harness to Rear Body Harness

Pin

Wire

Circuit

Function

Pin

Wire

Circuit

Function

A

1 BK

750

Ground

A

0.8 BK

850

Ground

B

0.8 YE

18

Left Rear Stop/Turn Lamp Supply Voltage

B

0.5 YE

18

Left Rear Stop/Turn Lamp Supply Voltage

C

0.8 D-GN

19

Right Rear Stop/Turn Lamp Supply Voltage

C

0.5 D-GN

19

Right Rear Stop/Turn Lamp Supply Voltage

D

0.8 PU

709

Left Park Lamp Supply Voltage

D

0.8 PU

709

Left Park Lamp Supply Voltage

E

0.8 L-GN

24

Backup Lamp Supply Voltage

E

0.5 L-GN

24

Backup Lamp Supply Voltage

F

0.8 BN/WH

309

Right Park Lamp Supply Voltage

F

0.8 BN/WH

309

Right Park Lamp Supply Voltage

G

0.8 L-GN

24

Backup Lamp Supply Voltage

G

0.5 L-GN

24

Backup Lamp Supply Voltage

H

--

--

Not Used

H

--

--

Not Used

X409 Emergency Vehicle Rear Compartment Lid Lamps Harness to Body Harness (9C1, 9C3)


Object Number: 82383  Size: CH

Object Number: 35441  Size: CH

Connector Part Information

  • OEM: 12047662
  • Service: 12085535
  • Description: 2-Way F Metri-Pack 150 Series (BK)

Connector Part Information

  • OEM: 12047663
  • Service: 12085481
  • Description: 2-Way M Metri-Pack 150 Series (BK)

Terminal Part Information

  • Terminal/Tray: 12047883/ See Terminal Repair Kit
  • Core/Insulation Crimp: See Terminal Repair Kit
  • Release Tool/Test Probe: See Terminal Repair Kit

Terminal Part Information

  • Terminal/Tray: 12047581/2
  • Core/Insulation Crimp: Pin: A E/C
  • Core/Insulation Crimp: Pin: B E/A
  • Release Tool/Test Probe: 12094429/J-35616-3 (GY)

X409 Emergency Vehicle Rear Compartment Lid Lamps Harness to Body Harness (9C1, 9C3)

Pin

Wire

Circuit

Function

Pin

Wire

Circuit

Function

A

0.5 L-BU

6822

Rear Compartment Lid Ajar Switch Signal (T53)

A

0.5 OG/BK

744

Rear Compartment Lid Ajar Switch Signal

B

0.8 RD/WH

1440

Battery Positive Voltage (T53)

B

0.8 RD/WH

1440

Battery Positive Voltage

X412 Roof Rail Module - Left Jumper Harness to Body Harness (AY1)


Object Number: 1710026  Size: CH

Object Number: 646194  Size: CH

Connector Part Information

  • OEM: 12077919
  • Service: See Catalog
  • Description: 2-Way F Metri-Pack 280 Series (YE)

Connector Part Information

  • OEM: 12186799
  • Service: 15306012
  • Description: 2-Way M Metri-Pack 280 Series (YE)

Terminal Part Information

  • Terminal/Tray: 12034046/2
  • Core/Insulation Crimp: E/A
  • Release Tool/Test Probe: 12094430/J-35616-4A (PU)

Terminal Part Information

  • Terminal/Tray: 12066337/18
  • Core/Insulation Crimp: E/A
  • Release Tool/Test Probe: 12094429/J-35616-5 (PU)

X412 Roof Rail Module - Left Jumper Harness to Body Harness (AY1)

Pin

Wire

Circuit

Function

Pin

Wire

Circuit

Function

A

0.5 PK/BK

2137

Side Impact Module - Left - High Control

A

0.5 BN

2137

Side Impact Module - Left - High Control

B

0.5 L-BU/RD

2138

Side Impact Module - Left - Low Control

B

0.5 YE/BK

2138

Side Impact Module - Left - Low Control

X414 Roof Rail Module - Right Jumper Harness to Body Harness (AY1)


Object Number: 1710026  Size: CH

Object Number: 646194  Size: CH

Connector Part Information

  • OEM: 12077919
  • Service: See Catalog
  • Description: 2-Way F Metri-Pack 280 Series (YE)

Connector Part Information

  • OEM: 12186799
  • Service: 15306012
  • Description: 2-Way M Metri-Pack 280 Series (YE)

Terminal Part Information

  • Terminal/Tray: 12034046/2
  • Core/Insulation Crimp: E/A
  • Release Tool/Test Probe: 12094430/J-35616-4A (PU)

Terminal Part Information

  • Terminal/Tray: 12066337/18
  • Core/Insulation Crimp: E/A
  • Release Tool/Test Probe: 12094429/J-35616-5 (PU)

X414 Roof Rail Module - Right Jumper Harness to Body Harness (AY1)

Pin

Wire

Circuit

Function

Pin

Wire

Circuit

Function

A

0.5 PK/BK

2135

Side Impact Module - Right - High Control

A

0.5 TN/WH

2135

Side Impact Module - Right - High Control

B

0.5 L-BU/RD

2136

Side Impact Module - Right - Low Control

B

0.5 L-GN

2136

Side Impact Module - Right - Low Control

X490 Roof Harness to Body Harness


Object Number: 646392  Size: CH

Object Number: 808884  Size: CH

Connector Part Information

  • OEM: 15304690
  • Service: 15304690
  • Description: 18-Way F GT 150, 280 Series (GY)

Connector Part Information

  • OEM: 15336467
  • Service: 15336467
  • Description: 18-Way M GT 150, 280 Series (GY)

Terminal Part Information

  • Pins: A4, A5, A6, B5
  • Terminal/Tray: 15304711/8
  • Core/Insulation Crimp: Pins: A4, A6, B5 - E/A
  • Core/Insulation Crimp: Pins: A5 - 2/A
  • Release Tool/Test Probe: 15315247/J-35616-4A (PU)
  • Pins: A7, A8, A9, B2, B7, B8, B9
  • Terminal/Tray: 12191812/19
  • Core/Insulation Crimp: E/C
  • Release Tool/Test Probe: 15315247/J-35616-2A (GY)
  • Pins: B4, B6
  • Terminal/Tray: 15304713/19
  • Core/Insulation Crimp: 4/4
  • Release Tool/Test Probe: 15315247/J-35616-4A (PU)

Terminal Part Information

  • Pins: (A4 (without UG1)), A6,
  • Terminal/Tray: 15304722/8
  • Core/Insulation Crimp: E/C
  • Release Tool/Test Probe: 15315247/J-35616-5 (PU)
  • Pins: (A4 (with UG1)), A5, B4, B5, B6,
  • Terminal/Tray: 15304724/8
  • Core/Insulation Crimp: Pins: A4, A5, B5 - 2/A
  • Core/Insulation Crimp: Pins: B4, B6 - C/D
  • Release Tool/Test Probe: 15315247/J-35616-5 (PU)
  • Pins: A7, A8, A9, B2, B7, B8, B9
  • Terminal/Tray: 15304702/19
  • Core/Insulation Crimp: Pins: A7, A8, A9, B7, B8, B9 - E/C
  • Core/Insulation Crimp: Pins: B2, - E/4
  • Release Tool/Test Probe: 15315247/J-35616-3 (GY)

X490 Roof Harness to Body Harness

Pin

Wire

Circuit

Function

Pin

Wire

Circuit

Function

A1-A3

--

--

Not Used

A1-A3

--

--

Not Used

A4

0.35 RD/WH

2340

Battery Positive Voltage (UG1)

A4

0.5 RD/WH

2340

Battery Positive Voltage (UG1)

0.5 RD/WH

2340

Battery Positive Voltage (UE1)

A5

0.8 OG

1732

Inadvertent Power Courtesy Lamp

A5

0.8 OG

1732

Inadvertent Power Courtesy Lamp

A6

0.5 YE

643

Accessory Voltage (DD6, CF5)

A6

0.5 YE

643

Accessory Voltage (DD6, CF5)

A7

0.35 BARE

1489

Drain Wire (UE1)

A7

0.35 BARE

1489

Drain Wire (UE1)

A8

0.35 BN/WH

2517

Keypad Red LED Signal (UE1)

A8

0.35 BN/WH

2517

Keypad Red LED Signal (UE1)

A9

0.35 YE/BK

2516

Keypad Green LED Signal (UE1)

A9

0.35 YE/BK

2516

Keypad Green LED Signal (UE1)

B1

--

--

Not Used

B1

--

--

Not Used

B2

0.5 L-GN

24

Backup Lamp Supply Voltage (DD6)

B2

0.5 L-GN

24

Backup Lamp Supply Voltage (DD6)

B3

--

--

Not Used

B3

--

--

Not Used

B4

2 BK

550

Ground

B4

2 BK

550

Ground

B5

0.5 GY/BK

690

Courtesy Lamp Supply Voltage

B5

0.8 GY/BK

690

Courtesy Lamp Supply Voltage

B6

2 RD/WH

3440

Battery Positive Voltage (CF5)

B6

2 RD/WH

3440

Battery Positive Voltage (CF5)

B7

0.35 GY

655

Cellular Microphone Signal (UE1)

B7

0.35 GY

655

Cellular Microphone Signal (UE1)

B8

0.35 D-GN/WH

2514

Keypad Signal (UE1)

B8

0.35 D-GN/WH

2514

Keypad Signal (UE1)

B9

0.35 L-GN/BK

2515

Keypad Supply Voltage (UE1)

B9

0.35 L-GN/BK

2515

Keypad Supply Voltage (UE1)

X503 Left Front Door Harness to Left Front Door Trim Harness


Object Number: 1243531  Size: CH

Object Number: 1243534  Size: CH

Connector Part Information

  • OEM: 15401211
  • Service: 88953323
  • Description: 40-Way F GT 150, 280 Series (GY)

Connector Part Information

  • OEM: 15463191
  • Service: 88988433
  • Description: 40-Way M GT 150, 280 Series (GY)

Terminal Part Information

  • Pins: A2, A3, A4, A5, A6, A7, D2, D4, D5, D6, D7
  • Terminal/Tray: 15304713/19
  • Core/Insulation Crimp: 4/4
  • Release Tool/Test Probe: 15315247/J-35616-4A (PU)
  • Pins: B1, B2, B5, B8, B9, B10, C1, C2, C3, C5
  • Terminal/Tray: 12191812/19
  • Core/Insulation Crimp: E/C
  • Release Tool/Test Probe: 15315247/J-35616-2A (GY)

Terminal Part Information

  • Pins: A2, A3, A4, A5, A6, A7, D2, D4, D5, D6, D7
  • Terminal/Tray: 15304724/8
  • Core/Insulation Crimp: C/D
  • Release Tool/Test Probe: 15315247/J-35616-5 (PU)
  • Pins: B1, B2, B5, B8, B9, B10, C1, C2, C3, C5,
  • Terminal/Tray: 15304702/19
  • Core/Insulation Crimp: Pins: B1, B2, C1 - E/4
  • Core/Insulation Crimp: Pins: B5, B8, B9, B10, C1, C2, C3, C5 - E/C
  • Release Tool/Test Probe: 15315247/J-35616-3 (GY)

X503 Left Front Door Harness to Left Front Door Trim Harness

Pin

Wire

Circuit

Function

Pin

Wire

Circuit

Function

A1

--

--

Not Used

A1

--

--

Not Used

A2

2 YE

143

Accessory Voltage

A2

2 YE

143

Accessory Voltage

A3

2 D-BU

1307

Power Window Master Switch Lockout Signal

A3

2 D-BU

1307

Power Window Master Switch Lockout Signal

A4

2 L-BU

166

Power Window Master Switch Right Front Up Signal

A4

2 L-BU

166

Power Window Master Switch Right Front Up Signal

A5

2 TN

167

Power Window Master Switch Right Front Down Signal

A5

2 TN

167

Power Window Master Switch Right Front Down Signal

A6

2 L-GN

170

Power Window Master Switch Right Rear Up Signal

A6

2 L-GN

170

Power Window Master Switch Right Rear Up Signal

A7

2 PU

171

Power Window Master Switch Right Rear Down Signal

A7

2 PU

171

Power Window Master Switch Right Rear Down Signal

A8

--

--

Not Used

A8

--

--

Not Used

B1

0.5 TN/WH

330

Right Mirror Motor Supply Voltage

B1

0.5 WH

330

Right Mirror Motor Supply Voltage

B2

0.5 OG/WH

881

Passenger Mirror Motor Right Control

B2

0.5 OG/WH

881

Passenger Mirror Motor Right Control

B3-B4

--

--

Not Used

B3-B4

--

--

Not Used

B5

0.5 OG/BK

781

Driver Door Lock Switch Unlock Signal

B5

0.35 OG

781

Driver Door Lock Switch Unlock Signal

B6-B7

--

--

Not Used

B6-B7

--

--

Not Used

B8

0.5 L-GN

89

Driver Mirror Motor Down Control

B8

0.35 L-GN

89

Driver Mirror Motor Down Control

B9

0.5 TN

329

Left Mirror Motor Supply Voltage

B9

0.35 YE

329

Left Mirror Motor Supply Voltage

B10

0.5 WH

81

Driver Mirror Motor Right Control

B10

0.35 WH

81

Driver Mirror Motor Right Control

B11-B12

--

--

Not Used

B11-B12

--

--

Not Used

C1

0.5 PU/WH

889

Passenger Mirror Motor Down Control

C1

0.5 PU/WH

889

Passenger Mirror Motor Down Control

C2

0.5 RD/WH

840

Battery Positive Voltage

C2

0.35 RD/WH

840

Battery Positive Voltage

C3

0.5 GY

8

Instrument Panel Lamp Supply Voltage

C3

0.35 GY

8

Instrument Panel Lamp Supply Voltage

C4

--

--

Not Used

C4

--

--

Not Used

C5

0.5 PK/BK

780

Driver Door Lock Switch Lock Signal

C5

0.35 OG/BK

780

Driver Door Lock Switch Lock Signal

C6-C12

--

--

Not Used

C6-C12

--

--

Not Used

D1

--

--

Not Used

D1

--

--

Not Used

D2

2 BK

550

Ground

D2

2 BK

550

Ground

D3

--

--

Not Used

D3

--

--

Not Used

D4

2 D-GN

168

Power Window Master Switch Left Rear Up Signal

D4

2 D-GN

168

Power Window Master Switch Left Rear Up Signal

D5

2 PU

169

Power Window Master Switch Left Rear Down Signal

D5

2 PU

169

Power Window Master Switch Left Rear Down Signal

D6

2 BN

165

Power Window Motor Left Front Down Control

D6

2 BN

165

Power Window Motor Left Front Down Control

D7

2 D-BU

164

Power Window Motor Left Front Up Control

D7

2 D-BU

164

Power Window Motor Left Front Up Control

D8

--

--

Not Used

D8

--

--

Not Used

X604 Right Front Door Trim Harness to Right Front Door Harness


Object Number: 623046  Size: CH

Object Number: 800517  Size: CH

Connector Part Information

  • OEM: 15326931
  • Service: 15306309
  • Description: 10-Way F GT 280 Series (BK)

Connector Part Information

  • OEM: 15326935
  • Service: 15306305
  • Description: 10-Way M GT 280 Series (BK)

Terminal Part Information

  • Terminal/Tray: 15304713/19
  • Core/Insulation Crimp: F/D
  • Release Tool/Test Probe: 15315247/J-35616-4A (PU)

Terminal Part Information

  • Terminal/Tray: 15304724/8
  • Core/Insulation Crimp: A/D
  • Release Tool/Test Probe: 15315247/J-35616-5 (PU)

X604 Right Front Door Trim Harness to Right Front Door Harness

Pin

Wire

Circuit

Function

Pin

Wire

Circuit

Function

A

3 YE

143

Accessory Voltage

A

3 YE

143

Accessory Voltage

B

3 L-BU

166

Power Window Master Switch Right Front Up Signal

B

3 L-BU

166

Power Window Master Switch Right Front Up Signal

C

3 TN

167

Power Window Master Switch Right Front Down Signal

C

3 TN

167

Power Window Master Switch Right Front Down Signal

D

3 D-BU

666

Power Window Motor Right Front Up Control

D

3 D-BU

666

Power Window Motor Right Front Up Control

E

3 BN

667

Power Window Motor Right Front Down Control

E

3 BN

667

Power Window Motor Right Front Down Control

F

0.35 D-BU

245

Passenger Door Lock Switch Unlock Signal

F

1 D-BU

245

Passenger Door Lock Switch Unlock Signal

G

0.35 L-BU

244

Passenger Door Lock Switch Lock Signal

G

1 L-BU

244

Passenger Door Lock Switch Lock Signal

H

0.35 GY

8

Instrument Panel Lamp Supply Voltage

H

1 GY

8

Instrument Panel Lamp Supply Voltage

J

0.5 BK

750

Ground

J

1 BK

750

Ground

0.5 BK

750

Ground

K

--

--

Not Used

K

--

--

Not Used