DT 47527 (DW 260-220) High Clutch Spring Compressor
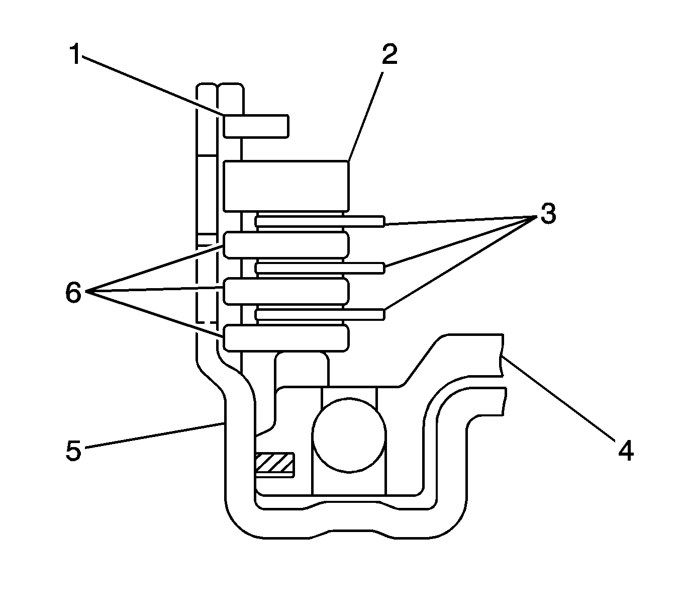
| • | Snap ring (1) |
| • | Retaining plate (2) |
| • | Friction plates (3) |
| • | Separator plates (6) |
| • | High clutch drum (5) |
| • | Piston (4) |
Important: If the application limit is exceeded, replace the friction (4) and separates plates (7) with new ones, and select a suitable retaining plate so that specified clearance will be obtained.
Important: If clearance is less than the application limit, select a suitable retaining plate (3) so that the clearance will fall within the desired range.
Clearance Specification
Specification standard is 1.8 - 2.2 mm (0.07 - 0.08 in).
Clearance Specification
Specification application limit is 1.0 mm (0.04 in).
Caution: Refer to Safety Glasses and Compressed Air Caution in the Preface section.
Important: Close the other holes when lowing air using an air gun.