Output Driver Modules (ODMs) are used by the PCM to turn on many of the current-driven devices that are needed to control various engine and Transaxle functions. Each ODM is capable of controlling up to 7 separate outputs by applying ground to the device which the PCM is commanding on.
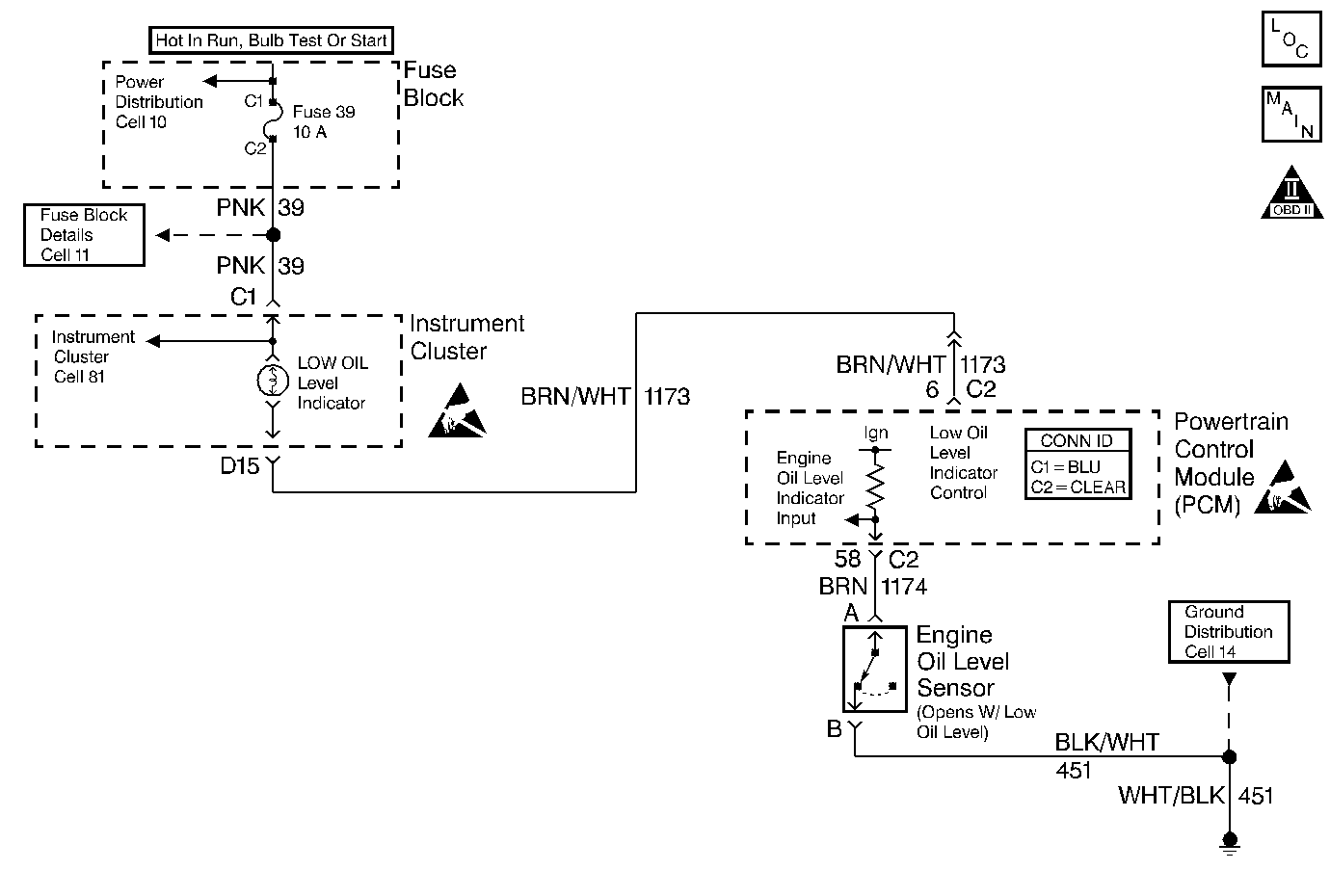
DTC P1653 set indicates an improper voltage level has been detected on the output circuit which controls the Low Engine Oil Level Lamp.
Ignition is on.
| • | An improper voltage level has been detected on the output circuit which controls the low engine oil level lamp. |
| • | Above conditions for at least 30 seconds. |
| • | The PCM will not illuminate the malfunction indicator lamp (MIL). |
| • | The PCM will store conditions which were present when the DTC set as Failure Records data only. This information will not be stored as Freeze Frame data. |
| • | A History DTC will clear after 40 consecutive warm-up cycles have occurred without a malfunction. |
| • | The DTC can be cleared by using the scan tool Clear Info function. |
Check for the following condition(s):
| • | Poor connection at the PCM. Inspect harness connectors for backed out terminals, improper mating, broken locks, improperly formed or damaged terminals, and poor terminal to wire connection(s). Refer to Intermittents and Poor Connections Diagnosis . |
| • | Damaged harness. Inspect the wiring harness for damage. If the harness appears to be OK, disconnect the PCM, turn the ignition on and observe a voltmeter connected to the Engine Low Oil Lamp driver circuit at the PCM harness connector while moving connectors and wiring harnesses related to the Engine Low Oil Level circuit. A change in voltage will indicate the location of the fault. Refer to Wiring Repairs . |
Reviewing the Fail Records vehicle mileage since the diagnostic test last failed may help determine how often the condition that caused the DTC to be set occurs. This may assist in diagnosing the condition.
Number(s) below refer to the step number(s) on the Diagnostic Table:
Normally, ignition feed voltage should be present on the control circuit with the PCM disconnected and the ignition turned on.
Checks for a shorted component or a short to battery positive voltage on the control circuit. Either condition would result in a measured current of over 500 milliamps. Also checks for a component that is causing an open circuit while being operated, resulting in a measured current of 0 milliamps.
Checks for a short to voltage on the control circuit.
This vehicle is equipped with a PCM which utilizes an Electrically Erasable Programmable Read Only Memory (EEPROM). When the PCM is being replaced, the new PCM must be programmed. Refer to Powertrain Control Module Replacement/Programming .
Step | Action | Value(s) | Yes | No |
|---|---|---|---|---|
1 | Was the Powertrain OBD System Check performed? | -- | ||
Is voltage near the specified value? | B+ | |||
Does the current reading remain between the specified values? | 0.05-0.5 Amps (50-500 mA) | |||
Is the voltage at the specified value? | 0.0V | |||
5 | Locate and repair short to voltage in the low engine oil level lamp control circuit. Refer to Wiring Repairs . Is the action complete? | -- | -- | |
6 | Check the ignition feed fuse for the instrument panel indicators. Is the fuse blown? | -- | ||
7 |
Is the action complete? | -- | -- | |
8 |
Is the voltage near the specified value? | B+ | ||
9 |
Was a problem found? | -- | ||
10 |
Was a problem found? | -- | ||
11 |
Does the J 35616-200 test light flash on and off? | -- | Go to Diagnostic Aids | |
12 |
Was a problem found? | -- | ||
13 | Locate and repair open in the ignition feed circuit to the I/P indicators. Refer to Wiring Repairs . Is the action complete? | -- | -- | |
|
Important: : The replacement PCM must be programmed. Refer to Powertrain Control Module Replacement/Programming . Replace the PCM. Is the action complete? | -- | -- | ||
15 |
Does the scan tool indicate DTC P1653 failed this ignition? | -- | System OK |