GM Service Manual Online
For 1990-2009 cars only

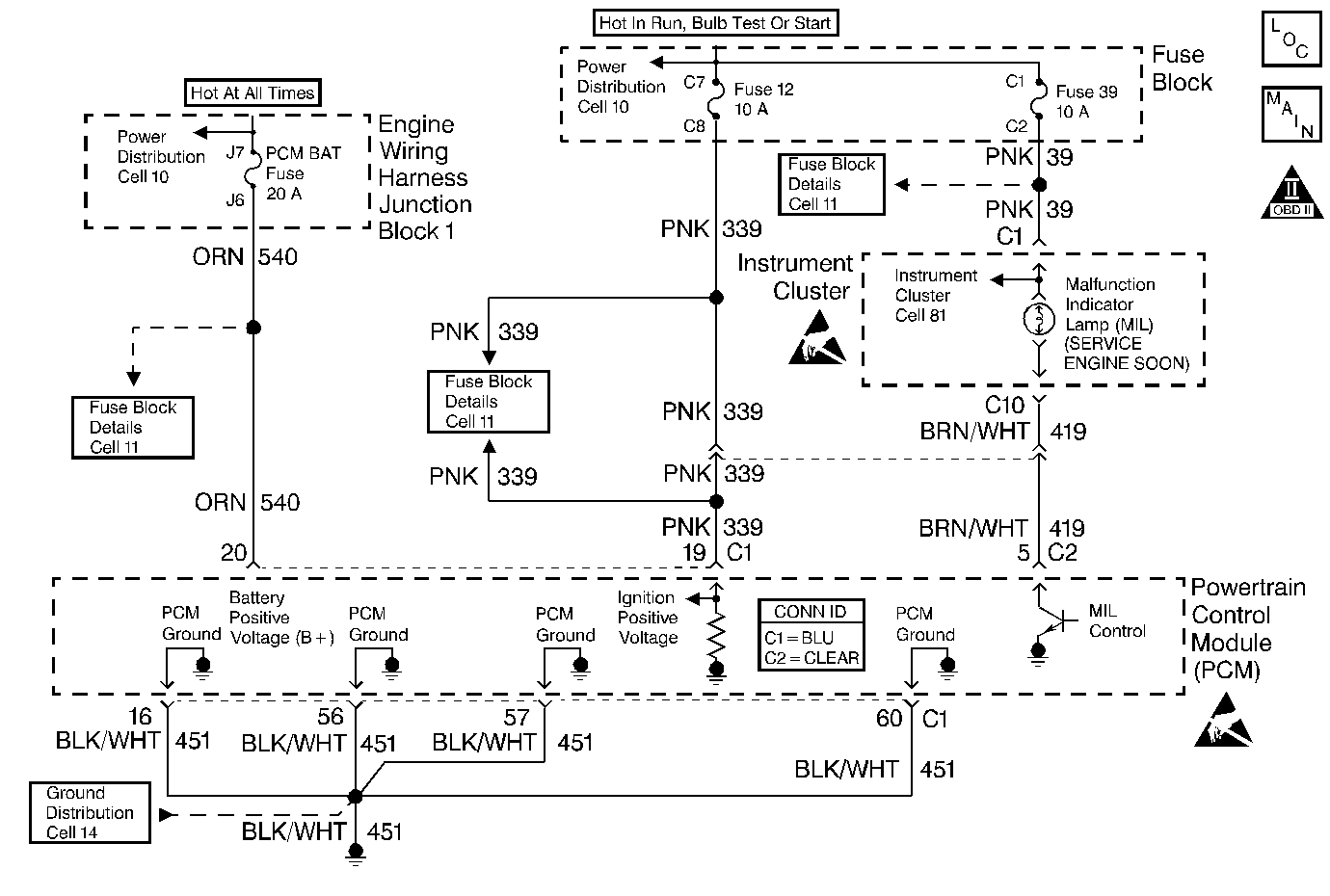
Object Number: 388766  Size: MF
Engine Controls Schematics
OBD II Symbol Description Notice
Handling ESD Sensitive Parts Notice
Handling ESD Sensitive Parts Notice

Circuit Description

Ignition voltage is supplied directly to the Malfunction Indicator Lamp. The PCM controls the lamp by grounding the control circuit via an internal switch called a driver. The primary function of the driver is to supply the ground for the component being controlled. Each driver has a fault line which is monitored by the PCM. When the PCM is commanding a component ON, the voltage of the control circuit should be low (near 0 volts). When the PCM is commanding the control circuit to a component OFF, the voltage potential of the circuit should be high (near battery voltage). If the fault detection circuit senses a voltage other than what is expected, the fault line status will change causing the DTC to set.

Conditions for Running the DTC

The ignition is on.

Conditions for Setting the DTC

    • An improper voltage level has been detected on the MIL control circuit.
    • The above condition present for at least 30 seconds.

Action Taken When the DTC Sets

    • The PCM will illuminate the malfunction indicator lamp (MIL) during the first trip in which the diagnostic test has been run and failed.
    • The PCM will store conditions which were present when the DTC set as Freeze Frame and Failure Records data.

Conditions for Clearing the MIL/DTC

    • The PCM will turn OFF the MIL during the third consecutive trip in which the diagnostic has been run and passed.
    • The History DTC will clear after 40 consecutive warm-up cycles have occurred without a malfunction.
    • The DTC can be cleared by using the scan tool.

Diagnostic Aids

    • If the ignition feed circuit is suspected of being open, check if other bulbs on that circuit illuminate.
    • Using Freeze Frame and/or Failure Records data may aid in locating an intermittent condition. If the DTC cannot be duplicated, the information included in the Freeze Frame and/or Failure Records data can be useful in determining how many miles since the DTC set. The Fail Counter and Pass Counter can also be used to determine how many ignition cycles the diagnostic reported a pass and/or a fail. Operate vehicle within the same freeze frame conditions (RPM, load, vehicle speed, temperature etc.) that were noted. This will isolate when the DTC failed.

Test Description

The numbers below refer to the step numbers on the diagnostic table:

  1. Important:  If the I/P is completely inoperative, refer to Body and Accessories for further diagnosis.

    Command both the on and the off states. Repeat the commands as necessary.

  2. If you do not find trouble in the control circuit or the connection at the PCM, the PCM may be faulty. However, this is an extremely unlikely failure.

  3. This DTC will not report a pass. The scan tool status for this DTC will never report a pass. The scan tool will only display when the diagnostic fails. The repair is not complete if the scan tool indicates that the diagnostic ran and failed.

Step

Action

Value(s)

Yes

No

1

Did you perform the Powertrain on-Board Diagnostic (OBD) System Check?

--

Go to Step 2

Go to Powertrain On Board Diagnostic (OBD) System Check

2

  1. Turn on the ignition leaving the engine off.
  2. Command the MIL on and off using the Scan tool.

Does the MIL turn on and off with each command?

--

Go to Diagnostic Aids

Go to Step 3

3

  1. Turn off the ignition.
  2. Disconnect the PCM.
  3. Turn on the ignition.

Is the MIL off?

--

Go to Step 4

Go to Step 5

4

Probe the MIL control circuit in the PCM harness connector with a fused jumper wire connected to ground.

Is the MIL on?

--

Go to Step 6

Go to Step 7

5

Repair the short to ground in the lamp control circuit. Refer to Wiring Repairs .

Is the repair complete?

--

Go to Step 9

--

6

Test for poor connections at the PCM. Refer to Testing for Continuity , Intermittents and Poor Connections Diagnosis .

Did you find and correct the condition?

--

Go to Step 9

Go to Step 8

7

Check for the following conditions:

    •  Faulty bulb
    •  Open ignition feed to the bulb
    •  MIL Control circuit open or shorted to battery positive voltage.

Refer to Wiring Repairs .

Is the repair complete?

--

Go to Step 9

--

8

Important: :  Program the replacement PCM. Refer to Powertrain Control Module Replacement/Programming .

Replace the PCM.

Is the action complete?

--

Go to Step 9

--

9

  1. Select the Diagnostic Trouble Code (DTC) option and the Clear DTC option using the scan tool.
  2. Idle the engine at the normal operating temperature.
  3. Select the Diagnostic Trouble Code (DTC) option and the Specific DTC option, then enter the DTC number using the scan tool.
  4. Operate vehicle within the conditions for setting this DTC as specified in the supporting text, if applicable.

Does the scan tool indicate that this test failed?

--

Go to Step 2

Go to Step 10

10

Select the Capture Info option and the Review Info option using the scan tool.

Does the scan tool display any DTCs that you have not diagnosed?

--

Go to the applicable DTCs

System OK