GM Service Manual Online
For 1990-2009 cars only
Makes
🢒
Chevrolet
🢒
2000
🢒
Lumina
🢒
Engine
🢒
Engine Electrical
🢒 Engine Electrical Component Views
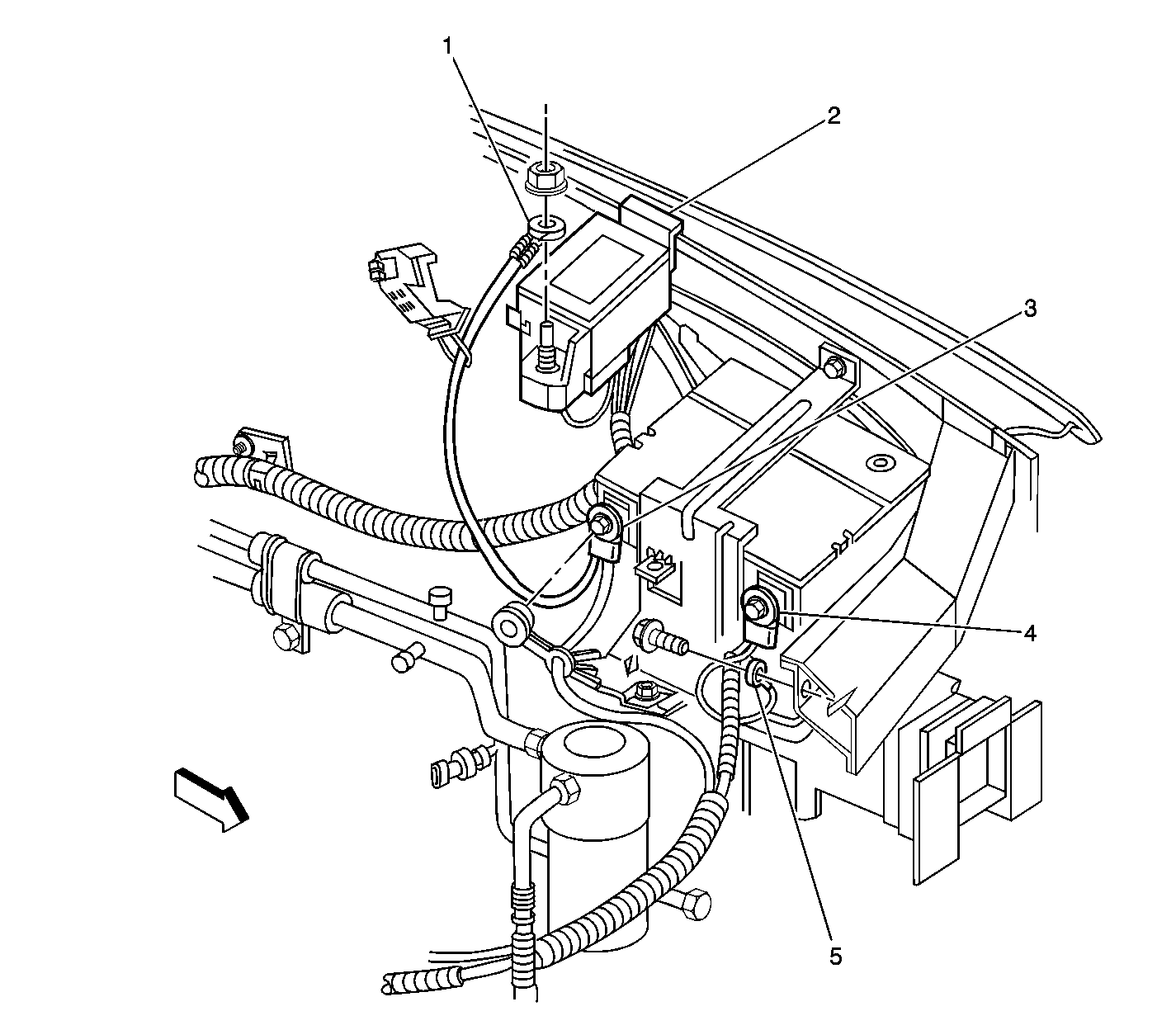
Figure
1:
Front Left of Engine Compartment
(1)
G100
(2)
Engine Wiring Junction Block 2
(3)
Battery Positive Thermial
(4)
Battery Negitive Thermial
(5)
G113
Figure
2:
Lower Right Side of Engine (RPO LG8)
(1)
G113, G117
(2)
Starter Solenoid
(3)
Positive B+ Connection
(4)
Fusible LInks
Figure
3:
Generator (RPO LG8)
(1)
Generator