GM Service Manual Online
For 1990-2009 cars only
Makes
🢒
Chevrolet
🢒
2000
🢒
Lumina
🢒
Body and Accessories
🢒
Entertainment
🢒 Radio/Audio System Schematics
Figure
1:
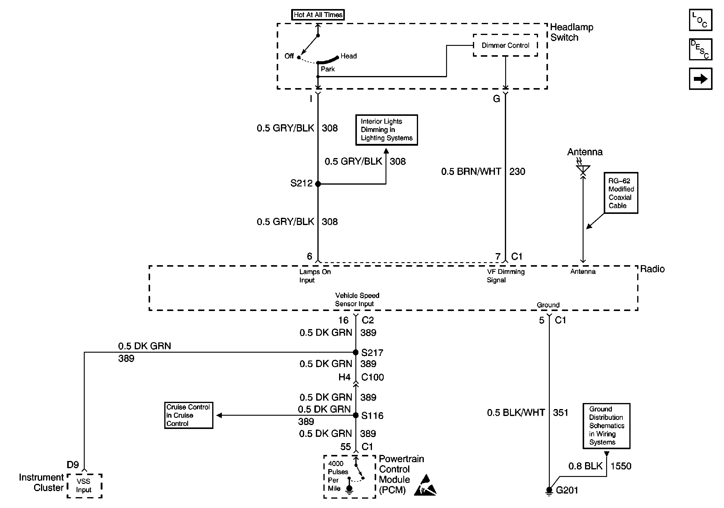
Radio, Headlamp Switch, PCM, Ground and I/P
Cruise Control
Handling ESD Sensitive Parts Notice
Interior Lights Schematics
G201
Entertainment Components
Radio/Audio System Description
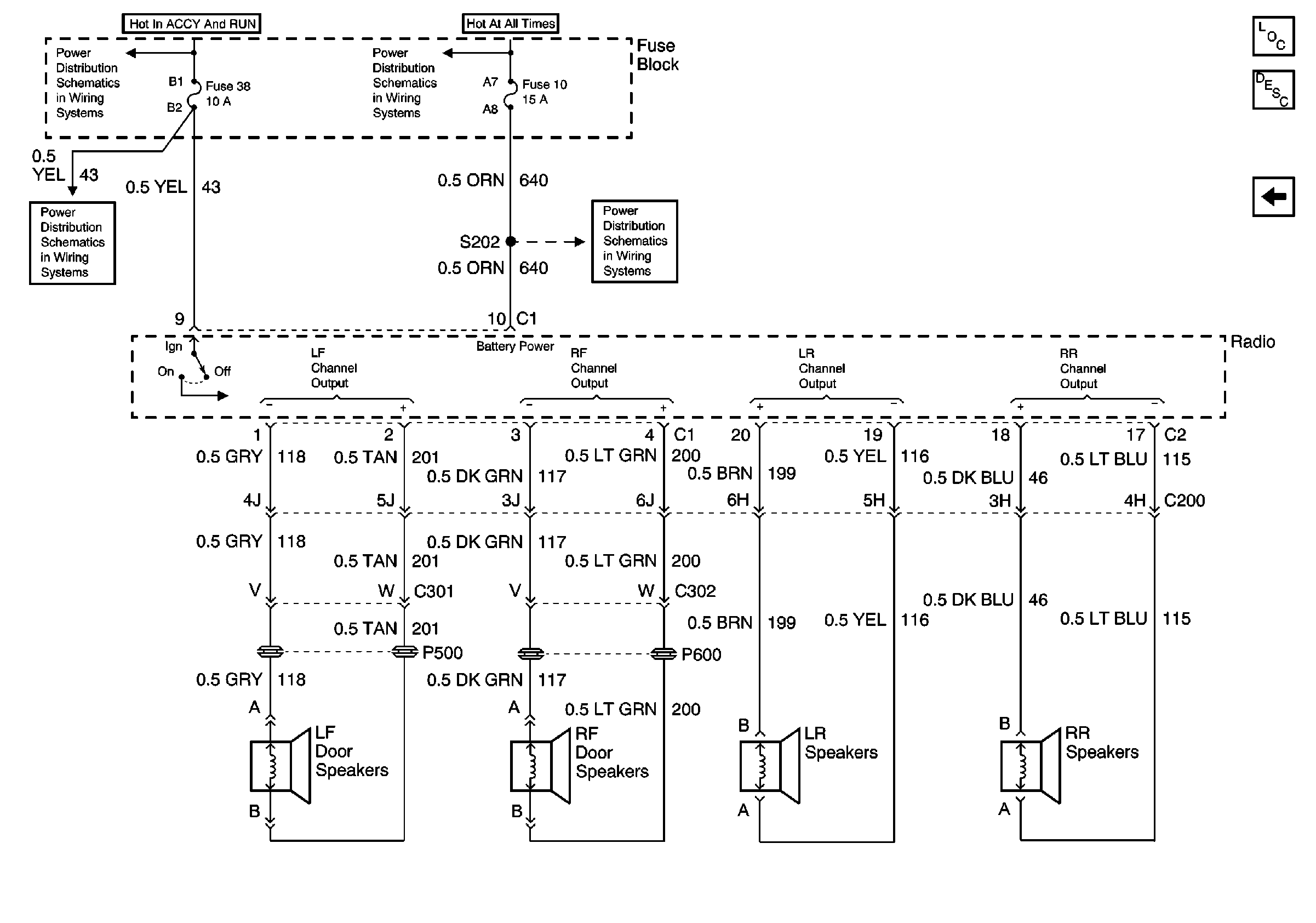
Radio, Power and Speakers
Figure
2:
Radio, Power and Speakers
Fuses 11, 20, 29, and 38
Fuses 11, 20, 29, and 38
Fuses 10 and 19
Fuses 10 and 19
Entertainment Components
Radio/Audio System Description
Radio, Headlamp Switch, PCM, Ground and I/P