- Install the cross car beam to the instrument panel.
Notice: Use the correct fastener in the correct location. Replacement fasteners
must be the correct part number for that application. Fasteners requiring
replacement or fasteners requiring the use of thread locking compound or sealant
are identified in the service procedure. Do not use paints, lubricants, or
corrosion inhibitors on fasteners or fastener joint surfaces unless specified.
These coatings affect fastener torque and joint clamping force and may damage
the fastener. Use the correct tightening sequence and specifications when
installing fasteners in order to avoid damage to parts and systems.
- Install the instrument
panel lower trim panel washers and screws.
Tighten
Tighten the instrument panel lower trim panel screws to 2 N·m
(18 lb in).
- Install the instrument panel center support screws.
Tighten
Tighten the instrument panel center support screws to 2 N·m
(18 lb in).
- Install the instrument panel lower tie bar screws.
Tighten
Tighten the instrument panel lower tie bar screws to 2 N·m
(18 lb in).
- Install the main air distribution duct to the instrument panel.
- Install the main air distribution duct screws.
Tighten
Tighten the main air distribution duct screws to 1.5 N·m
(13 lb in).
- Install the instrument panel to the vehicle, with an assistant.
- Connect the instrument panel wiring harness at the cross car beam.
- Connect the instrument panel wiring harness retaining clips.
- Install a new tie strap around the instrument panel wiring harness
at the instrument panel.
- Install the HVAC module-to-instrument panel air duct HVAC tubes.
- Install the instrument panel compartment lamp switch with the
instrument panel compartment lamp switch bracket.
- Install the fuse block to the instrument panel.
- Install the instrument panel fuse block access opening cover.
- Install the SIR connector to the instrument panel.
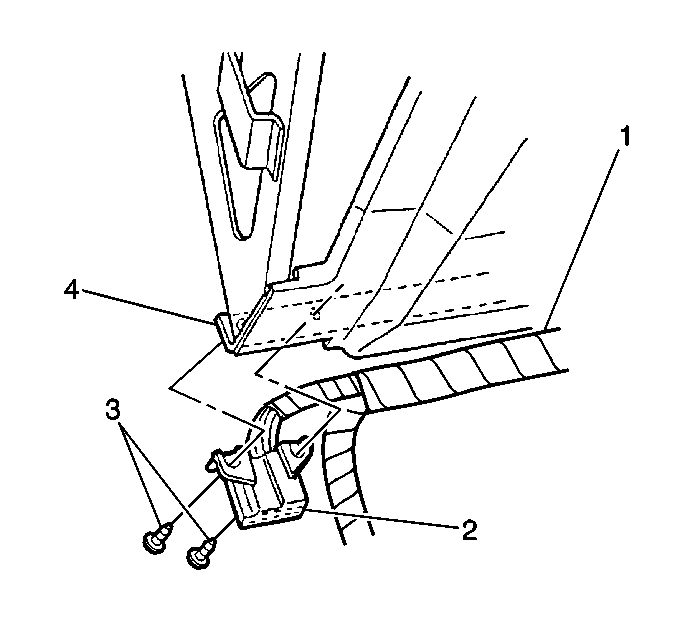
- Install the RH front hinge pillar (A pillar) tie bar bolts.
Tighten
Tighten the front hinge pillar tie bar bolts to 12 N·m
(106 lb in).
- Install the two instrument panel trim pad screws at the top of
the instrument panel toward the front of the vehicle.
Tighten
Tighten the instrument panel trim pad screws to 10 N·m
(89 lb in).
- Install the LH front hinge pillar tie bar bolts.
Tighten
Tighten the front hinge pillar tie bar bolts to 12 N·m
(106 lb in).
- Position the data link
connector to the instrument panel.
Install the data link connector screws (3).
Tighten
Tighten the data link connector screws to 2 N·m (18 lb in).
- Install the front door inside carpet retainers. Refer to
Carpet Retainer Replacement
in Interior
Trim.
- Install the windshield side upper garnish moldings. Refer to
Garnish Molding Replacement - Upper
in Interior Trim.
- Install the RH instrument panel air outlet vent panel. Refer to
Instrument Panel Air Outlet Vent Replacement
.
- Install the RH instrument panel trim plate. Refer to
Instrument Panel Trim Panel Replacement - Right Side
.
- Install the inflatable restraint instrument panel module. Refer
to
Inflatable Restraint Instrument Panel Module Replacement
in SIR.
- Install the instrument panel upper trim pad. Refer to
Instrument Panel Upper Trim Pad Replacement
.
- Install the headlamp switch. Refer to
Headlamp Switch Replacement
in Lighting Systems.
- Install the instrument cluster. Refer to
Instrument Cluster Replacement
.
- Install the HVAC control assembly. Refer to
Control Assembly Replacement
in HVAC Systems -
Manual.
- Install the radio. Refer to
Radio Replacement
in Entertainment.
- Install the instrument panel cluster trim plate. Refer to
Instrument Cluster Trim Panel Replacement
.
- Install the lower brake pedal bracket brace screws.
Tighten
Tighten the lower brake pedal bracket brace screws to 3 N·m
(27 lb in).
- Install the two cross car beam bolts at the brake pedal support
bracket.
- Install the steering column. Refer to
Steering Column Replacement
in Steering Wheel and Column - Tilt.
- Install the instrument panel compartment. Refer to
Instrument Panel Compartment Replacement
.
- Install the instrument panel driver knee bolster bracket. Refer
to
Knee Bolster Bracket Replacement
.
- Install the instrument panel steering column opening filler. Refer
to
Steering Column Opening Filler Replacement
.
- Install the RH and LH instrument panel insulators.
- Enable the SIR system. Refer to
Enabling the SIR System
in SIR.
- Connect the negative battery cable. Refer to
Battery Negative Cable Disconnection and Connection
in Engine Electrical.