GM Service Manual Online
For 1990-2009 cars only

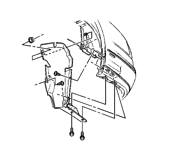
Removal Procedure


    Object Number: 480907  Size: SH
  1. Remove the bolts from the rear bumper fascia splash shield.
  2. Remove the nuts from the rear bumper fascia splash shield.
  3. Squeezing the retainers on the bumper fascia splash shield, Remove the rear bumper fascia splash shield from the vehicle.

Installation Procedure


    Object Number: 480907  Size: SH
  1. Install the rear bumper fascia splash shield by snapping into place.
  2. Notice: Use the correct fastener in the correct location. Replacement fasteners must be the correct part number for that application. Fasteners requiring replacement or fasteners requiring the use of thread locking compound or sealant are identified in the service procedure. Do not use paints, lubricants, or corrosion inhibitors on fasteners or fastener joint surfaces unless specified. These coatings affect fastener torque and joint clamping force and may damage the fastener. Use the correct tightening sequence and specifications when installing fasteners in order to avoid damage to parts and systems.

  3. Install the nuts to the rear bumper fascia splash shield.
  4. Tighten
    Tighten the rear bumper fascia splash shield nuts to 2 N·m (18 lb in).

    Important: The rear bumper fascia splash shield bolts will strip out at a low torque. Do not over torque.

  5. Install the bolts to the rear bumper fascia splash shield.
  6. Tighten
    Tighten the rear bumper fascia splash shield bolts to 2 N·m (18 lb in).