GM Service Manual Online
For 1990-2009 cars only

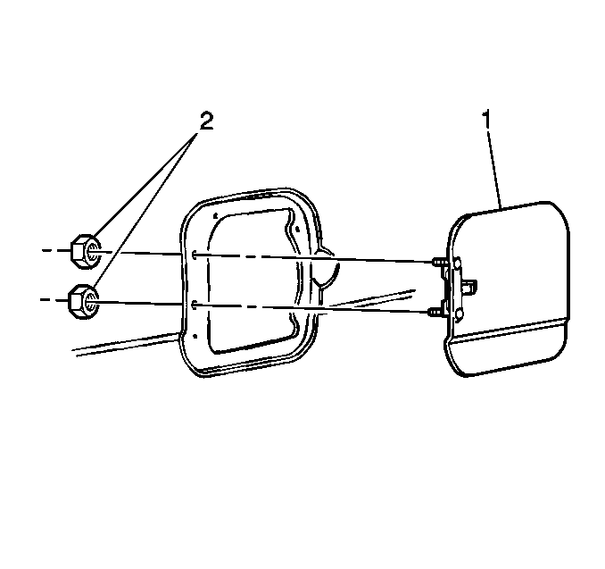
Removal Procedure

  1. Remove the fuel filler pocket. Refer to Fuel Tank Filler Pipe Housing Replacement .

  2. Object Number: 291918  Size: SH
  3. Remove the fuel filler door nuts (2).
  4. Remove the fuel filler door (1).

Installation Procedure


    Object Number: 291918  Size: SH
  1. Install the fuel filler door (1).
  2. Notice: Use the correct fastener in the correct location. Replacement fasteners must be the correct part number for that application. Fasteners requiring replacement or fasteners requiring the use of thread locking compound or sealant are identified in the service procedure. Do not use paints, lubricants, or corrosion inhibitors on fasteners or fastener joint surfaces unless specified. These coatings affect fastener torque and joint clamping force and may damage the fastener. Use the correct tightening sequence and specifications when installing fasteners in order to avoid damage to parts and systems.

  3. Install the fuel filler door nuts (2) to the fuel filler door (1).
  4. Tighten
    Tighten the fuel filler door nuts to 2.8 N·m (25 lb in).

  5. Install the fuel filler pocket. Refer to Fuel Tank Filler Pipe Housing Replacement .