GM Service Manual Online
For 1990-2009 cars only
Makes
🢒
Chevrolet
🢒
2000
🢒
Lumina
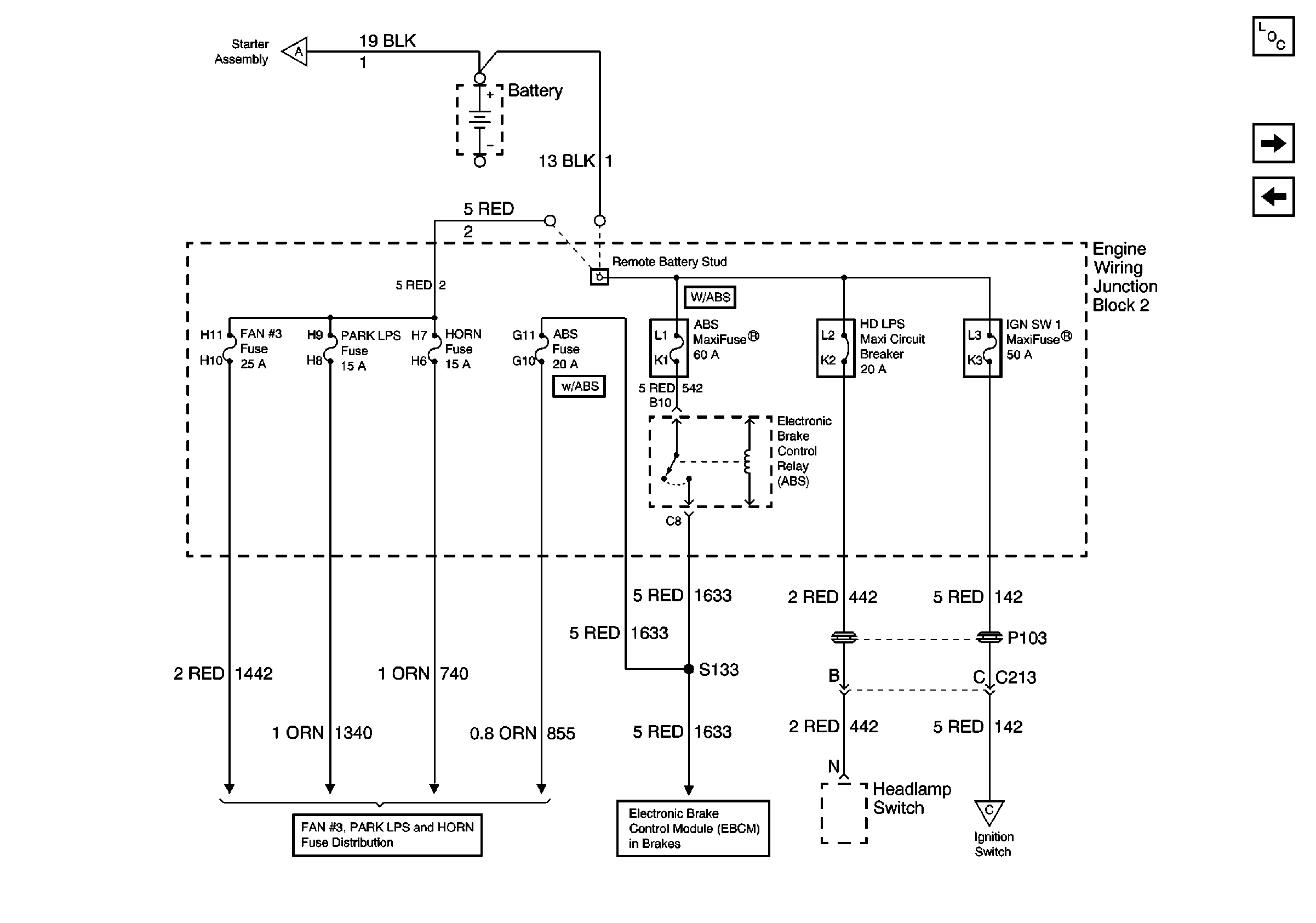
🢒 Fan #3, PARK LPS, HORN, ABS, IGN SW 1 Fuses, HD LPS Circuit Breaker, and Electronic Brake Control Relay (ABS)
Fan #3, PARK LPS, HORN, ABS, IGN SW 1 Fuses, HD LPS Circuit Breaker, and Electronic Brake Control Relay (ABS)
Fan #3, PARK LPS, HORN, ABS, IGN SW 1 Fuses, HD LPS Circuit Breaker, and Electronic Brake Control Relay (ABS)