GM Service Manual Online
For 1990-2009 cars only
Makes
🢒
Chevrolet
🢒
2000
🢒
Lumina
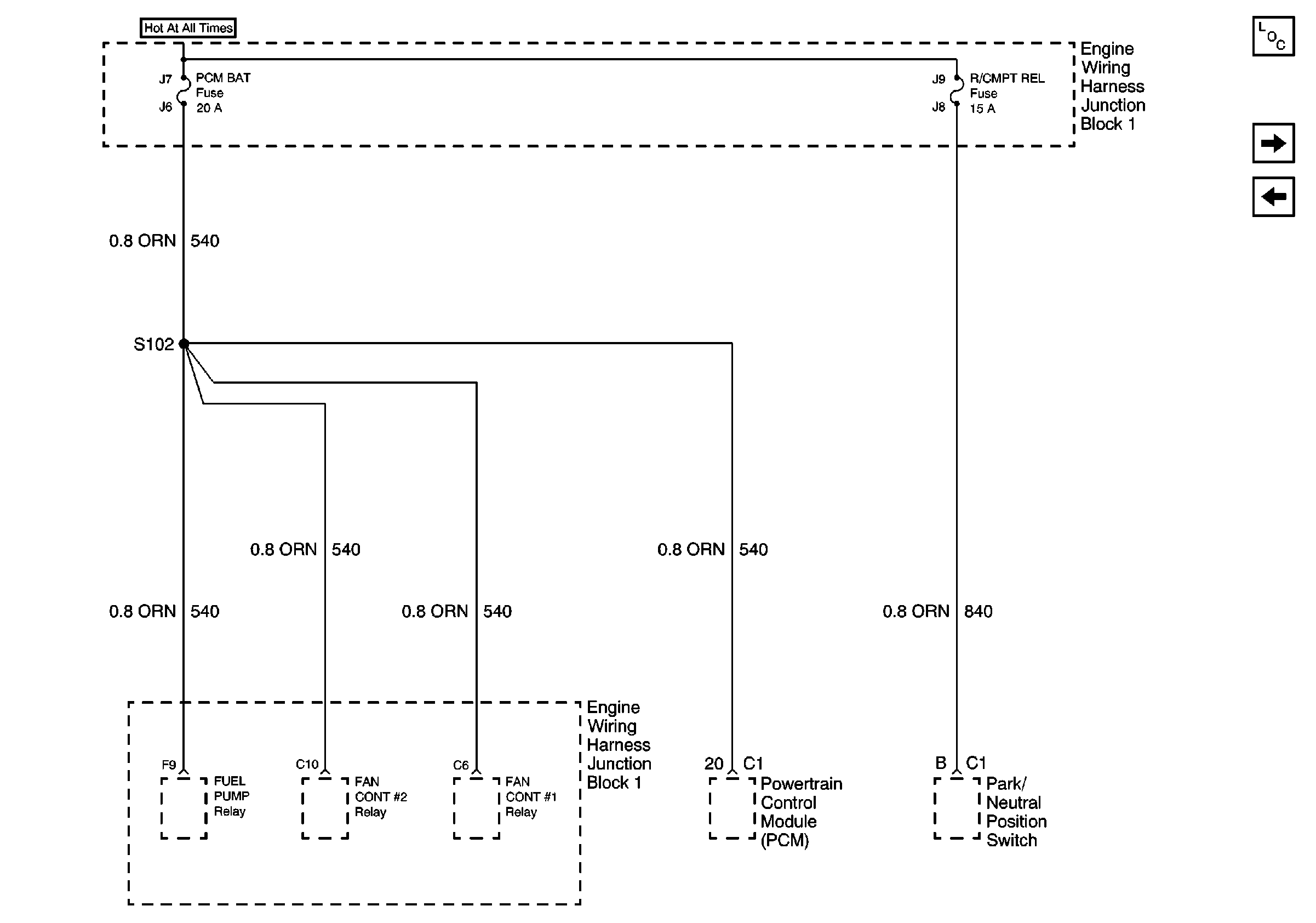
🢒 PCM BAT and R/CMPT REL Fuses
PCM BAT and R/CMPT REL Fuses
PCM BAT and R/CMPT REL Fuses