GM Service Manual Online
For 1990-2009 cars only
Makes
🢒
Chevrolet
🢒
2000
🢒
Lumina
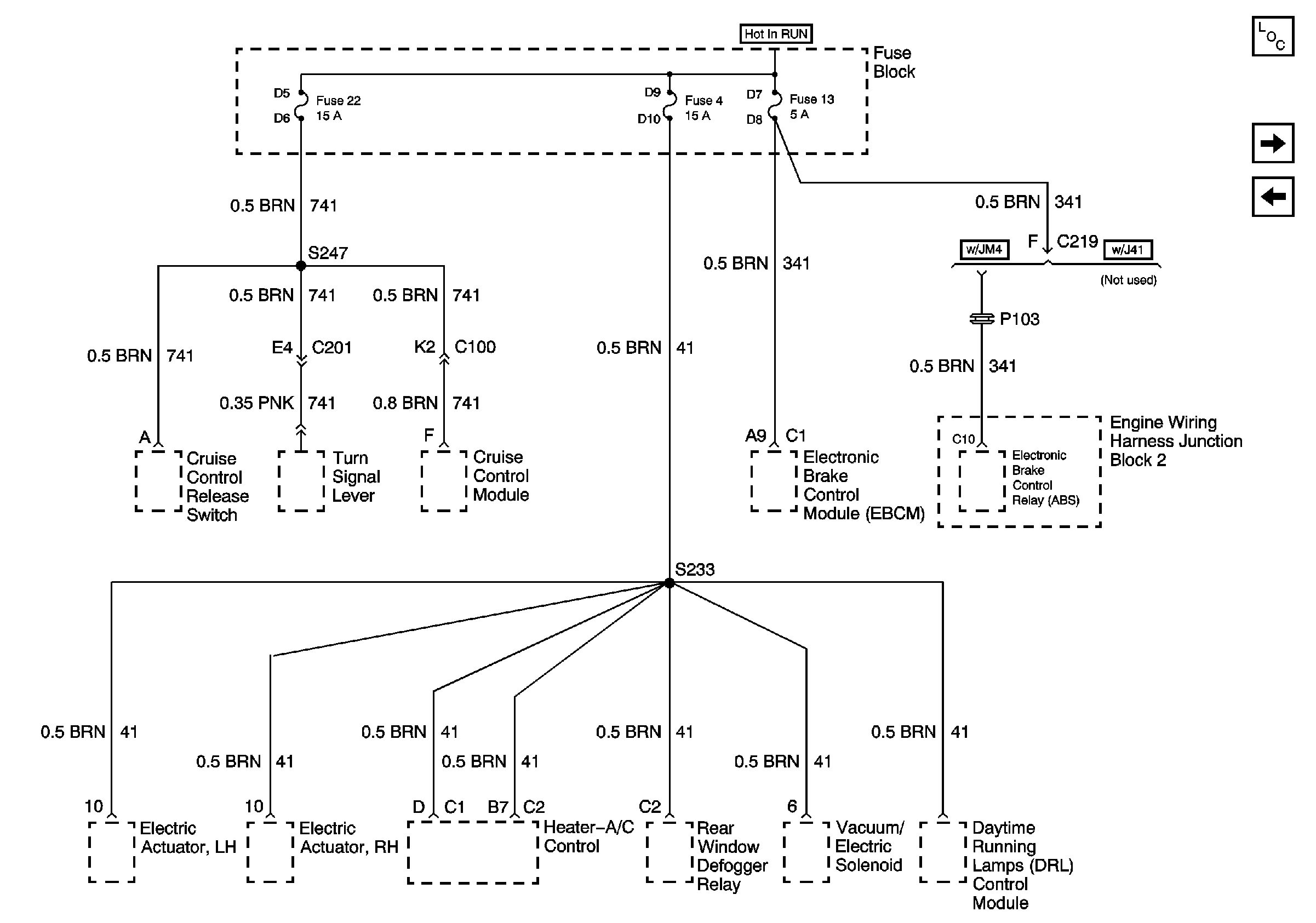
🢒 Fuses 4, 13, and 22
Fuses 4, 13, and 22
Fuses 4, 13, and 22