GM Service Manual Online
For 1990-2009 cars only

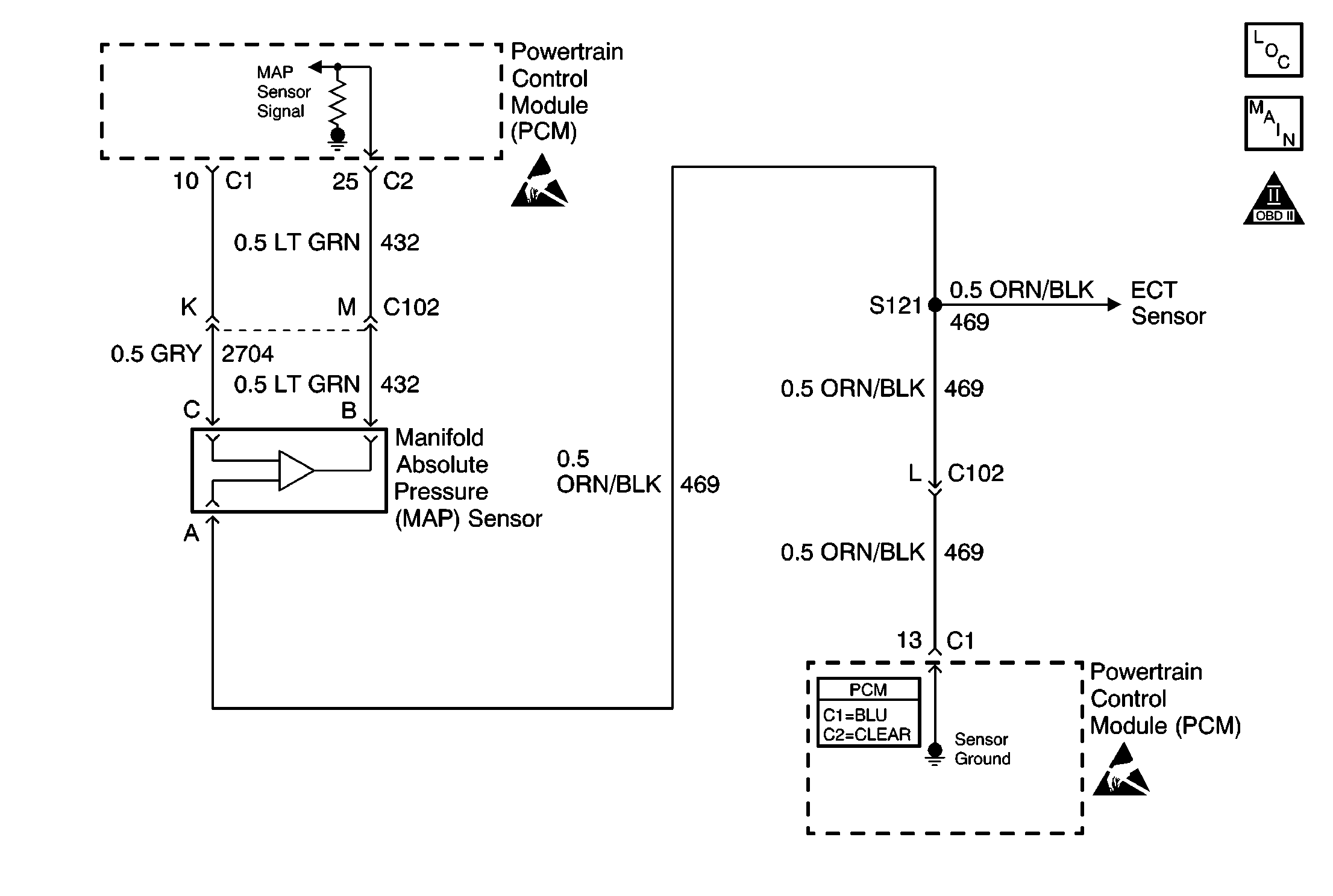
Object Number: 600969  Size: MF
Engine Controls Components
Engine Controls Schematics
OBD II Symbol Description Notice
Handling ESD Sensitive Parts Notice
Handling ESD Sensitive Parts Notice

Circuit Description

The Manifold Absolute Pressure (MAP) sensor responds to changes in intake manifold pressure (vacuum). The MAP sensor signal voltage to the PCM varies from below 2.0 volts at idle (high vacuum) to above 4.0 volts with the key ON, engine not running or at wide-open throttle (low vacuum). The MAP sensor is used to determine manifold pressure changes while the EGR flow test diagnostic is being run, refer to DTC P0401 Exhaust Gas Recirculation (EGR) Flow Insufficient . Also to update the barometric pressure reading (BARO), as an enabling factor for other diagnostics. The PCM monitors the MAP signals for voltages outside the normal range of the MAP sensor. If the PCM detects a MAP sensor signal voltage that is excessively low, DTC P0107 will set.

Conditions for Running the DTC

    • No TP sensor DTCs present.
    • System voltage greater than 9 volts.
    • The engine is running.
    • Idle speed is steady.
    • Throttle angle above 0 percent, if engine speed is less than 1000 RPM.
    • Throttle angle above 10 percent, if engine speed is greater than 1000 RPM.

Conditions for Setting the DTC

    • The MAP sensor signal voltage is less than 0.1 volt or 12  kPa.
    • Above conditions are present for longer than 200 3X reference periods (67 crankshaft revolutions).

Action Taken When the DTC Sets

    • The PCM will illuminate the malfunction indicator lamp (MIL) during the second consecutive trip in which the diagnostic test has been run and failed.
    • The PCM will store conditions which were present when the DTC set as Freeze Frame/Failure Records data.

Conditions for Clearing the MIL/DTC

    • The PCM will turn OFF the malfunction indicator lamp (MIL) during the third consecutive trip in which the diagnostic has run and passed.
    • The history DTC will clear after 40 consecutive warm-up cycles have occurred without a malfunction.
    • The DTC can be cleared by using a scan tool.

Diagnostic Aids

Inspect for the following conditions:

Many situations may lead to an intermittent condition. Perform each inspection or test as directed.

Important: :  Remove any debris from the connector surfaces before servicing a component. Inspect the connector gaskets when diagnosing or replacing a component. Ensure that the gaskets are installed correctly. The gaskets prevent contaminate intrusion.

    • Loose terminal connection
       -  Use a corresponding mating terminal to test for proper tension. Refer to Testing for Intermittent Conditions and Poor Connections , and to Connector Repairs in Wiring Systems for diagnosis and repair.
       -  Inspect the harness connectors for backed out terminals, improper mating, broken locks, improperly formed or damaged terminals, and faulty terminal to wire connection. Refer to Testing for Intermittent Conditions and Poor Connections , and to Connector Repairs in Wiring Systems for diagnosis and repair.
    • Damaged harness--Inspect the wiring harness for damage. If the harness inspection does not reveal a problem, observe the display on the scan tool while moving connectors and wiring harnesses related to the sensor. A change in the scan tool display may indicate the location of the fault. Refer to Wiring Repairs in Wiring Systems for diagnosis and repair.
    •  Inspect the powertrain control module (PCM) and the engine grounds for clean and secure connections. Refer to Wiring Repairs in Wiring Systems for diagnosis and repair.

If the condition is determined to be intermittent, reviewing the Snapshot or Freeze Frame/Failure Records may be useful in determining when the DTC or condition was identified.

Test Description

The numbers below refer to the step numbers on the diagnostic table.

  1. This vehicle is equipped with a PCM which utilizes an Electrically Erasable Programmable Read Only Memory (EEPROM). When the PCM is being replaced, the new PCM must be programmed.

Step

Action

Values

Yes

No

1

Did you perform the Powertrain On-Board Diagnostic (OBD) System Check?

--

Go to Step 2

Go to Powertrain On Board Diagnostic (OBD) System Check

2

Important::  Refer to DTC P1635 5 Volt Reference Circuit first, If set.

  1. Turn ON the ignition, with the engine OFF.
  2. With the scan tool and the throttle closed, observe the MAP voltage parameter.

Does the MAP voltage measure less then the specified value?

0.1 volt

Go to Step 4

Go to Step 3

3

  1. Review and record scan tool Fail Records data.
  2. Operate vehicle within Fail Records conditions.
  3. Using a scan tool, monitor Specific DTC info for DTC P0107.

Does the scan tool indicate DTC P0107 failed?

--

Go to Step 4

Go to Diagnostic Aids

4

  1. Disconnect the MAP sensor electrical connector.
  2. Jumper the 5 volt reference A circuit and the MAP signal circuit together at the MAP sensor harness connector.
  3. Observe the MAP voltage parameter with a scan tool.

Does the MAP voltage measure near the specified value?

4.95V

Go to Step 9

Go to Step 5

5

  1. Disconnect the jumper wire.
  2. Connect a test lamp between battery positive voltage and the MAP sensor signal circuit at the MAP sensor harness connector.
  3. Observe the MAP voltage parameter on the scan tool.

Does the MAP voltage measure near the specified value?

4.95V

Go to Step 6

Go to Step 8

6

  1. Turn OFF the ignition.
  2. Test the 5 volt reference A circuit of the MAP sensor for high resistance or an open.
  3. Repair as necessary. Refer to Measuring Voltage Drop and Wiring Repairs in Wiring Systems.

Did you find and correct the condition?

--

Go to Step 13

Go to Step 7

7

Test the 5 volt reference A circuit of the MAP sensor for a faulty connection at the PCM and replace terminal if necessary. Refer to Testing for Intermittent Conditions and Poor Connections and Connector Repairs in Wiring Systems.

Did you find and correct the condition?

--

Go to Step 13

Go to Step 12

8

  1. Turn OFF the ignition.
  2. Test the signal circuit of the MAP sensor for an open, short to ground, or short to the sensor ground.
  3. Repair as necessary. Refer to Testing for Short to Ground and Wiring Repairs in Wiring Systems.

Did you find and correct the condition?

--

Go to Step 13

Go to Step 10

9

Test the signal circuit and the 5 volt reference circuit of the MAP sensor for a faulty connection at the MAP sensor and replace the terminal as necessary. Refer to Testing for Intermittent Conditions and Poor Connections and Connector Repairs in Wiring Systems.

Did you find and correct the condition?

--

Go to Step 13

Go to Step 11

10

Test the signal circuit and the 5 volt reference circuit of the MAP sensor for a faulty connection at the PCM and replace terminal as necessary. Refer to Testing for Intermittent Conditions and Poor Connections and Connector Repairs in Wiring Systems .

Did you find and correct the condition?

--

Go to Step 13

Go to Step 12

11

Replace the MAP sensor. Refer to Manifold Absolute Pressure Sensor Replacement .

Did you complete the replacement?

--

Go to Step 13

--

12

Important:: Perform the set up procedure for the PCM.

Replace the PCM. Refer to Powertrain Control Module Replacement/Programming .

Did you complete the replacement?

--

Go to Step 13

--

13

  1. Use a scan to clear the DTCs.
  2. Operate the vehicle within the Conditions for Running the DTC as specified in the supporting text.

Does the DTC reset?

--

Go to Step 2

System OK