GM Service Manual Online
For 1990-2009 cars only

Object Number: 70621  Size: MF
Engine Controls Components
Fuel Controls
OBD II Symbol Description Notice
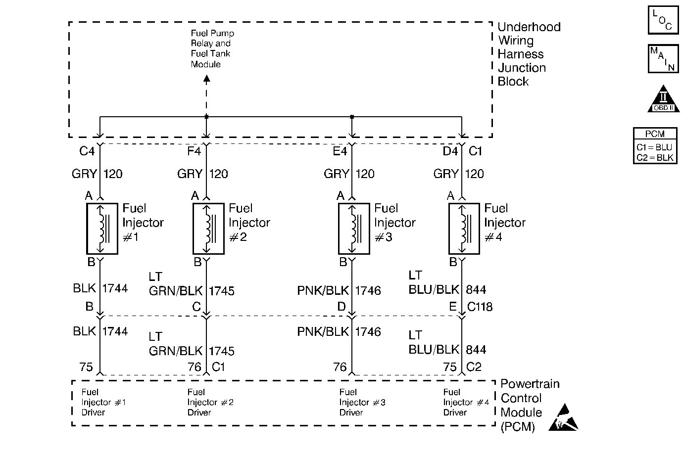
Engine Controls Connector End Views
Handling ESD Sensitive Parts Notice

Circuit Description

The Powertrain Control Module (PCM) has four fuel injector driver circuits, each of which controls a fuel injector. The PCM monitors the current in each driver circuit and is able to control the driver circuit. The current through each driver can rise to a peak of 2 amps in order to quickly open the fuel injectors. The current can reduce to 1/2 amp to hold the fuel injectors open. This is called peak and hold. If the current cannot reach a 2-amp peak, a DTC is set. This DTC is also set if a fuel injector driver is shorted to voltage.

Conditions for Setting the DTC

    • Injector current is less than 4.0 amps.
    • Battery voltage is more than 9.0 volts.
    • Above conditions met for 7.0 seconds.

Action Taken When the DTC Sets

    • The malfunction indicator lamp (MIL) illuminates.
    • The PCM records the operating conditions at the time when the diagnostic fails. This information stores in the Freeze Frame and Failure Records buffers.
    • A history DTC stores.
    • The coolant fan turns ON.

Conditions for Clearing the MIL/DTC

    • The MIL will turn OFF after three consecutive ignition cycles in which the diagnostic runs without a fault.
    • A history DTC will clear after 40 consecutive warm-up cycles without a fault.
    • The MIL/DTCs can be cleared by using the scan tool.

Diagnostic Aids

A fuel injector driver circuit that is open or shorted to voltage will cause a DTC P0200 to set and will also cause a misfire due to an inoperative fuel injector. A misfire DTC should also be set indicating which cylinder is inoperative.

The long term fuel trims and the short term fuel trims that are excessively high or low are a good indication that a fuel injector is malfunctioning. Use Fuel Injector Solenoid Coil Test in order to check for any malfunctioning fuel injectors.

Test Description

The number(s) below refer(s) to the step number(s) on the Diagnostic Table.

  1. The Powertrain OBD System Check prompts you to complete some of the basic checks and to store the freeze frame and failure records data on the scan tool if applicable. This creates an electronic copy of the data captured when the fault occurred. The scan tool stores this data on the scan tool for later reference.

  2. This step determines if the DTC P0200 is the result of a hard malfunction or an intermittent condition.

  3. This step tests the harness wiring and for the PCM control of the fuel injectors by using the test light J 34780-2. If the tests light blinks, this indicates that the PCM and the wiring to the fuel injectors are OK. Fuel Injector Solenoid Coil Test will check if the fuel injectors are malfunctioning.

  4. Whether the test light was ON steady or OFF while cranking the engine, this step narrows the malfunction down to just a few possibilities.

  5. Because the test light was ON steady, the voltage to the fuel injector is OK, but the fuel injector driver circuit is grounded at all times. This step determines if the circuitry is shorted to ground or if the PCM is malfunctioning.

  6. Reprogram the replacement PCM and perform the crankshaft position system variation learning procedure. Refer to the latest Techline information for PCM programming and Powertrain Control Module (PCM) for the Crankshaft Position System Variation Procedure.

  7. This step determines if the voltage is available to the fuel injector. The voltage is supplied through the fuel pump relay so that the engine must be cranked in order for you to see voltage at the injector.

  8. This step determines if the fuel injector driver circuit is open or shorted to voltage or if the PCM is malfunctioning.

  9. Since the voltage is supplied to the injector on a single circuit before the injector harness, the fault could only be a poor connection or an open in the injector harness. An open before the harness would result in a Cranks But Will Not Run complaint.

  10. Check the fuel injector electrical connector, the fuel injector harness connector and the PCM for poor connections or corroded terminals.

DTC P0200-Injector Control Circuit

Step

Action

Value(s)

Yes

No

1

Did you perform the Powertrain On-Board Diagnostic (OBD) System Check?

--

Go to Step 2

Go to Powertrain On Board Diagnostic (OBD) System Check

2

Will the engine start?

--

Go to Step 3

Go to Engine Cranks but Does Not Run

3

  1. Install a scan tool.
  2. Clear the DTC.
  3. Allow the engine to idle for one minute.

Does DTC P0200 reset?

--

Go to Step 5

Go to Step 4

4

  1. Turn ON the ignition leaving the engine OFF.
  2. Review the Freeze Frame data and record the parameters.
  3. Operate the vehicle within the Freeze Frame conditions and Conditions For Setting the DTC as specified.

Does P0200 Reset?

--

Go to Step 5

Go to Step 16

5

  1. Turn OFF the ignition.
  2. Remove the air cleaner outlet resonator for a fuel injector access. Refer to Air Cleaner Outlet Resonator .
  3. Disconnect all four fuel injector connectors from the fuel injectors.
  4. Install an fuel injector test light on injector 1.
  5. Crank the engine and observe the injector test light.
  6. Remove the fuel injector test light and install the fuel injector test light on the remaining fuel injectors connectors.
  7. Crank the engine and observe the fuel injector test light on the remaining fuel injectors connectors.

Does the fuel injector test light blink on all tests?

--

Go to Fuel Injector Solenoid Coil Test

Go to Step 6

6

Verify whether the fuel injector test light was OFF or ON steady in step 5 for the fuel injector electrical connector that did not blink.

Was the fuel injector test light ON steady while cranking the engine?

--

Go to Step 7

Go to Step 10

7

  1. Disconnect the PCM connector for the affected injector.
  2. Probe the affected injector driver circuits with a test light connected to B+.

Does the injector test light illuminate?

--

Go to Step 8

Go to Step 9

8

Check for a short to ground in the injector driver circuit and repair the short as necessary.

Was a repair necessary?

--

Go to Step 16

Go to Step 9

9

Replace the PCM.

Is the action complete?

--

Go to Step 16

--

10

  1. Connect a test light to ground.
  2. Probe the ignition feed circuit of the affected electrical connector.
  3. Crank the engine.

Does the test light illuminate while cranking?

--

Go to Step 11

Go to Step 12

11

  1. Connect a test light to ground.
  2. Probe the injector driver circuit of the affected electrical connector.
  3. Crank the engine.

Is the test light OFF while you crank the engine?

--

Go to Step 13

Go to Step 14

12

Repair the open in the ignition feed circuit in the fuel injector harness.

Is the action complete?

--

Go to Step 16

--

13

Check the fuel injector driver circuit for an open or for a malfunctioning connection.

Is a problem present?

--

Go to Step 15

Go to Step 9

14

Repair the short to voltage in the fuel injector driver circuit.

Is the action complete?

--

Go to Step 16

--

15

Repair the open or the malfunctioning connection in the fuel injector driver circuit.

Is the action complete?

--

Go to Step 16

--

16

  1. Clear the DTCs with the scan tool.
  2. Start the engine.
  3. Idle the engine at the normal operating temperature.
  4. Operate the vehicle within the conditions for setting this DTC as specified in the supporting text.

Does the scan tool indicate that this diagnostic has ran and passed?

--

Go to Step 17

Go to Step 2

17

Check to see if any additional DTCs are set.

Does the scan tool display any DTCs that you have not diagnosed?

--

Go to applicable DTC table

System OK