The diagnostic system check is an organized method of identifying any problems caused by a malfunction in the ABS system.
The service technician must begin diagnosis of any ABS complaint with the diagnostic system check.
The diagnostic system check directs the service technician to the next logical step in diagnosing the complaint.
Use the following ordered procedure when servicing the ABS.
Failure to use the following procedure may cause the loss of important diagnostic data. Failure to use the following procedure may lead to difficult and time-consuming diagnosis procedures.
| • | Inspect the brake master cylinder fluid reservoir: |
| - | Verify that the brake fluid level is correct. |
| - | Inspect the master cylinder for contamination. |
| • | Inspect the brake modulator for the following conditions: |
| - | Leaks |
| - | Wiring damage |
| • | Inspect the brake components of all four wheels: |
| - | Verify that no drag exists. |
| - | Verify that the brake apply operation is correct. |
| • | Inspect for worn or damaged wheel bearings. |
| • | Worn or damaged wheel bearings may cause a wheel to "wobble". |
| • | Inspect the wheel speed sensors and the wheel speed sensor wiring: |
| - | Verify that all of the sensors solidly attach. |
| - | Inspect for wiring damage, especially at vehicle attachment points. |
| • | Inspect the outer CV joint: |
| - | Verify that the outer CV joint is aligned correctly. |
| - | Verify that the outer CV joint operates correctly. |
| • | Inspect the tires. Verify that the tires meet legal tread depth requirements. |
If any DTCs are displayed, select DTC History.
| 2.1. | Determine which malfunction occurred the most recently. |
| 2.2. | Diagnose and repair the most recent malfunction first. |
| • | No DTCs are present. |
| • | There are malfunctions in the mechanical components. |
| • | The failure is intermittent and cannot be reproduced. |
| 4.1. | Use the automatic snapshot feature of the Scan Tool while test driving the vehicle. |
Perform normal acceleration, stopping, and turning maneuvers during the test drive.
| 4.2. | If the test drive does not reproduce the malfunction, perform an ABS stop: |
| • | Perform the stop on a low coefficient surface (such as gravel). |
| • | Perform the stop from a speed of 48-80 km/h (30-50 mph). |
| • | Trigger the snapshot mode on any ABS DTC while performing the stop. |
| 4.3. | If the ABS stop does not reproduce the malfunction, use the enhanced diagnostic information in the DTC History in order to determine if further diagnosis is needed. This determination will be based on the frequency of failure. |
Diagnosing DTCs in the correct order is very important. Failure to diagnose DTCs in the order specified may result in the following:
| • | Extended diagnostic time |
| • | Incorrect diagnosis |
| • | Incorrect parts replacement |
Step | Action | Value(s) | Yes | No |
|---|---|---|---|---|
1 |
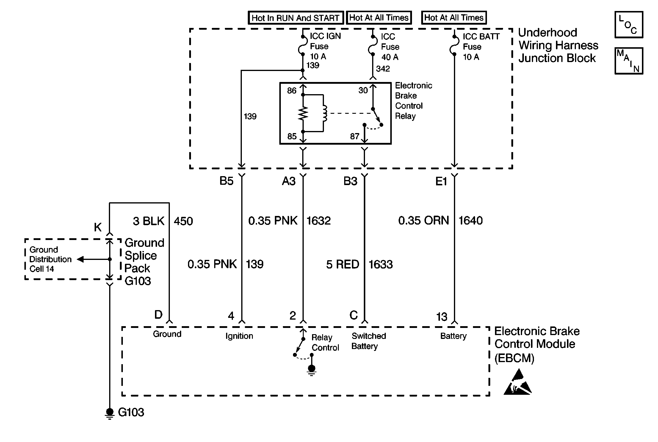
Does the Scan Tool communicate with the EBCM? | -- | ||
2 | Does the scan tool communicate with other modules on the serial data line? | -- | Go to Data Link Communications System Check in Wiring Systems | |
3 | With the scan tool read ABS DTCs. Are there any current Diagnostic Trouble Codes? | -- | Go to Applicable DTC Table | |
4 | Cycle the ignition switch from the OFF to the ON position. Does the ABS Indicator come ON then go OFF after several seconds? | -- | ||
5 | Does the ABS Warning Indicator come ON and stay ON? | -- | Go to ABS Indicator Always On | |
6 | Are there any history DTCs? | -- | System OK | |
7 |
Did the history DTC set as a current DTC while the vehicle was being driven? | -- | Go to Applicable DTC Table | System OK |