GM Service Manual Online
For 1990-2009 cars only

Removal Procedure


    Object Number: 291466  Size: SH
  1. Remove the trim plate from the instrument panel cluster. Refer to Instrument Cluster Trim Panel Replacement in Instrument Panel, Gauges, and Console.
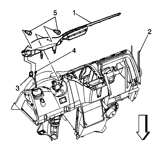
  2. Disconnect the electrical connectors (3 and 4).
  3. Remove the fog lamp switch.

Installation Procedure


    Object Number: 291466  Size: SH
  1. Connect the electrical connectors (3 and 4).
  2. Install the fog lamp switch.
  3. Install the trim panel to the instrument panel cluster. Refer to Instrument Cluster Trim Panel Replacement in Instrument Panel, Gauges, and Console.