GM Service Manual Online
For 1990-2009 cars only

Object Number: 568144  Size: MF
Engine Controls Components
Engine Controls Schematics
OBD II Symbol Description Notice
Handling ESD Sensitive Parts Notice
Handling ESD Sensitive Parts Notice

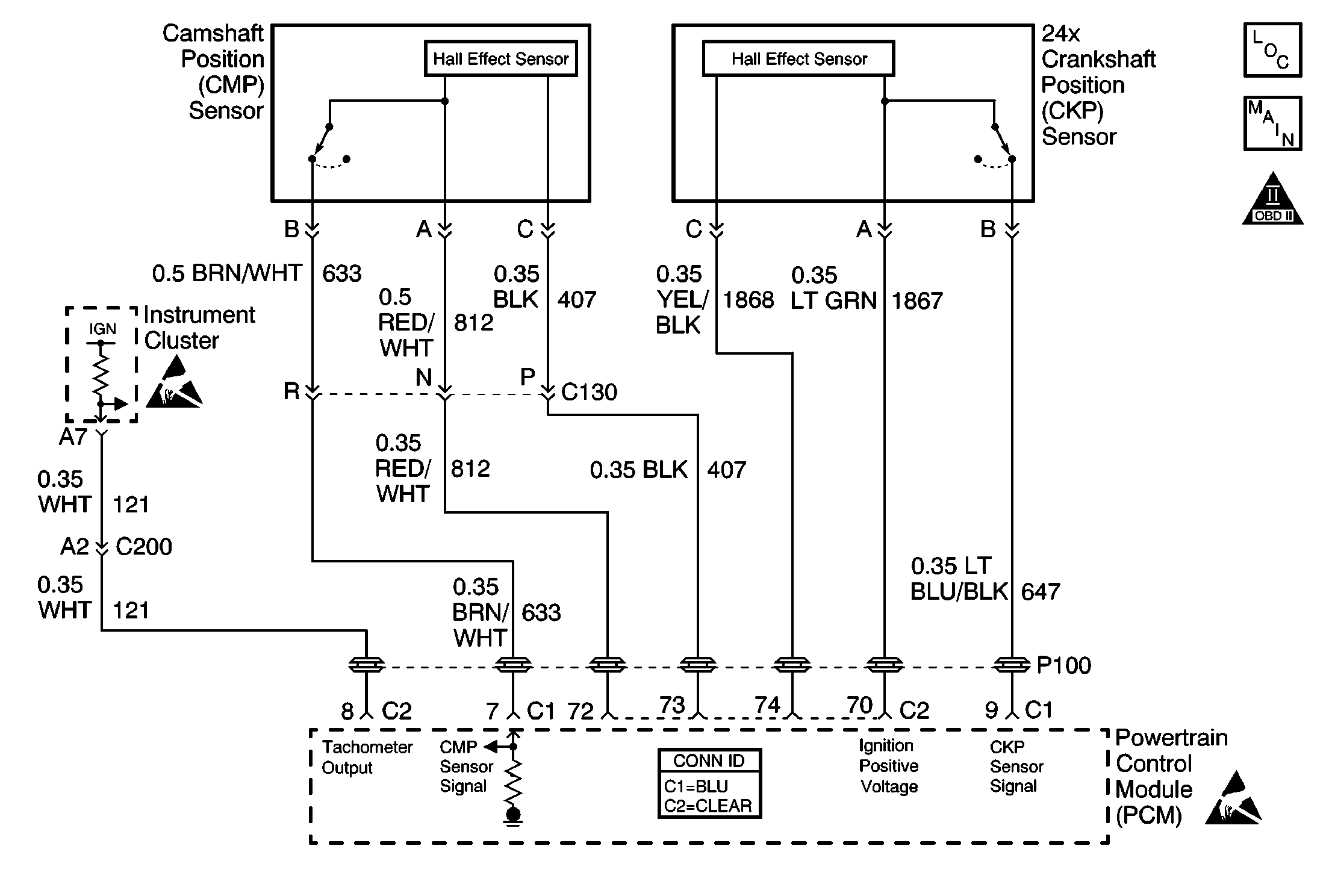
Refer to Engine Controls Schematic

Ignition System, Knock Sensor


Object Number: 488639  Size: FS
FAN CONT #2 & #3, FAN CONT #1, OXY SEN, DFI MDL and ENG DEVICES Fuses
G100, G111, G113 and G151
Handling ESD Sensitive Parts Notice
Handling ESD Sensitive Parts Notice
Engine Controls Components
Powertrain Control Module Description
Fuel Controls
Power, Grounds, MIL and Serial Data
OBD II Symbol Description Notice
.

Circuit Description

The 24X reference signal is used to improve idle spark control at low engine speeds. The Powertrain Control Module (PCM) uses the 24X reference signal to calculate engine RPM and crankshaft position at engine speeds below 1600 RPM. The PCM constantly monitors the number of pulses on the 24X reference circuit and compares the number of 24X reference pulses to the number of 3X reference pulses and CAM signal pulses being received. If the PCM receives an incorrect number of pulses on the 24X reference circuit, DTC P0336 will set and the PCM will use the 3X reference signal circuit for fuel and ignition control. The engine will continue to start and run using the 3X reference and CAM signals only.

Conditions for Running the DTC

The engine is running, 3X reference pulses are being received, for a minimum of 3 seconds.

Conditions for Setting the DTC

The ratio of 24X reference pulses to 3X reference pulses received by the PCM is incorrect.

Action Taken When the DTC Sets

    • The PCM will illuminate the malfunction indicator lamp (MIL) during the second consecutive trip in which the diagnostic test has been run and failed.
    • The PCM will store conditions which were present when the DTC set as Freeze Frame/Failure Records data.

Conditions for Clearing the MIL/DTC

    • The PCM will turn OFF the malfunction indicator lamp (MIL) during the third consecutive trip in which the diagnostic has run and passed.
    • The history DTC will clear after 40 consecutive warm-up cycles have occurred without a malfunction.
    • The DTC can be cleared by using a scan tool.

Diagnostic Aids

DTC P0336 can be caused by secondary components leaking high voltage into the ignition control (IC) module. Inspect for the following conditions:

    •  Incorrect harness routing near secondary ignition components.
    •  Ignition coil arcing to wiring harness or IC module, inspect ignition coils for cracks, carbon tracking, or other signs of damage.
    •  Secondary ignition wires arcing to wiring harness.

Many situations may lead to an intermittent condition. Perform each inspection or test as directed.

Important: :  Remove any debris from the connector surfaces before servicing a component. Inspect the connector gaskets when diagnosing or replacing a component. Ensure that the gaskets are installed correctly. The gaskets prevent contaminate intrusion.

    • Loose terminal connection
       -  Use a corresponding mating terminal to test for proper tension. Refer to Testing for Intermittent Conditions and Poor Connections , and to Connector Repairs in Wiring Systems for diagnosis and repair.
       -  Inspect the harness connectors for backed out terminals, improper mating, broken locks, improperly formed or damaged terminals, and faulty terminal to wire connection. Refer to Testing for Intermittent Conditions and Poor Connections , and to Connector Repairs in Wiring Systems for diagnosis and repair.
    • Damaged harness--Inspect the wiring harness for damage. If the harness inspection does not reveal a problem, observe the display on the scan tool while moving connectors and wiring harnesses related to the sensor. A change in the scan tool display may indicate the location of the fault. Refer to Wiring Repairs in Wiring Systems for diagnosis and repair.
    •  Inspect the powertrain control module (PCM) and the engine grounds for clean and secure connections. Refer to Wiring Repairs in Wiring Systems for diagnosis and repair.

If the condition is determined to be intermittent, reviewing the Snapshot or Freeze Frame/Failure Records may be useful in determining when the DTC or condition was identified.

Test Description

The numbers below refer to the step numbers on the diagnostic table.

  1. If sent here from DTC P0327 proceed with DTC P0336 Diagnostic even if P0336 has not failed this ignition.

  2. The 24X RPM on the scan tool should change each time the signal circuit is touched.

  3. If the fuse opens in the jumper wire, there is a short to ground on the signal circuit.

  4. This vehicle is equipped with a PCM which utilizes an electrically erasable programmable read only memory (EEPROM). When the PCM is being replaced, the new PCM must be programmed.

DTC P0336 - 24X Reference Signal Circuit

Step

Action

Values

Yes

No

1

Did you perform the Powertrain On-Board Diagnostic (OBD) System Check?

--

Go to Step 2

Go to Powertrain On Board Diagnostic (OBD) System Check

2

Important: A short to ground on the Cam Sensor Ignition Positive Voltage circuit can cause DTC P0336 and DTC P0327 to set.Test this circuit for a short to ground before proceeding with this diagnostic table.

  1. Operate vehicle within Failure Records conditions.
  2. Using a scan tool, monitor specific DTC info for DTC P0336 until DTC P0336 test runs.

Does scan tool indicate DTC P0336 failed this ignition?

--

Go To Step 3

Go To Diagnostic Aids

3

  1. Start the engine.
  2. With the scan tool, observe the 24X RPM.

Does 24X RPM vary with engine speed up to approximately 1600 RPM?

--

Go To Diagnostic Aids

Go To Step 4

4

  1. Turn OFF the ignition.
  2. Disconnect the 24X CKP sensor connector.
  3. Turn ON the ignition, with the engine OFF.
  4. Connect a DMM between the feed circuit of the 24X sensor and ground.

Does the voltage measure near the specified value?

B+

Go To Step 6

Go To Step 5

5

  1. Turn OFF the ignition.
  2. Disconnect the PCM.
  3. Test the feed circuit of the 24X CKP sensor for a short to ground or an open. Refer to Wiring Repairs in Wiring Systems.

Did you find and correct the condition?

--

Go To Step 16

Go To Step 12

6

  1. Connect a test lamp to battery positive voltage.
  2. Touch the 24X CKP sensor ground circuit.

Does test lamp illuminate?

--

Go To Step 8

Go To Step 7

7

  1. Turn OFF the ignition.
  2. Disconnect the PCM.
  3. Test the ground circuit of the 24X CKP sensor for an open. Refer to Wiring Repairs in Wiring Systems.

Did you find and correct the condition?

--

Go To Step 16

Go To Step 12

8

  1. Monitor 24X RPM on the scan tool.
  2. Using a 5 amp fused jumper wire connected to battery positive voltage momentarily touch the signal circuit 5 times for a duration of 1 second each.

Does 24X RPM change EACH time the signal circuit is touched?

--

Go To Step 14

Go To Step 9

9

Did the fuse in the jumper wire blow?

--

Go To Step 11

Go To Step 10

10

Test the signal circuit of the 24X CKP sensor for a short to voltage or an open. Refer to Wiring Repairs in Wiring Systems.

Did you find and correct the condition?

--

Go To Step 16

Go To Step 12

11

Test the signal circuit of the 24X CKP sensor for a short to ground. Refer to Wiring Repairs in Wiring Systems.

Did you find and correct the condition?

--

Go To Step 16

Go To Step 12

12

Inspect for faulty connections at the PCM. Refer to Testing for Continuity , and Testing for Intermittent Conditions and Poor Connections in Wiring Systems.

Did you find and correct the condition?

--

Go To Step 16

Go To Step 13

13

Important: : The replacement PCM must be reprogrammed.

Replace the PCM. Refer to Powertrain Control Module Replacement/Programming .

Did you complete the replacement?

--

Go To Step 16

--

14

Inspect for faulty connections at the 24X CKP sensor. Refer to Testing for Continuity , and Wiring Repairs in Wiring Systems.

Did you find and correct the condition?

--

Go To Step 16

Go To Step 15

15

Replace 24X CKP sensor. Refer to Crankshaft Position Sensor Replacement .

Did you complete the replacement?

--

Go to Step 16

--

16

  1. Use the scan tool in order to record Failure Records and clear DTCs.
  2. Operate vehicle within Fail Record conditions.

Does the DTC reset?

--

Go To Step 2

System OK