GM Service Manual Online
For 1990-2009 cars only

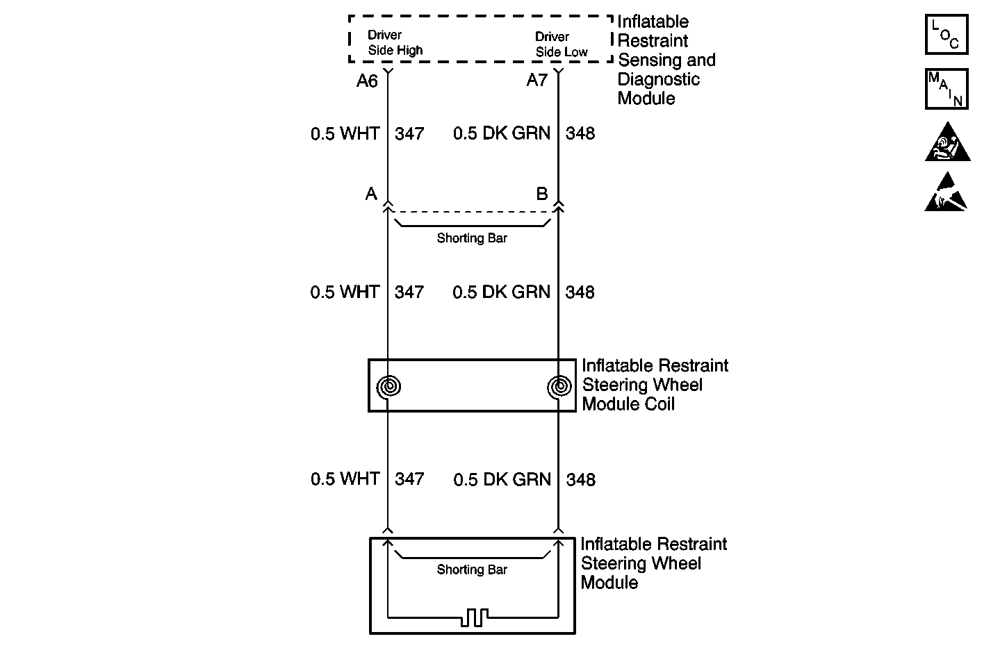
Object Number: 612953  Size: MF
SIR Components
SIR Electrical Diagnosis
Handling ESD Sensitive Parts Notice
SIR Handling Caution

Circuit Description

When you first turn ON the ignition, the inflatable restraint sensing and diagnostic module (SDM) performs tests to diagnose critical malfunctions within itself. Then the SDM performs the following continuous diagnostic tests on the deployment loops:

    • Deployment loop voltage out of range test
    • Deployment loop resistance measurement test

If the voltage out of range test detects a short to voltage condition, the resistance measurement test for that deployment loop will not be performed.

Conditions for Running the DTC

    • Ignition voltage is within the normal operating voltage range.
    • Driver frontal deployment loop is not open.
    • Driver frontal deployment loop is not shorted to voltage.
    • Driver frontal deployment loop is not shorted to ground.

Conditions for Setting the DTC

Driver frontal deployment loop resistance is less than 1.3 ohms for 300 milliseconds.

Action Taken When the DTC Sets

The SDM commands ON the AIR BAG warning lamp via Class 2 serial data.

Conditions for Clearing the DTC

    • The condition responsible for setting the DTC no longer exists and the Scan Tool Clear DTCs function is used.
    • A history DTC will clear once 255 malfunction free ignition cycles have occurred.

Diagnostic Aids

The following can cause an intermittent condition:

    • A short between the driver frontal high and driver frontal low circuits.
    • A malfunctioning shorting bar on the inflatable restraint steering wheel module 2-way connector.
    • A malfunctioning shorting bar on the inflatable restraint steering wheel module coil 2-way connector.
    • Refer to Testing for Intermittent Conditions and Poor Connections in Wiring Systems.

Test Description

The number(s) below refer to the step number(s) on the diagnostic table.

  1. This step checks the inflatable restraint steering wheel module yellow 2-way connector.

  2. This step determines if there is a short between the driver frontal high and driver frontal low circuits or if there is a malfunctioning SDM.

DTC B0022 Driver Frontal Deployment Loop Resistance Low

Step

Action

Value(s)

Yes

No

1

Did you perform the SIR Diagnostic System Check?

--

Go to Step 2

Go to Diagnostic System Check - SIR

2

  1. Turn OFF the ignition.
  2. Disconnect the inflatable restraint steering wheel module coil yellow 2-way connector. Refer to Inflatable Restraint Steering Wheel Module Coil Replacement .
  3. Inspect the component and harness sides of the inflatable restraint steering wheel module coil yellow 2-way connector for the following conditions:
  4. • Corrosion
    • Damaged terminals
    • Poor connections/terminal tension

Refer to Testing for Intermittent Conditions and Poor Connections in Wiring Systems.

Does either the component or harness side of the inflatable restraint steering wheel module coil yellow 2-way connector exhibit any signs of corrosion, terminal damage, or poor connections?

--

Go to Step 3

Go to Step 4

3

  1. If the component side of the inflatable restraint steering wheel module coil yellow 2-way connector is damaged, the inflatable restraint steering wheel module coil must be replaced.
  2. If the harness side of the the inflatable restraint steering wheel module coil yellow 2-way connector is damaged, replace the harness side of the inflatable restraint steering wheel module coil yellow 2-way connector. Refer to Connector Repairs in Wiring Systems

Did you complete the repair?

--

Go to Step 12

--

4

  1. Reconnect the inflatable restraint steering wheel module coil yellow 2-way connector.
  2. Verify that the connector position assurance (CPA) is properly installed.
  3. Turn ON the ignition, with the engine OFF.
  4. Use the scan tool to request the SIR DTC display.

Does the scan tool indicate that this DTC is current?

--

Go to Step 5

Go to Diagnostic Aids

5

  1. Turn OFF the ignition.
  2. Install the J 38715-A SIR Driver/Passenger Load Tool to the harness side of the inflatable restraint steering wheel module coil yellow 2-way connector.
  3. Turn ON the ignition, with the engine OFF.
  4. Use the scan tool to request the SIR DTC display.

Does the scan tool indicate that this DTC is current?

--

Go to Step 9

Go to Step 6

6

  1. Turn OFF the ignition.
  2. Disconnect the J 38715-A .
  3. Reconnect the inflatable restraint steering wheel module coil yellow 2-way connector.
  4. Disconnect the inflatable restraint steering wheel module. Refer to Inflatable Restraint Steering Wheel Module Replacement .
  5. Connect the J 38715-A to the upper inflatable restraint steering wheel module coil connector on the steering column.
  6. Turn ON the ignition, with the engine OFF.
  7. Use the scan tool to request the SIR DTC display.

Does the scan tool indicate that this DTC is current?

--

Go to Step 8

Go to Step 7

7

  1. Turn OFF the ignition.
  2. Replace the inflatable restraint steering wheel module. Refer to Inflatable Restraint Steering Wheel Module Replacement .

Did you complete the replacement?

--

Go to Step 12

--

8

  1. Turn OFF the ignition.
  2. Replace the inflatable restraint steering wheel module coil. Refer to Inflatable Restraint Steering Wheel Module Coil Replacement .

Did you complete the replacement?

--

Go to Step 12

--

9

  1. Turn OFF the ignition.
  2. Remove the J 38715-A
  3. Disconnect the inflatable restraint sensing and diagnostic module (SDM). Refer to Inflatable Restraint Sensing and Diagnostic Module Replacement .
  4. Use the J 39200 Digital Multimeter (DMM) to measure the resistance between the driver frontal high circuit and the driver frontal low circuit.

Does the resistance measure less than the specified value?

OL

Go to Step 10

Go to Step 11

10

Locate and repair the short between the driver frontal high and the driver frontal low circuits. Refer to Circuit Testing and Wiring Repairs in Wiring Systems.

Did you complete the repair?

--

Go to Step 12

--

11

Replace the SDM. Refer to Inflatable Restraint Sensing and Diagnostic Module Replacement .

Did you complete the replacement?

--

Go to Step 12

--

12

  1. Reconnect all SIR components.
  2. Verify that all components and connectors are properly mounted.
  3. Turn ON the ignition, with the engine OFF.
  4. Use the scan tool in order to clear the DTCs.

Did you complete the action?

--

Go to Diagnostic System Check - SIR

--