GM Service Manual Online
For 1990-2009 cars only

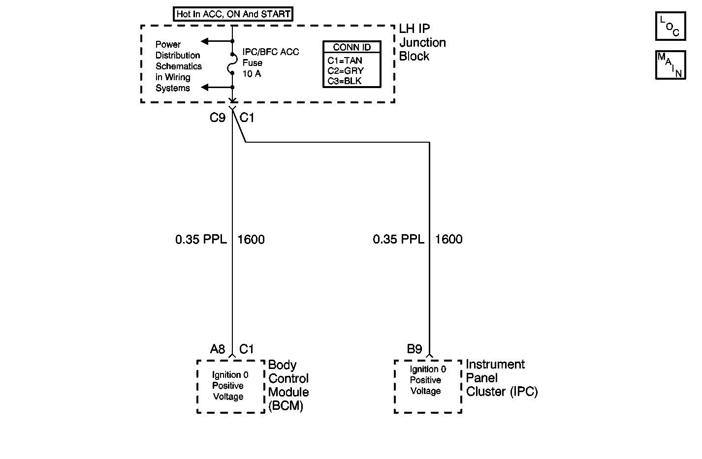
Object Number: 614595  Size: MF
Body Control Module Components
Body Control System Schematics

Circuit Description

Circuit 1600 is the ignition 0 input to the body control module (BCM) and the instrument panel cluster (IPC). This input can be either in the on or off position from the ignition switch. If the BCM senses that the ignition 0 input is inactive, DTC B1369 is set.

Conditions for Running the DTC

    • The ignition switch is on.
    • At least 20 seconds has elapsed since the ignition switch was cycled on.

Conditions for Setting the DTC

The ignition 0 input is inactive after the ignition 1 input has been active for 20 seconds.

Action Taken When the DTC Sets

    • Multiple indicators illuminate on the IPC.
    • The vehicle will not start.

Conditions for Clearing the DTC

    • A current DTC B1369 will clear when the malfunction is no longer present and the ignition switch is cycled.
    • All BCM history codes will be cleared after 100 ignition cycles (from OFF to ON) with no current codes active during the 100 ignition cycles.

Diagnostic Aids

If the DTC is a history DTC, the problem may be intermittent. Perform the tests shown while wiggling the wiring and connectors. This can often cause the malfunction to appear.

Test Description

The numbers listed below refer to the numbers on the diagnostic table.

  1. This step determines if CKT 1600 is shorted to ground.

  2. This step determines if the body control module (BCM) is internally shorted.

  3. This step determines if the instrument cluster is internally shorted.

  4. This step determines if voltage is supplied from the battery to the fuse.

Step

Action

Yes

No

1

Did you perform the Body Control Module Diagnostic System Check?

Go to Step 2

Go to Diagnostic System Check - Body Control System

2

  1. Install a Scan Tool.
  2. Turn ON the ignition, leaving the engine OFF.
  3. With the Scan Tool, observe the IGNITION 0 INPUT parameter in the BCM DATA inputs data list.

Does the scan tool display ACTIVE?

Go to Testing for Intermittent Conditions and Poor Connections in Wiring Systems

Go to Step 3

3

Inspect the IPC/BFC ACC fuse in the left IP junction block.

Is the fuse open?

Go to Step 4

Go to Step 7

4

  1. Connect a test lamp between the IPC/BFC ACC fuse terminals.
  2. Turn ON the ignition, leaving the engine OFF.

Does the test lamp illuminate?

Go to Step 5

Go to Testing for Intermittent Conditions and Poor Connections in Wiring Systems

5

  1. Turn OFF the ignition.
  2. Disconnect the BCM connector containing the ignition 0 positive voltage circuit.
  3. Turn ON the ignition, leaving the engine OFF.

Does the test lamp illuminate?

Go to Step 6

Go to Step 11

6

  1. Turn OFF the ignition.
  2. Disconnect the IPC connector.
  3. Turn ON the ignition, leaving the engine OFF.

Does the test lamp illuminate?

Go to Step 9

Go to Step 12

7

  1. Remove the IPC/BFC ACC fuse.
  2. Turn ON the ignition, leaving the engine OFF.
  3. Probe both fuse terminals for the ignition 0 positive voltage circuit with a test lamp connected to a good ground.

Does the test lamp illuminate for one of the circuits?

Go to Step 8

Go to Step 10

8

Test the ignition 0 positive voltage circuit for an open. Refer to Circuit Testing and Wiring Repairs in Wiring Systems.

Did you find and correct the condition?

Go to Step 15

Go to Step 13

9

Repair the short to ground in the ignition 0 positive voltage circuit. Refer to Wiring Repairs in Wiring Systems.

Did you complete the action?

Go to Step 15

--

10

Repair the open in the ignition feed circuit to the IPC/BFC ACC fuse. circuit. Refer to Wiring Repairs in Wiring Systems.

Did you complete the action?

Go to Step 15

--

11

Inspect for poor connections at the harness connector of the BCM. Refer to Testing for Intermittent Conditions and Poor Connections and Connector Repairs in Wiring Systems.

Did you find and correct the condition?

Go to Step 15

Go to Step 13

12

Inspect for poor connections at the harness connector of the IPC. Refer to Testing for Intermittent Conditions and Poor Connections and Connector Repairs in Wiring Systems.

Did you find and correct the condition?

Go to Step 15

Go to Step 14

13

Replace the BCM. Refer to Body Control Module Replacement .

Important: Perform the setup procedure for the body control module. Refer to Body Control Module (BCM) Programming/RPO Configuration

Did you complete the replacement?

Go to Step 15

--

14

Replace the IPC. Refer to Instrument Cluster Replacement in Instrument Panel, Gauges and Console.

Did you complete the replacement?

Go to Step 15

--

15

  1. Use the Scan Tool in order to clear the DTCs.
  2. Operate the vehicle within the Conditions for Running the DTC as specified in the supporting text.

Does the DTC reset?

Go to Step 2

System OK