GM Service Manual Online
For 1990-2009 cars only

Removal Procedure

  1. Recover the refrigerant. Refer to Refrigerant Recovery and Recharging .
  2. Remove the right front fender liner. Refer to Front Fender Liner Replacement in Body Front End.
  3. Important: Immediately cap or tape the open end of the condensor and the evaporator line in order to prevent contamination.

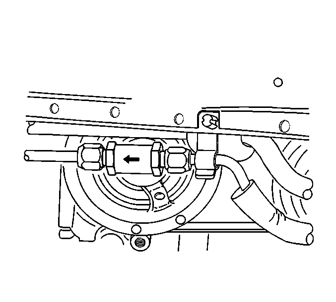
  4. Remove the bolt at the evaporator line from the condensor.

  5. Object Number: 700924  Size: SH

    Important: The nuts and the ferrules will remain on the line. Do NOT try to remove the nuts and the ferrules.

  6. Remove the A/C refrigerant filter.

Installation Procedure

  1. Install the O-rings onto the liquid line.
  2. Install the liquid line into the A/C refrigerant filter. Hand tighten the nuts.
  3. Notice: Use the correct fastener in the correct location. Replacement fasteners must be the correct part number for that application. Fasteners requiring replacement or fasteners requiring the use of thread locking compound or sealant are identified in the service procedure. Do not use paints, lubricants, or corrosion inhibitors on fasteners or fastener joint surfaces unless specified. These coatings affect fastener torque and joint clamping force and may damage the fastener. Use the correct tightening sequence and specifications when installing fasteners in order to avoid damage to parts and systems.

  4. Install the evaporator hose bolt.
  5. Tighten
    Tighten the bolt to 25 N·m (18 lb ft).


    Object Number: 700923  Size: SH
  6. Ensure that the liquid line is bottomed out into the A/C refrigerant filter.
  7. Tighten
    Tighten the A/C refrigerant filter nuts to 15 N·m (11 lb ft).

  8. Evacuate charge the refrigerant system. Refer to Refrigerant Recovery and Recharging .
  9. Leak test the A/C refrigerant filter.
  10. Install the right front fender liner. Refer to Front Fender Liner Replacement in Body Front End.
  11. Lower the vehicle.