GM Service Manual Online
For 1990-2009 cars only
Makes
🢒
Chevrolet
🢒
2005
🢒
Malibu
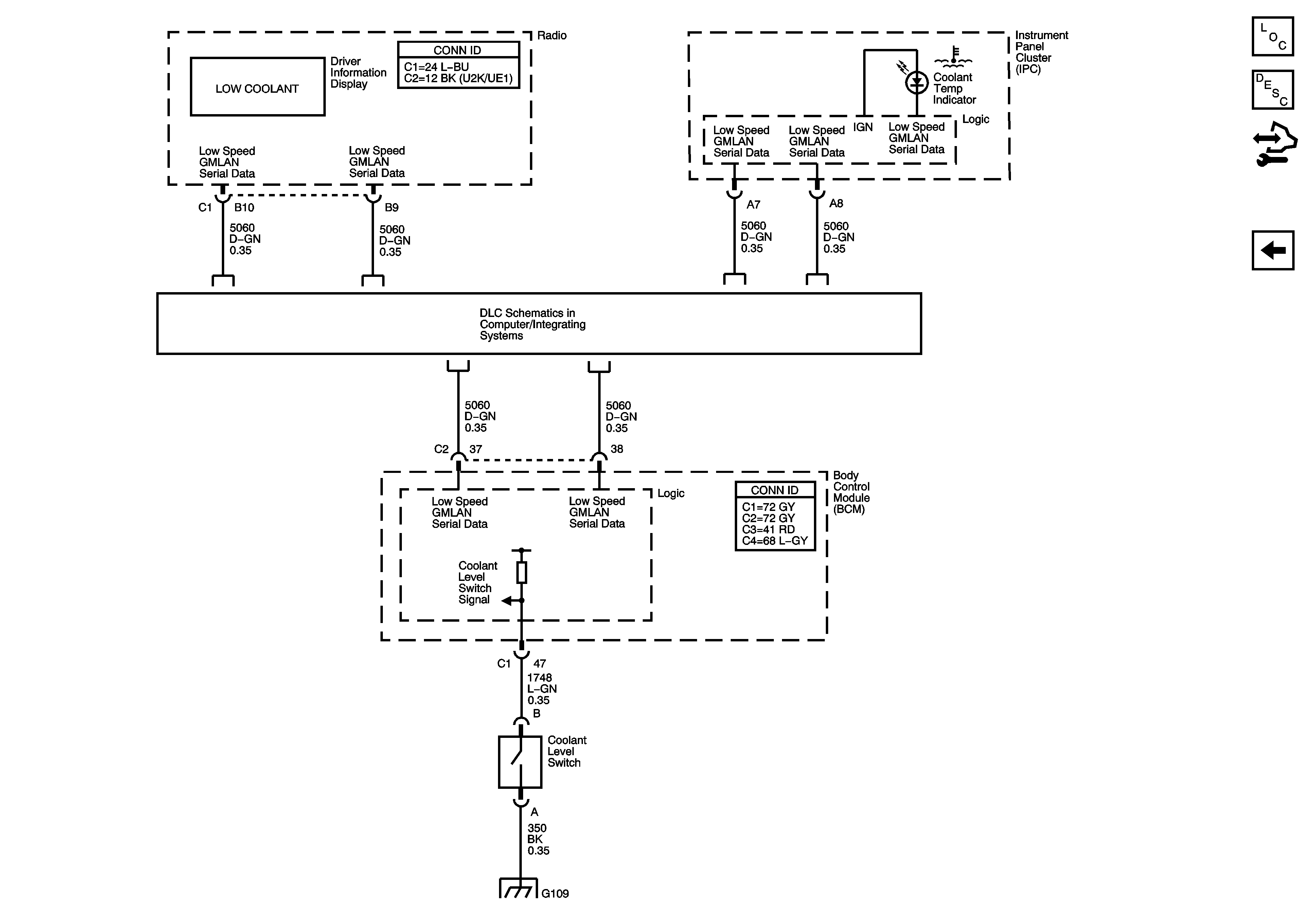
🢒 Engine Coolant Indicator
Engine Coolant Indicator
Engine Coolant Indicator
Master Electrical Component List
Cooling System Description and Operation
Control Module References
Engine Cooling Fans
Low Speed Serial Data
G109