GM Service Manual Online
For 1990-2009 cars only

DTC P0974 2.2L


Object Number: 1768941  Size: MF
Master Electrical Component List
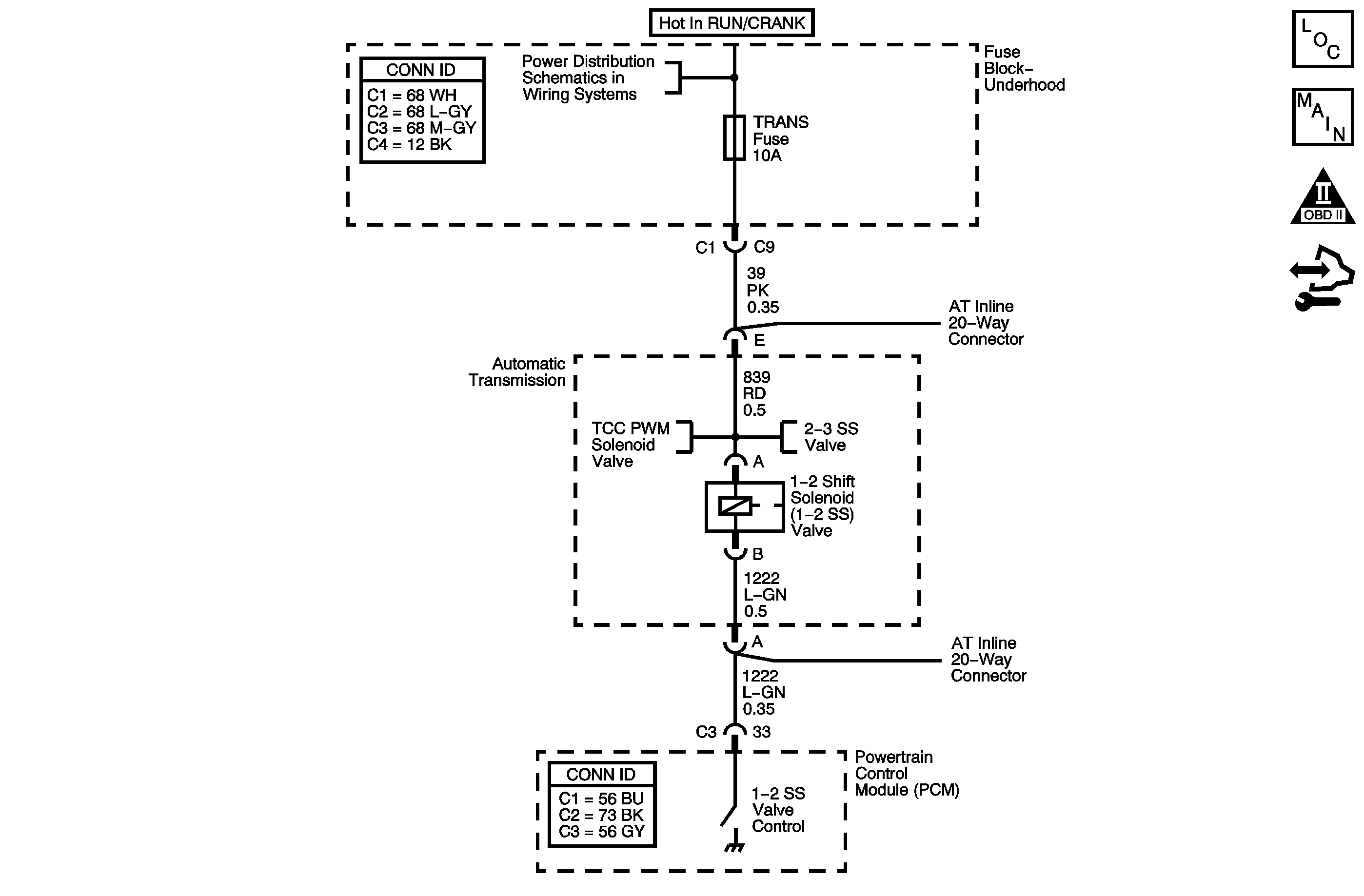
Automatic Transmission Controls Schematics
OBD II Symbol Description Notice
Control Module References

Circuit Description

The 1-2 shift solenoid (SS) valve controls transmission fluid pressure acting on the 1-2 and 3-4 shift valves to position the valves for the appropriate gear. The 1-2 SS valve is a normally open exhaust valve located on the lower control valve body. Ignition voltage is supplied to the solenoid. The powertrain control module (PCM) commands the solenoid ON or OFF by providing a ground path. When the 1-2 SS valve is commanded ON, the PCM senses low voltage. When the 1-2 SS valve is commanded OFF, the PCM senses high voltage.

If the PCM detects a continuous short to voltage in the 1-2 SS valve circuit, then DTC P0974 sets. DTC P0974 is a type A DTC.

DTC Descriptor

This diagnostic procedure supports the following DTC:

DTC P0974 1-2 Shift Solenoid (SS) Control Circuit High Voltage

Conditions for Running the DTC

The ignition is ON.

Conditions for Setting the DTC

The PCM detects a continuous short to voltage on the 1-2 SS valve control circuit for 4.3 seconds.

Action Taken When the DTC Sets

    • The PCM illuminates the malfunction indicator lamp (MIL).
    • The PCM commands maximum line pressure.
    • The PCM inhibits 3-2 downshifts above 52 km/h (32 mph).
    • The PCM forces the TCC solenoid OFF.
    • The PCM inhibits TCC engagement.
    • The PCM freezes transmission adaptive functions.
    • The PCM records the operating conditions when the Conditions for Setting the DTC are met. The PCM stores this information as Freeze Frame and Failure Records.
    • The PCM stores DTC P0974 in PCM history during the second consecutive trip in which the Conditions for Setting the DTC are met.

Conditions for Clearing the MIL/DTC

    • The PCM turns OFF the MIL during the third consecutive trip in which the diagnostic test runs and passes.
    • A scan tool can clear the MIL/DTC.
    • The PCM clears the DTC from PCM history if the vehicle completes 40 warm-up cycles without an emission-related diagnostic fault occurring.
    • The PCM cancels the DTC default actions when the ignition switch is OFF long enough in order to power down the PCM.

Test Description

The numbers below refer to the step numbers on the diagnostic table.

  1. This step tests the PCM and the wiring to the transmission.

  2. This step verifies that the circuit has the correct resistance.

DTC P0974 (2.2L)

Step

Action

Value(s)

Yes

No

1

Did you perform the Diagnostic System Check - Vehicle?

--

Go to Step 2

Go to Diagnostic System Check - Vehicle

2

  1. Install a scan tool.
  2. Turn ON the ignition, with the engine OFF.
  3. Important: Before clearing the DTC, use the scan tool in order to record the Freeze Frame and Failure Records. Using the Clear Info function erases the Freeze Frame and Failure Records from the PCM.

  4. Record the DTC Freeze Frame and Failure Records.
  5. Clear the DTC.
  6. Start the engine.
  7. Select 1-2 Sol. CKT Status parameter on the scan tool.

Does the scan tool display indicate a short to voltage?

--

Go to Step 3

Go to Testing for Intermittent Conditions and Poor Connections

3

  1. Turn OFF the ignition.
  2. Disconnect the AT inline 20-way connector. Additional DTCs may set.
  3. Install the J 44152 Jumper Harness (20 pins) on the engine side of the AT inline 20-way connector.
  4. Using the J 35616 GM Terminal Test Kit, connect a test lamp between the 1-2 SS valve control circuit of the J 44152 and ground.
  5. Refer to Automatic Transmission Inline 20-Way Connector End View .

  6. Turn ON the ignition, with the engine OFF.

Is the test lamp ON?

--

Go to Step 4

Go to Step 5

4

Test the control circuit of the 1-2 SS valve for a short to voltage between the PCM connector C3 and the AT inline 20-way connector.

Refer to Testing for a Short to Voltage and Wiring Repairs .

Did you find and correct the condition?

--

Go to Step 10

Go to Step 9

5

  1. Turn OFF the ignition.
  2. Disconnect the J 44152 from the engine side of the AT inline 20-way connector.
  3. Install the J 44152 on the transmission side of the AT inline 20-way connector.
  4. Using the DMM and the J 35616 measure the resistance between the ignition 1 voltage and the 1-2 SS valve control circuits of the J 44152 .
  5. Refer to Automatic Transmission Inline 20-Way Connector End View .

Is the resistance less than the specified value?

19 ohms

Go to Step 6

Go to Testing for Intermittent Conditions and Poor Connections

6

  1. Leave the DMM test leads connected.
  2. Disconnect the 1-2 SS valve from the automatic transmission wiring harness.

Is the resistance less than the specified value?

19 ohms

Go to Step 7

Go to Step 8

7

Replace the automatic transmission wiring harness.

Refer to Wiring Harness Replacement .

Did you complete the replacement?

--

Go to Step 10

--

8

Replace the 1-2 SS valve.

Refer to 1-2 Shift Solenoid Valve Replacement .

Did you complete the replacement?

--

Go to Step 10

--

9

Replace the PCM.

Refer to Control Module References for replacement, set-up, and programming.

Did you complete the replacement?

--

Go to Step 10

--

10

Perform the following procedure in order to verify the repair:

  1. Select DTC.
  2. Select Clear Info.
  3. Start the engine.
  4. Select Specific DTC.
  5. Enter DTC P0974.

Has the test run and passed?

--

Go to Step 11

Go to Step 2

11

With the scan tool, observe the stored information, capture info. and DTC info.

Does the scan tool display any DTCs that you have not diagnosed?

--

Go to Diagnostic Trouble Code (DTC) List - Vehicle

System OK