GM Service Manual Online
For 1990-2009 cars only
Makes
🢒
Chevrolet
🢒
2007
🢒
Malibu
🢒 Hydraulic Brake Schematics
Hydraulic Brake Schematics
Master Electrical Component List
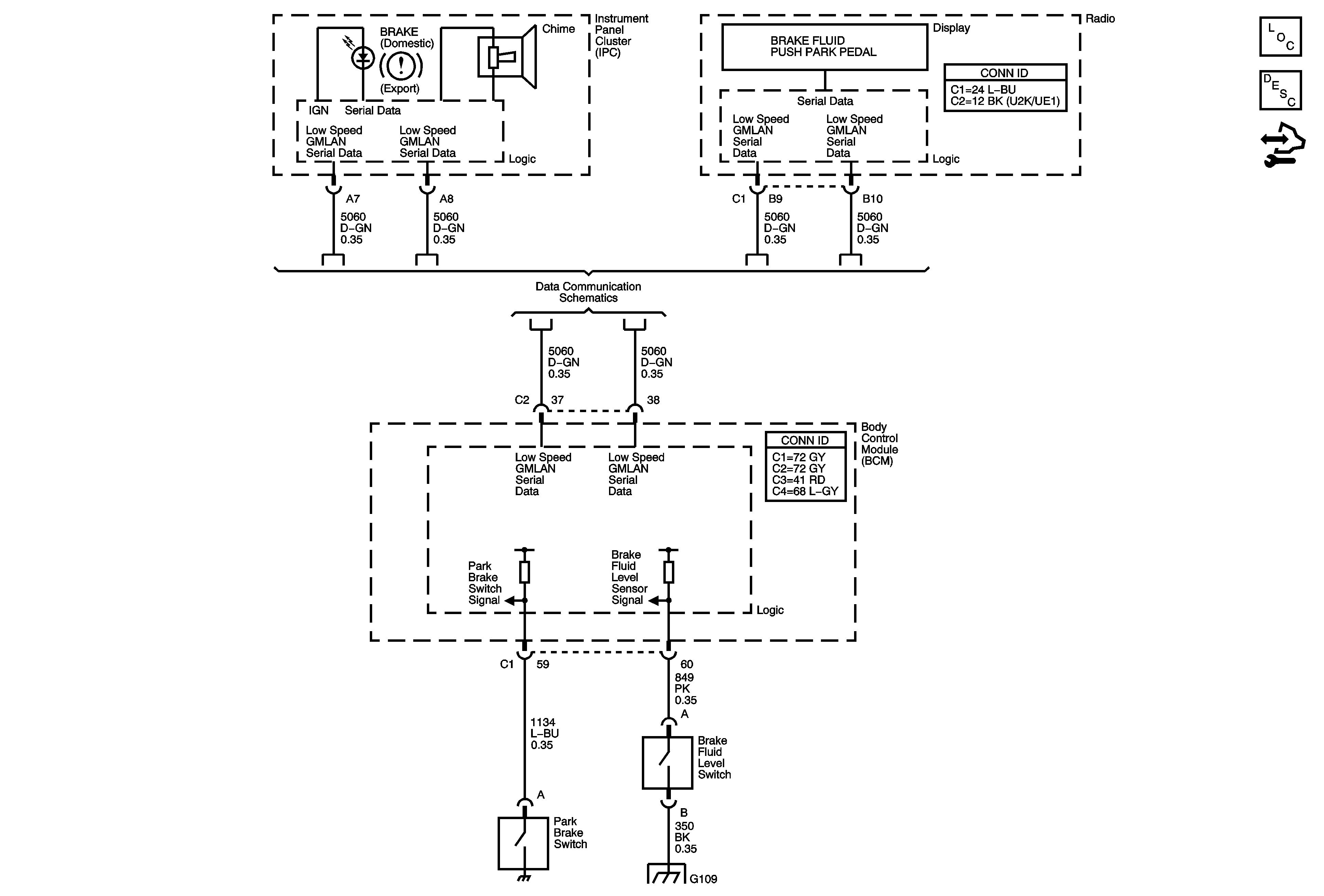
Brake Warning System Description and Operation
Control Module References
Low Speed Serial Data
G109